Model S Service Manual

    Manual de servicio del Model S (a partir de 2021)

    Notas de la versión actual

    • Manual de servicio del Model S (a partir de 2021)
    • Notas de la versión
      • Notas de la versión actual
      • Archivo de notas de la versión
        • Notas de la versión de junio-septiembre de 2022
        • Notas de la versión de octubre-diciembre de 2022
        • Notas de la versión de enero-marzo de 2023
        • Notas de la versión de abril-junio de 2023
        • Notas de la versión de julio-septiembre de 2023
        • Notas de la versión de octubre-diciembre de 2023
        • Notas de la versión de enero-marzo de 2024
        • Notas de la versión de abril-junio de 2024
        • Notas de la versión de julio-septiembre de 2024
    • INFORMACIÓN GENERAL
      • INTRODUCCIÓN
        • Abreviaturas y símbolos
        • Tiempos de tarifa plana
        • Actualización global para el Model S de 2021 en adelante
        • Cómo usar este manual
        • Reparaciones y sustituciones
        • Regiones del servicio de garantía
      • PRÁCTICAS RECOMENDADAS
        • Precauciones relativas a los airbags y el sistema de sujeción complementario (SRS)
        • Precauciones con el sistema de aire acondicionado
        • Ubicación del puerto de diagnóstico
        • Precauciones eléctricas
        • Multímetro (modo LoZ)
        • Precauciones medioambientales
        • Event Data Recorder Retrieval
        • Tubos flexibles y mangueras
        • Instrucciones generales de montaje
        • Precauciones generales
        • Dispositivos de bloqueo
        • Juntas de aceite
        • Protección personal
        • Inspección de los componentes de cristal previa a la instalación
        • Política de sustitución de componentes del sistema SRS
        • Cámaras del vehículo y Piloto automático
        • Eliminación de ruedas (Reparación)
      • CARGA
        • General
        • Precauciones de carga
      • LÍQUIDOS Y CAPACIDADES
        • Líquidos
        • Capacidades de líquidos
      • NÚMEROS DE IDENTIFICACIÓN
        • Códigos de pintura del vehículo y de las llantas
        • Número de identificación del vehículo (VIN)
      • DATOS TÉCNICOS
        • Frenos
        • Ubicaciones de los fusibles
        • Suspensión
        • Presión de los neumáticos
        • Alineación de las ruedas
        • Llantas
    • 00 - INSPECCIÓN Y SERVICIO
      • 0001 - Servicio programado
        • Servicio de mantenimiento e intervalos
      • 0002 - Servicio de firmware
        • Reinstalación del firmware - Toolbox
        • Reinstalación de firmware - Pantalla táctil
        • Actualización del firmware
        • Datos de usuario (Restablecimiento de la configuración de fábrica)
      • 0005 - Modos de servicio
        • Configuración de la puerta de enlace (visualización y modificación)
        • Conector OBD (Retroadaptación)
        • Puerta de enlace (Desbloquear)
        • Modo de servicio (Activación y desactivación)
        • Modo Servicio Plus
        • Toolbox 3 (Conexión y desconexión)
    • 10 - CARROCERÍA
      • 1000 - Elevación del vehículo
        • Elevación del vehículo - Elevador de 2 columnas
        • Elevación del vehículo - Gato de suelo (Servicio móvil)
      • 1001 - Parachoques/defensa
        • Extractor de aire - Parte trasera - Exterior - Lado izquierdo (Desinstalación y sustitución)
        • Conjunto de refuerzo del parachoques (Desinstalación y sustitución)
        • Soporte - Accesorio - Defensa - Parte trasera (Desinstalación y sustitución)
        • Soporte - Aleta trasera - Lado izquierdo (Desinstalación y sustitución)
        • Barra del parachoques - Parte delantera (Desinstalación y sustitución)
        • Barra del parachoques - Parte trasera (Desinstalación y sustitución)
        • Cubierta - Gancho de remolque - Parte trasera (Desinstalación y sustitución)
        • Cubierta - Enganche de remolque (Desinstalación y sustitución)
        • Deflector - Faldilla - Defensa delantera - Lado izquierdo (Desinstalación y sustitución)
        • Conjunto de defensa - Parte delantera (Desinstalación e instalación)
        • Conjunto de defensa - Parte delantera (HW3) (Desinstalación e instalación)
        • Conjunto de defensa - Parte delantera (HW4) (Desinstalación e instalación)
        • Conjunto de defensa - Parte trasera (Desinstalación e instalación)
        • Conjunto de defensa - Parte trasera (HW3) (Desinstalación e instalación)
        • Conjunto de defensa - Parte trasera (HW4) (Desinstalación e instalación)
        • Rejilla - Defensa - Parte delantera (Desinstalación y sustitución)
        • Soporte del distintivo T - Defensa - Parte delantera (Desinstalación y sustitución)
        • Enganche de remolque - Amortiguador de energía trasero (Retroadaptación)
        • Guarnecido - Parte inferior - Defensa - Parte trasera (Desinstalación y sustitución)
        • Barra en V - Defensa - Parte delantera (Desinstalación y sustitución)
        • Faldilla - Defensa delantera (Desinstalación y sustitución)
      • 1010 - Paneles de la carrocería
        • Soporte - Base de pedales - Lado izquierdo (Desinstalación y sustitución)
        • Soporte - Módulo del extremo delantero (FEM) - Lado izquierdo (Desinstalación y sustitución)
        • Soporte - Módulo del extremo delantero (FEM) - Lado derecho (Desinstalación y sustitución)
        • Soporte - Apoyo - Carril superior delantero - Lado izquierdo (Desinstalación y sustitución)
        • Soporte - Extremo delantero (Desinstalación y sustitución)
        • Travesaño - Soporte en V - Torre de amortiguadores (Desinstalación y sustitución)
        • Conjunto de puerta - Parte delantera - Lado izquierdo (Desinstalación y sustitución)
        • Conjunto de puerta - Parte trasera - Lado izquierdo (Desinstalación y sustitución)
        • Puntos de conexión a tierra del EPAS - Raíles delanteros (Restauración)
        • Conjunto de la aleta guardabarros - Parte delantera - Lado izquierdo (Desinstalación y sustitución)
        • Conjunto del capó (Desinstalación y sustitución)
        • Portón trasero (Desinstalación y sustitución)
        • Soporte en V - Torre de amortiguadores - Lado izquierdo (Desinstalación y sustitución)
      • 1020 - Parabrisas, cristal del portón trasero y cristal de la carrocería
        • Buena visibilidad de la cámara delantera (limpieza de precisión del parabrisas interior)
        • Cristal fijo - Parte delantera - Lado izquierdo (Desinstalación y sustitución)
        • Cristal - Aleta trasera - Lado izquierdo (Desinstalación e instalación)
        • Cristal - Aleta trasera - Lado izquierdo (Desinstalación y sustitución)
        • Cristal - Techo - Fijo (Desinstalación e instalación)
        • Cristal - Techo - Fijo (Desinstalación y sustitución)
        • Cristal del portón trasero (Desinstalación e instalación)
        • Cristal del portón trasero (Desinstalación y sustitución)
        • Sensor - Climatizador - Parabrisas (Desinstalación y sustitución)
        • Etiqueta del VIN - Parabrisas (Desinstalación y sustitución)
        • Reparación de los impactos en el parabrisas
        • Windshield Chip Repair (EMEA)
        • Windshield Scratch Repair
        • Parabrisas (Desinstalación e instalación)
        • Parabrisas (Desinstalación y sustitución)
        • Directrices de reparación y sustitución de los cristales del parabrisas y del techo
      • 1030 - Pintura
        • Rectificación de defectos de pintura
      • Alineación del panel
        • Especificaciones de alineación del panel
    • 11 - COMPONENTES DE CIERRE
      • 1133 - Bisagras y mecanismos auxiliares de cierre
        • Amortiguador de la carrocería - Portón trasero - Lado izquierdo (Desinstalación y sustitución)
        • Soporte - Amortiguador del capó pasivo - Lado izquierdo (Desinstalación y sustitución)
        • Tope de rebote - Capó (Desinstalación y sustitución)
        • Cuña del amortiguador - Portón trasero - Lado izquierdo (Desinstalación y sustitución)
        • Amortiguador de gas - Capó - Lado izquierdo (Desinstalación y sustitución)
        • Amortiguador de gas - Portón trasero (Desinstalación y sustitución)
        • Bisagra - Puerta - Parte delantera - Parte inferior - Lado izquierdo (Desinstalación y sustitución)
        • Bisagra - Puerta - Delantera - Superior - Lado izquierdo (Desinstalación y sustitución)
        • Bisagra - Puerta - Trasera - Inferior - Lado izquierdo (Desinstalación y sustitución)
        • Bisagra - Puerta - Parte trasera - Parte superior - Lado izquierdo (Desinstalación y sustitución)
        • Bisagra - Capó - Lado izquierdo (Desinstalación y sustitución)
        • Bisagra - Portón trasero - Lado izquierdo (Desinstalación y sustitución)
        • Inserción - Amortiguador de la carrocería - Portón trasero - Lado izquierdo (Desinstalación y sustitución)
        • Tope de cierre - Portón trasero - Lado izquierdo (Desinstalación y sustitución)
        • Amortiguador eléctrico - Portón trasero (Desinstalación y sustitución)
      • 1135 - Cerraduras, cerraderos y sensores antiatrapamiento
        • Actuador - Cierre - Capó (sistema de un actuador) (Desinstalación y sustitución)
        • Cubierta - Cerradero - Maletero (Desinstalación y sustitución)
        • Interruptor de apertura exterior - Portón trasero (Desinstalación y sustitución)
        • Cierre - Puerta - Parte delantera - Lado izquierdo (Desinstalación y sustitución)
        • Cierre - Puerta - Parte trasera - Lado izquierdo (Desinstalación y sustitución)
        • Cierre - Capó (Un solo actuador) (Desinstalación y sustitución)
        • Sensor antiatrapamiento - Portón trasero - Lado izquierdo (Desinstalación y sustitución)
        • Cerradero - Puerta - Parte delantera - Lado izquierdo (Desinstalación y sustitución)
        • Cerradero - Capó (Desinstalación y sustitución)
        • Cerradero - Portón trasero (Desinstalación y sustitución)
        • Interruptor - Portón trasero - Interior (Desinstalación y sustitución)
      • 1140 - Tiradores interiores de las puertas
        • Tirador - Apertura de emergencia - Portón trasero (Desinstalación y sustitución)
      • 1145 - Tiradores exteriores de las puertas
        • Tirador - Apertura exterior - Puerta - Parte delantera - Lado izquierdo - Generación 3.0 (Desinstalación y sustitución)
        • Tirador - Apertura exterior - Puerta - Parte trasera - Lado izquierdo (Desinstalación y sustitución)
        • LED - Puerta - Tirador exterior - Parte delantera - Lado izquierdo (Desinstalación y sustitución)
        • LED - Puerta - Tirador exterior - Parte trasera - Lado izquierdo (Desinstalación y sustitución)
      • 1150 - Cristales y reguladores de las puertas
        • Cristal de la puerta - Parte delantera - Lado izquierdo (Ajuste)
        • Cristal de la puerta - Parte delantera - Lado izquierdo (Desinstalación y sustitución)
        • Cristal de la puerta - Parte trasera - Lado izquierdo (Ajuste)
        • Cristal de la puerta - Parte trasera - Lado izquierdo (Desinstalación y sustitución)
        • Conjunto de motor/regulador de la ventanilla - Parte delantera - Lado izquierdo (Desinstalación y sustitución)
        • Regulador de la ventanilla - Parte trasera - Lado izquierdo (Desinstalación y sustitución)
        • Regulador de la ventanilla (Recalibración)
      • 1170 - Juntas de los cierres de la carrocería
        • Espuma acústica - Interior - Puerta delantera - Lado izquierdo (Desinstalación y sustitución)
        • Junta aerodinámica - Capó (Desinstalación y sustitución)
        • Soporte - Junta - Parte delantera - Pilar B - Lado izquierdo (Desinstalación y sustitución)
        • Soporte - Junta - Parte trasera - Pilar B - Lado izquierdo (Desinstalación y sustitución)
        • Panel de cierre - Puerta - Parte delantera - Lado izquierdo (Desinstalación y sustitución)
        • Panel de cierre - Puerta - Parte trasera - Lado izquierdo (Desinstalación y sustitución)
        • Panel de cierre - Cierre - Pilar C - Lado izquierdo (Desinstalación y sustitución)
        • Junta - Carrocería - Lateral - Frontal - Principal - Lado izquierdo (Desinstalación y sustitución)
        • Junta - Carrocería - Lateral - Parte trasera - Principal - Lado izquierdo (Desinstalación y sustitución)
        • Junta - Carrocería - Lateral - Parte trasera - Secundaria - Lado izquierdo (Desinstalación y sustitución)
        • Junta - Puerta - Parte delantera - Borde - Pilar A - Lado izquierdo (Desinstalación y sustitución)
        • Junta - Puerta - Parte trasera - Borde - Pilar B - Lado izquierdo (Desinstalación y sustitución)
        • Junta - Puerta - Parte trasera - Borde - Pilar C - Lado izquierdo (Desinstalación y sustitución)
        • Junta - Capó (Desinstalación y sustitución)
        • Junta - Cinturón interior - Puerta delantera - Lado izquierdo (Desinstalación y sustitución)
        • Junta - Cinturón interior - Puerta trasera - Lado izquierdo (Desinstalación y sustitución)
        • Junta - Portón trasero (Desinstalación y sustitución)
        • Junta - Cinturón exterior - Puerta delantera - Lado izquierdo (Desinstalación y sustitución)
        • Junta - Cinturón exterior - Puerta trasera - Lado izquierdo (Desinstalación y sustitución)
        • Junta - Secundaria - Puerta delantera - Lado izquierdo (Desinstalación y sustitución)
        • Junta - Secundaria - Puerta trasera - Lado izquierdo (Desinstalación y sustitución)
    • 12 - ACCESORIOS DE MONTAJE EXTERIORES
      • 1201 - Revestimientos de los pasos de las ruedas
        • Amortiguador de ruidos - Vano del motor - Mamparo delantero (Desinstalación y sustitución)
        • Amortiguador de ruidos - Vano del motor - Parte trasera (Desinstalación y sustitución)
        • Revestimiento del paso de la rueda - Parte trasera - Lado izquierdo (Desinstalación y sustitución)
        • Revestimiento del paso de la rueda - Parte delantera - Lado izquierdo (Desinstalación y sustitución)
      • 1203 - Faldón inferior y difusor
        • Difusor - Defensa trasera (Desinstalación y sustitución)
        • Panel - Deflector aerodinámico - Parte delantera (Desinstalación y sustitución)
        • Panel - Deflector aerodinámico - Central (Desinstalación y sustitución)
      • 1205 - Distintivos y recubrimientos
        • Distintivo Tesla - Parte delantera (Desinstalación y sustitución)
        • Distintivo Tesla - Parte trasera (Desinstalación y sustitución)
        • Película de protección de la pintura - Aletas traseras (Retroadaptación)
        • Distintivo gráfico Plaid (Desinstalación y sustitución)
        • Distintivo con letras Plaid (Desinstalación y sustitución)
        • Distintivo con letras TESLA (Instalación)
      • 1207 - Fijaciones de la placa de matrícula
        • Soporte base - Placa de matrícula - Delantera (Desinstalación y sustitución)
        • Soporte pintado - Moldura - Placa de matrícula - Delantera (Desinstalación y sustitución)
      • 1209 - Espejos retrovisores exteriores
        • Casquete - Retrovisor exterior - Lado izquierdo (Desinstalación y sustitución)
        • Conjunto del retrovisor exterior - Lado izquierdo (Desinstalación y sustitución)
      • 1220 - Guarnecido exterior
        • Aplique - Pilar B - Lado izquierdo (Desinstalación y sustitución)
        • Aplique - Portón trasero (global) (desinstalación y sustitución)
        • Aplique - Portón trasero (Desinstalación y sustitución)
        • Soporte - Aplique - Portón trasero (Desinstalación y sustitución)
        • Soporte - Apoyo - Panel del estribo - Parte delantera - Lado izquierdo (Desinstalación y sustitución)
        • Soporte - Apoyo - Panel del estribo - Parte trasera - Lado izquierdo (Desinstalación y sustitución)
        • Elementos brillantes - Lateral de la carrocería - Lado izquierdo (Desinstalación y sustitución)
        • Cubierta - Aplique - Pilar B - Lado izquierdo (Desinstalación y sustitución)
        • Carenado - Panel del estribo - Parte trasera - Lado izquierdo (Desinstalación y sustitución)
        • Extensiones de guardabarros - Delanteros y traseros (Retroadaptación)
        • Moldura - Panel del estribo - Lado izquierdo (Desinstalación y sustitución)
        • Apoyo - Elevación - Cada uno (Desinstalación y sustitución)
        • Placa protectora - Panel del estribo - Lado izquierdo (Desinstalación y sustitución)
      • 1222 - Alerón
        • Alerón - Trasero (Desinstalación y sustitución)
        • Alerón - Trasero (Retroadaptación con plantilla)
      • 1225 - Guarnecido del vano del motor
        • Cubierta - Torre del amortiguador - Lado izquierdo (Desinstalación y sustitución)
        • Panel - Pantalla de la cubierta (Desinstalación y sustitución)
        • Faldón del vano del motor - Parte delantera (Desinstalación y sustitución)
        • Faldón del vano del motor - Lado izquierdo (Desinstalación y sustitución)
        • Faldón del vano del motor - Parte trasera (Desinstalación y sustitución)
      • 1227 - Guarnecido de la acanaladura del portón trasero
        • Guarnecido - Canaleta del portón trasero - Lado izquierdo (Desinstalación y sustitución)
      • 1230 - Enganche de remolque
        • Conjunto - Enganche de remolque (Desinstalación y sustitución)
        • ECU - Enganche de remolque (Desinstalación y sustitución)
        • Enganche de remolque - Amortiguador de energía trasero (Retroadaptación)
    • 13 - ASIENTOS
      • 1301 - Guías y motores de los asientos delanteros
        • Botón - Ajuste del cojín - Asiento del conductor (Desinstalación y sustitución)
        • Botón - Ajuste del reclinador - Asiento del conductor (Desinstalación y sustitución)
        • Controlador - Asiento del conductor (Desinstalación y sustitución)
        • Cubierta - Parte delantera - Guía del asiento - Asiento de la 1.ª fila (Desinstalación y sustitución)
        • Ventilador - Respaldo - Asiento del conductor (Desinstalación y sustitución)
        • Ventilador - Cojín - Asiento del conductor (Desinstalación y sustitución)
        • Bastidor - Cojín del asiento - Asiento del conductor (Desinstalación y sustitución)
        • Bastidor - Cojín del asiento - Asiento del conductor (asiento deportivo) (Desinstalación y sustitución)
        • Luz - Bajo el asiento - Conductor (Desinstalación y sustitución)
        • Módulo - ECU - Sistema de clasificación de ocupantes (OCS) - Pasajero delantero (Desinstalación y sustitución)
        • Motor - Reclinador - Respaldo - Asiento del conductor (Desinstalación y sustitución)
        • Motor - Inclinación del asiento - Asiento del conductor (Desinstalación y sustitución)
        • Motor - Guía del asiento - Asiento del conductor (Desinstalación y sustitución)
        • Tubo del reclinador - Asiento del conductor (Desinstalación y sustitución)
        • Elevador - Exterior - Asiento del conductor (Desinstalación y sustitución)
        • Asiento - 1.ª fila (Calibración)
        • Sensor - Posición - Guía del asiento - Asiento de la 1.ª fila - Lado izquierdo (Desinstalación y sustitución)
        • Interruptor - Ajuste del respaldo y el cojín - Asiento del conductor (Desinstalación y sustitución)
      • 1302 - Guías y motores de los asientos de la 2.ª fila
        • Interruptor - Plegado del asiento - 2.ª fila - Lado izquierdo (Desinstalación y sustitución)
        • Interruptor - Plegado del asiento - 2.ª fila - Lado derecho (Desinstalación y sustitución)
      • 1304 - Conjuntos y tornillería de los asientos delanteros
        • Back Panel - LH (Sport Seat) \(Remove and Replace\)
        • Respaldo - Conductor (Desinstalación y sustitución)
        • Respaldo lumbar - Respaldo - Asiento del conductor (Desinstalación y sustitución)
        • Micrófono - Asiento - Conductor (Desinstalación y sustitución)
        • Guía de poste - Reposacabezas - Asiento del conductor (Desinstalación y sustitución)
        • Refuerzo lateral - Exterior - Asiento de la 1.ª fila - Lado izquierdo (asiento deportivo) (Desinstalación y sustitución)
        • Refuerzo lateral - Exterior - Asiento de la 1.ª fila - Lado derecho (asiento deportivo) (Desinstalación y sustitución)
        • Conjunto del asiento - 1.ª fila - Lado izquierdo (Desinstalación y sustitución)
        • Conjunto del asiento - 1.ª fila - Lado derecho (Desinstalación y sustitución)
        • Armazón - Respaldo del asiento - Conductor (Desinstalación y sustitución)
        • Guarnecido - Reposacabezas - Conductor (Desinstalación y sustitución)
      • 1305 - Conjuntos y tornillería de los asientos de la 2.ª fila
        • Reposabrazos - 2.ª fila (Desinstalación y sustitución)
        • Refuerzo - Exterior - Asiento - 2.ª fila - Lado izquierdo (Desinstalación y sustitución)
        • Soporte - ISOFIX - Lado izquierdo (Desinstalación y sustitución)
        • Soporte - Pivote - Interior - Asiento de la 2.ª fila - Lado derecho (Desinstalación y sustitución)
        • Soporte - Pivote - Exterior - Asiento de la 2.ª fila - Lado izquierdo (Desinstalación y sustitución)
        • Soporte - Pivote - Exterior - Asiento de la 2.ª fila - Lado derecho (Desinstalación y sustitución)
        • Relleno - Reposabrazos - 2.ª fila (Desinstalación y sustitución)
        • Cierre - Reposabrazos - 2.ª fila (Desinstalación y sustitución)
        • Collarín - Fijo - Pivote - 2.ª fila - Lado izquierdo (Desinstalación y sustitución)
        • Collarín - Fijo - Pivote - 2.ª fila - Lado derecho (Desinstalación y sustitución)
        • Cubierta - Pivote - 2.ª fila (Desinstalación y sustitución)
        • Cubierta - Lateral - Respaldo - 2.ª fila - Lado izquierdo (Desinstalación y sustitución)
        • Flap - ISOFIX - Pair (Retrofit)
        • Bloqueo de guía - Reposacabezas - 2.ª fila (Desinstalación y sustitución)
        • Reposacabezas - 2.ª fila - Lado izquierdo (Desinstalación y sustitución)
        • Cierre - Respaldo - Asiento de la 2.ª fila - Lado izquierdo (Desinstalación y sustitución)
        • Micrófono - Asiento - 2.ª fila - Lado izquierdo (Desinstalación y sustitución)
        • Micrófono - Asiento - 2.ª fila - Lado derecho (Desinstalación y sustitución)
        • Casquillo de pivote - Respaldo - 2.ª fila - Lado izquierdo (Desinstalación y sustitución)
        • Casquillo de pivote - Respaldo - 2.ª fila - Lado derecho (Desinstalación y sustitución)
        • Manguito de pivote - Respaldo - 2.ª fila - Central (Desinstalación y sustitución)
        • Respaldo de asiento - 2.ª fila - Lado izquierdo (Desinstalación y sustitución)
        • Respaldo de asiento - 2.ª fila - Lado derecho (Desinstalación y sustitución)
        • Cojín del asiento - Parte inferior - 2.ª fila (Desinstalación y sustitución)
        • Cerradero - Respaldo - Asiento de 2.ª fila - Lado izquierdo (Desinstalación y sustitución)
        • Sustrato - Refuerzo - Interior - 2.ª fila - Lado derecho (Desinstalación y sustitución)
        • Sustrato - Refuerzo - Interior - 2.ª fila - Lado izquierdo (Desinstalación y sustitución)
        • Sustrato - Respaldo - 2.ª fila - Lado izquierdo (Desinstalación y sustitución)
        • Sustrato - Respaldo - 2.ª fila - Lado derecho (Desinstalación y sustitución)
        • Base de apoyo - Cojín de la 2.ª fila (Desinstalación y sustitución)
        • Bloque de apoyo - Cojín de la 2.ª fila - Lado izquierdo (Desinstalación y sustitución)
        • Interruptor - Plegado del asiento - 2.ª fila - Maletero (Desinstalación y sustitución)
        • Soldadura - Pivote - Interior - Asiento de la 2.ª fila - Lado izquierdo (Desinstalación y sustitución)
      • 1307 - Cubiertas, almohadillas y tapicerías de los asientos delanteros
        • Soporte - Lado derecho - Protección lateral - Interior - Asiento delantero (Desinstalación y sustitución)
        • Funda - Respaldo - Conductor (Desinstalación y sustitución)
        • Funda - Respaldo - Conductor (con airbag interno) (Desinstalación y sustitución)
        • Panel de decoración - Asiento de la 1.ª fila - Lado izquierdo (asiento deportivo) (Desinstalación y sustitución)
        • Espuma - Respaldo - Asiento del conductor (Desinstalación y sustitución)
        • Espuma - Respaldo - Asiento del conductor (con airbag interior) (Desinstalación y sustitución)
        • Refuerzo lateral - Exterior - Cojín del asiento - Lado del conductor (asiento deportivo) (Desinstalación y sustitución)
        • Protección lateral - Interior - Asiento del conductor (Desinstalación y sustitución)
        • Protección lateral - Exterior - Asiento del conductor (Desinstalación y sustitución)
        • Cubierta - Cojín - Asiento del conductor (Desinstalación y sustitución)
        • Reposacabezas - Asiento del conductor (asiento deportivo) (Desinstalación y sustitución)
      • 1308 - Cubiertas, almohadillas y tapicerías de los asientos de la 2.ª fila
        • Panel trasero - Asiento de la 2.ª fila - Lado izquierdo (Desinstalación y sustitución)
        • Panel trasero - Asiento de la 2.ª fila - Lado derecho (Desinstalación y sustitución)
        • Cubierta - Respaldo - Asiento de la 2.ª fila - Lado izquierdo (Desinstalación y sustitución)
        • Guarnecido - Refuerzo - Interior - Asiento - 2.ª fila - Lado izquierdo (Desinstalación y sustitución)
        • Guarnecido - Refuerzo - Interior - Asiento - 2.ª fila - Lado derecho (Desinstalación y sustitución)
        • Guarnecido - Respaldo - 2.ª fila - Lado derecho (Desinstalación y sustitución)
        • Guarnecido - Hombro - Asiento - 2.ª fila - Lado izquierdo (Desinstalación y sustitución)
    • 14 - PANELES DE INSTRUMENTOS Y PEDALES
      • 1405 - Panel de instrumentos
        • Lente aerodinámica - Panel de instrumentos (Desinstalación y sustitución)
        • Cubierta - Lente aerodinámica - Panel de instrumentos - Lado izquierdo (Desinstalación y sustitución)
        • Cubierta - Zona de los pies - Pasajero delantero (Desinstalación y sustitución)
        • Cubierta - Airbag de rodilla - Conductor (Desinstalación y sustitución)
        • Cubierta - Airbag de rodilla - Pasajero delantero (Desinstalación y sustitución)
        • Travesaño del vehículo (Desinstalación y sustitución)
        • Decoración - Panel de instrumentos - Principal (Desinstalación y sustitución)
        • Tapa del extremo - Panel de instrumentos - Lado izquierdo (Desinstalación y sustitución)
        • Funda - Zona de los pies - Conductor (Desinstalación y sustitución)
        • Tapa de separación - Columna de dirección - Parte superior (Desinstalación y sustitución)
        • Guantera (Desinstalación y sustitución)
        • Rejilla - Altavoz - Panel de instrumentos (Desinstalación y sustitución)
        • Panel de instrumentos - Parte inferior (Desinstalación y sustitución)
        • Cierre - Aleación con memoria de forma (SMA) - Guantera (Desinstalación y sustitución)
        • Cubierta - Superior - Columna de dirección (Desinstalación y sustitución)
        • Subconjunto - Panel de instrumentos (Desinstalación e instalación)
        • Subconjunto - Panel de instrumentos (Desinstalación y sustitución)
        • Guarnecido - Parte central - Panel de instrumentos - Lado izquierdo (Desinstalación y sustitución)
        • Guarnecido - Parte central - Panel de instrumentos - Lado derecho (Desinstalación y sustitución)
    • 15 - GUARNECIDO INTERIOR
      • 1505 - Espejo retrovisor interior y parasoles
        • Base de control - Magnética - Parasol - Lado izquierdo (Desinstalación y sustitución)
        • Protección contra reflejos - Piloto automático (Desinstalación y sustitución)
        • Retrovisor - Interior (Desinstalación y sustitución)
        • Cubierta de la cámara - Inferior (Desinstalación y sustitución)
        • Cubierta superior - Espejo retrovisor (Desinstalación y sustitución)
        • Parasol - Lado izquierdo (Desinstalación y sustitución)
      • 1511 - Guarnecido del portón trasero
        • Soporte - Guarnecido - Portón trasero - Central (Desinstalación y sustitución)
        • Soporte - Guarnecido - Portón trasero - Lado izquierdo (Desinstalación y sustitución)
        • Rejilla - Altavoz - Portón trasero (Desinstalación y sustitución)
        • Marco - Tirador - Portón trasero (Desinstalación y sustitución)
        • Guarnecido - Portón trasero - Inferior (Desinstalación y sustitución)
        • Guarnecido - Superior - Portón trasero (Desinstalación y sustitución)
      • 1513 - Guarnecido de la puerta
        • Soporte - Asidero - Puerta - Delantera - Lado izquierdo (Desinstalación y sustitución)
        • Soporte - Asidero - Puerta - Trasera - Lado izquierdo (Desinstalación y sustitución)
        • Cubierta - Servicio - Reposabrazos - Puerta delantera - Lado izquierdo (Desinstalación y sustitución)
        • Cubierta - Servicio - Reposabrazos - Puerta trasera - Lado izquierdo (Desinstalación y sustitución)
        • Decoración - Guarnecido - Puerta delantera - Lado izquierdo (Desinstalación y sustitución)
        • Decoración - Guarnecido - Puerta trasera - Lado izquierdo (Desinstalación y sustitución)
        • Almohadilla de NVH - Panel - Guarnecido de la puerta - Parte delantera - Lado izquierdo (Desinstalación y sustitución)
        • Panel - Guarnecido de la puerta - Parte delantera - Lado izquierdo (Desinstalación y sustitución)
        • Panel - Guarnecido de la puerta - Parte trasera - Lado izquierdo (Desinstalación y sustitución)
        • Reflector - Guarnecido de la puerta - Parte delantera - Lado izquierdo (Desinstalación y sustitución)
      • 1518 - Guarnecido de los pilares y los largueros
        • Embellecedor - Cinturón de seguridad - Pilar C - Lado izquierdo (Desinstalación y sustitución)
        • Soporte - Pilar A - Superior - Lado izquierdo (Desinstalación y sustitución)
        • Soporte - Apoyo - Pilar C - Lado izquierdo (Desinstalación y sustitución)
        • Placa del umbral - Parte delantera - Lado izquierdo (Desinstalación y sustitución)
        • Guarnecido - Pilar A - Inferior - Lado izquierdo (Desinstalación y sustitución)
        • Guarnecido - Pilar A - Central - Lado izquierdo (Desinstalación y sustitución)
        • Guarnecido - Pilar A - Superior - Lado izquierdo (Desinstalación y sustitución)
        • Guarnecido - Pilar B - Inferior - Lado izquierdo (Desinstalación y sustitución)
        • Guarnecido - Pilar B - Superior - Lado izquierdo (Desinstalación y sustitución)
        • Guarnecido - Pilar C - Inferior - Lado izquierdo (Desinstalación y sustitución)
        • Guarnecido - Pilar C - Central - Lado izquierdo (Desinstalación y sustitución)
        • Guarnecido - Pilar C - Superior - Lado izquierdo (Desinstalación y sustitución)
      • 1519 - Consola central
        • Reposabrazos - Consola central (Desinstalación y sustitución)
        • Soporte - Base de pedales - Lado izquierdo (Desinstalación y sustitución)
        • Soporte - Base de pedales - Lado derecho (Desinstalación y sustitución)
        • Banda brillante - Consola central - Parte trasera (Desinstalación y sustitución)
        • Moqueta - Panel lateral - Consola central - Lado izquierdo (Desinstalación y sustitución)
        • Conjunto de consola central (Desinstalación e instalación)
        • Conjunto de la consola central (Desinstalación y sustitución)
        • Decoración - Consola central (Desinstalación y sustitución)
        • Cargador inductivo - Consola central (Desinstalación y sustitución)
        • Luz - Bandeja del reposabrazos - Consola central (Desinstalación y sustitución)
        • Panel - Parte inferior trasera - Consola central (Desinstalación y sustitución)
        • Panel - Servicio - Consola central (Desinstalación y sustitución)
        • Base del teléfono - Consola central (Desinstalación y sustitución)
        • Panel lateral - Consola central - Lado izquierdo (Desinstalación y sustitución)
        • Interruptor - Tapa - Consola central (Desinstalación y sustitución)
      • 1520 - Forro del techo
        • Percha - Parte trasera - Lado izquierdo (Desinstalación y sustitución)
        • Forro del techo (Desinstalación y sustitución)
        • Micrófono - Forro del techo - Parte delantera - Lado izquierdo (Desinstalación y sustitución)
      • 1524 - Guarnecido del portamaletas
        • Moqueta - Maletero trasero (5 plazas) (Desinstalación y sustitución)
        • Bandeja - Maletero trasero (Desinstalación y sustitución)
        • Guarnecido - Parte delantera - Suelo - Maletero (Desinstalación y sustitución)
        • Guarnecido - Maletero trasero - Pared trasera (Desinstalación y sustitución)
        • Guarnecido - Lateral - Maletero - Lado izquierdo (Desinstalación y sustitución)
        • Guarnecido - Lateral - Maletero - Lado derecho (Desinstalación y sustitución)
        • Guarnecido - Pared lateral - Maletero - Lado izquierdo (Desinstalación y sustitución)
        • Guarnecido - Larguero - Maletero (Desinstalación y sustitución)
        • Unidad de almacenamiento del vano del motor (Desinstalación y sustitución)
        • Panel de acceso a la unidad de almacenamiento del vano del motor (Desinstalación y sustitución)
        • Unidad de almacenamiento del vano del motor (Desinstalación e instalación)
      • 1530 - Moqueta y alfombrillas
        • Soporte - Suelo del maletero - Lado izquierdo (Desinstalación y sustitución)
        • Soporte - Suelo del maletero - Lado derecho (Desinstalación y sustitución)
        • Moqueta - Interior completa (Desinstalación y sustitución)
        • Moqueta - Almacenamiento del vano del motor (Desinstalación y sustitución)
        • Aislante - Tablero (HW3) (Desinstalación y sustitución)
        • Aislante - Tablero (HW4) (Desinstalación y sustitución)
        • Aislador - Vano del motor - Parte delantera (Desinstalación y sustitución)
        • Aislador - Vano del motor - Parte trasera (Desinstalación y sustitución)
        • Aislador - Cubierta superior (Desinstalación y sustitución)
        • Aislador - Paso de la rueda - Parte trasera - Lado izquierdo (Desinstalación y sustitución)
        • Aislador - Paso de la rueda - Parte trasera - Lado derecho (Desinstalación y sustitución)
        • Aislador de NVH - Suelo - Maletero trasero (Desinstalación y sustitución)
        • Panel - Reposapiés - Pasajero delantero (LHD) (Desinstalación y sustitución)
        • Suelo del maletero - Parte trasera (Desinstalación y sustitución)
        • Suelo del maletero - Lateral (Desinstalación y sustitución)
    • 16 - SISTEMA DE BATERÍA
      • 1601 – Conjunto de la batería de alta tensión
        • Batería de alta tensión (tracción a las cuatro ruedas) (Desinstalación e instalación)
        • Batería de alta tensión (tracción a las cuatro ruedas) (Desinstalación y sustitución)
        • HV Battery Revision -F to Revision -H (Retrofit)
      • 1610 – Alojamiento de la batería de alta tensión
        • Cubierta - Acceso delantero - Batería de alta tensión (Desinstalación e instalación)
        • Cubierta - Acceso frontal - Batería de alta tensión (Desinstalación y sustitución)
        • Cubierta - Fusible pirotécnico - Batería de alta tensión (Desinstalación y sustitución)
        • Cubierta - Acceso trasero - Batería de alta tensión (Desinstalación y sustitución)
        • Puerto de fuga (Desinstalación y sustitución)
        • Cable de tierra - Batería de alta tensión (Desinstalación y sustitución)
        • Prueba de fugas de aire en la batería de alta tensión (en vehículo)
        • Prueba de fugas de aire en la batería de alta tensión (en mesa)
      • 1620 – Sistema de refrigeración de la batería de alta tensión
        • Refrigerante de la cubierta del plato (Vaciado)
        • Refrigerante de la cubierta del plato (Vaciado) (En banco)
        • Prueba de fugas de refrigerante en la cubierta del plato (en banco)
        • Refrigerante del sistema de conversión de energía (Vaciado)
        • Refrigerante del sistema de conversión de energía (Vaciado) (En banco)
        • Prueba de fugas de refrigerante del sistema de conversión de energía (en mesa)
        • Tubo - Entrada - Refrigerante - Sistema de conversión de energía (Desinstalación y sustitución)
        • Tubo - Salida - Refrigerante - Sistema de conversión de energía (Desinstalación y sustitución)
      • 1630 - Componentes eléctricos de la batería de alta tensión
        • Soporte - Conector - Parte delantera - Batería de alta tensión (Desinstalación y sustitución)
        • Contactor - Carga rápida - Batería de alta tensión (Desinstalación y sustitución)
        • Contactor - Negativo - Batería de alta tensión (Desinstalación y sustitución)
        • Contactor - Positivo - Batería de alta tensión (Desinstalación y sustitución)
        • Controlador - Alta tensión (copia de seguridad y restauración)
        • Controlador - Alta tensión (Desinstalación y sustitución)
        • Fusible - Compresor del aire acondicionado - Batería de alta tensión (Desinstalación y sustitución)
        • Fusible - Sistema de conversión de energía - Batería de alta tensión (Desinstalación y sustitución)
        • Mazo de cables - Controlador de alta tensión - Batería de alta tensión (Desinstalación y sustitución)
        • Mazo de cables - Baja tensión - Parte delantera - Batería de alta tensión (Desinstalación y sustitución)
        • Mazo de cables - Pirotécnico - Batería de alta tensión (Desinstalación y sustitución)
        • Mazo de cables de alta tensión - Bomba de calor - Batería de alta tensión (Desinstalación y sustitución)
        • Cabezal de alta tensión - 6 patillas - Batería de alta tensión (Desinstalación y sustitución)
        • Cabezal de alta tensión - Unidad de tracción delantera - Batería de alta tensión (Desinstalación y sustitución)
        • Cabezal de alta tensión - Unidad de tracción trasera - Batería de alta tensión - Lado izquierdo (Desinstalación y sustitución)
        • Sistema de conversión de energía (Desinstalación y sustitución)
        • Desconexión pirotécnica de la batería (Desinstalación y sustitución)
        • Medidor de resistencia (Ajuste a cero)
        • Derivación - Batería de alta tensión (Desinstalación y sustitución)
    • 17 - SISTEMA ELÉCTRICO
      • 1701 - Batería de baja tensión y fusibles
        • Batería - Baja tensión (Desinstalación y sustitución)
        • LV Battery - Recover
        • Dispositivo de mantenimiento de baja tensión (Conexión y desconexión)
        • Alimentación de baja tensión (Desconexión y conexión)
        • Procedimiento de desactivación de la alta tensión del vehículo
      • 1710 - Mazos de cables
        • Mazo de cables - Asiento de la 2.ª fila - Lado izquierdo (Desinstalación y sustitución)
        • Mazo de cables - Asiento de la 2.ª fila - Lado derecho (Desinstalación y sustitución)
        • Mazo de cables - Carrocería - Lado izquierdo (EMEA) (Desinstalación y sustitución)
        • Mazo de cables - Carrocería - Lado izquierdo (Desinstalación y sustitución)
        • Mazo de cables - Carrocería - Lado derecho (Desinstalación y sustitución)
        • Mazo de cables - Consola central (Desinstalación y sustitución)
        • Mazo de cables - Chasis - Parte trasera - Lado izquierdo (Desinstalación y sustitución)
        • Mazo de cables - Defensa - Delantera (Desinstalación y sustitución)
        • Mazo de cables - Defensa - Trasera (HW3) (Desinstalación y sustitución)
        • Mazo de cables - Puerta delantera - Lado izquierdo (Desinstalación y sustitución)
        • Mazo de cables - Unidad de tracción delantera (Desinstalación y sustitución)
        • Mazo de cables - Conjunto del climatizador (Desinstalación y sustitución)
        • Mazo de cables - Panel de instrumentos (Desinstalación y sustitución)
        • Mazo de cables - Portón trasero (Desinstalación y sustitución)
        • Mazo de cables - Delantero principal (EMEA) (Desinstalación y sustitución)
        • Mazo de cables - Delantero principal (Desinstalación y sustitución)
        • Mazo de cables - Puerta trasera - Lado izquierdo (Desinstalación y sustitución)
        • Mazo de cables - Asiento - Conductor (Desinstalación y sustitución)
        • Mazo de cables - Subconjunto - Panel de instrumentos (Desinstalación y sustitución)
        • Mazo de cables - Bastidor auxiliar - Trasero (Desinstalación y sustitución)
        • Mazo de cables - Bastidor auxiliar - Trasero (Plaid) (Desinstalación y sustitución)
        • Mazo de cables - Barra térmica (Desinstalación y sustitución)
        • Mazo de cables - Sintonizador - Portón trasero (Desinstalación y sustitución)
      • 1715 – Módulos de control electrónicos
        • Soporte - Homelink (Desinstalación y sustitución)
        • Módulo - Controlador de la batería (Desinstalación y sustitución)
        • Módulo - Controlador de la carrocería - Parte delantera (Desinstalación y sustitución)
        • Módulo - Controlador de la carrocería - Lado izquierdo (Desinstalación y sustitución)
        • Módulo - Controlador de la carrocería - Lado derecho (Desinstalación y sustitución)
        • Módulo - Transmisor HomeLink (Desinstalación y sustitución)
      • 1720 – Sensor de radar
        • Soporte - Radar - Parte delantera (Desinstalación y sustitución)
        • Calefactor - Radar (Desinstalación y sustitución)
        • Calefactor - Radar (Rectificación) (Vehículos fabricados antes del 1 de julio de 2021)
        • Calefactor - Radar (Rectificación) (Vehículos fabricados a partir del 1 de julio de 2021)
        • Radar - Interior (Desinstalación y sustitución)
        • Sensor - Radar - Parte delantera (Desinstalación y sustitución)
        • Sensor - Radar - Parte delantera (Rectificación)
      • 1722 - Cámaras
        • Cámara - Orientada hacia delante (Verificación de la inclinación)
        • Cámara - Pilar B - Izquierdo (HW4) (Desinstalación y sustitución)
        • Cámara - Doble - Orientada hacia delante (HW4) (Desinstalación y sustitución)
        • Cámara - Triple - Orientada hacia delante (HW3) (Desinstalación y sustitución)
        • Cámara - Interior (Desinstalación y sustitución)
        • Cámara - Orientada hacia atrás (HW3) (Desinstalación y sustitución)
        • Cámara - Orientada hacia atrás (HW4) (Desinstalación y sustitución)
        • Cámara del repetidor lateral - Parte delantera - Lado izquierdo (HW4) (Desinstalación y sustitución)
      • 1727 – Sensores de estacionamiento
        • Retenedor - Sensor - Distancia de estacionamiento (Desinstalación y sustitución)
        • Sensor - Distancia de estacionamiento - Interior - Parte delantera (HW3) (Desinstalación y sustitución)
        • Sensor - Distancia de estacionamiento - Exterior - Parte delantera (HW3) (Desinstalación y sustitución)
        • Sensor - Distancia de estacionamiento - Interior - Parte trasera (HW3) (Desinstalación y sustitución)
        • Sensor - Distancia de estacionamiento - Exterior - Parte trasera (HW3) (Desinstalación y sustitución)
      • 1730 - Interruptores interiores y toma de corriente auxiliar
        • Toma de corriente de 12 V - Consola central (Desinstalación y sustitución)
      • 1735 - Iluminación interior
        • Luz de la zona de los pies - Parte trasera - Consola central (Desinstalación y sustitución)
        • Luz de lectura - Lado izquierdo (Desinstalación y sustitución)
        • Luz de iluminación del suelo - Portón trasero (Desinstalación y sustitución)
        • Luz de iluminación del suelo - Puerta delantera - Lado izquierdo (Desinstalación y sustitución)
        • Luz de iluminación del suelo - Puerta trasera - Lado izquierdo (Desinstalación y sustitución)
      • 1740 - Luces exteriores
        • Abrazadera - Faro - Lado izquierdo (Desinstalación y sustitución)
        • Faro - Lado izquierdo (global) (desinstalación y sustitución)
        • Faro - Izquierdo (Desinstalación y sustitución)
        • Faros - Ajuste - NA (método de herramienta)
        • Faros - Ajuste (global) (método de herramienta)
        • Faros - Ajuste (global) (método de pared)
        • Faros - Ajuste - NA (método de pared)
        • Luz - Freno - Superior (Desinstalación y sustitución)
        • Luz - Reflectante - Parte trasera - Lado izquierdo (Desinstalación y sustitución)
        • Luz - Antiniebla - Parte delantera - Lado izquierdo (Desinstalación y sustitución)
        • Luz - Antiniebla/Marcha atrás - Trasera - Lado izquierdo (Desinstalación y sustitución)
        • Luz - Antiniebla/Marcha atrás - Trasera - Lado izquierdo (global) (desinstalación y sustitución)
        • Luz - Placa de matrícula (Desinstalación y sustitución)
        • Marcador reflectante - Luz trasera - Lado derecho (global) (desinstalación y sustitución)
        • Marcador reflectante - Luz trasera - Lado derecho (Desinstalación y sustitución)
        • Repetidor lateral - Parte delantera - Lado izquierdo (HW3) (Desinstalación y sustitución)
        • Repetidor lateral - Parte delantera - Lado izquierdo (HW4) (Desinstalación y sustitución)
        • Interruptor - Emergencia - Consola central (Desinstalación y sustitución)
        • Luz trasera - Lado izquierdo (Global) (Desinstalación y sustitución)
        • Luz trasera - Lado izquierdo (Desinstalación y sustitución)
        • Luz trasera - Lado derecho (Global) (Desinstalación y sustitución)
        • Luz trasera - Lado derecho (Desinstalación y sustitución)
      • 1745 - Entrada sin llave y seguridad
        • Llave adicional - Programa (llave presente)
        • Llaves de repuesto - Programa (sin llaves presentes)
        • Módulo - Bluetooth de baja energía (BLE) - Parte delantera (Desinstalación y sustitución)
        • Módulo - Bluetooth de baja energía (BLE) - Parte trasera (Desinstalación y sustitución)
        • Módulo - Controlador de la carrocería - Seguridad (Desinstalación y sustitución)
        • Sirena - Alimentada por batería (EMEA) (desinstalación y sustitución)
      • 1750 - Limpiaparabrisas y lavaparabrisas
        • Tapa - Depósito - Lavaparabrisas (Desinstalación y sustitución)
        • Manguera - Lavado - Pantalla de la cubierta (Desinstalación y sustitución)
        • Manguera - Lavaparabrisas - Depósito (Desinstalación y sustitución)
        • Manguera - Lavado - Torre de amortiguadores - Lado izquierdo (Desinstalación y sustitución)
        • Bomba - Depósito del lavaparabrisas (Desinstalación y sustitución)
        • Depósito - Lavaparabrisas (Desinstalación y sustitución)
        • Sensor - Nivel - Depósito del lavaparabrisas (Desinstalación y sustitución)
        • Sistema - Lavaparabrisas (Desinstalación y sustitución)
        • Boquillas del lavaparabrisas (Ajuste)
        • Brazo del limpiaparabrisas - Lado izquierdo (Desinstalación y sustitución)
        • Escobillas del limpiaparabrisas - Par (Desinstalación y sustitución)
        • Escobillas del limpiaparabrisas (Ajuste)
        • Módulo del limpiaparabrisas (Desinstalación y sustitución)
      • 1753 - Claxon
        • Conjunto de claxon (Desinstalación y sustitución)
      • 1754 - Altavoz de advertencia de peatones
        • Altavoz - Advertencia de peatones (Desinstalación y sustitución)
      • 1755 - Pedal del acelerador
        • Pedal del acelerador (Desinstalación y sustitución)
    • 18 - GESTIÓN TÉRMICA
      • 1810 - Sistema de climatización de la cabina
        • Actuador - Derivación - 1.ª fila - Carcasa del climatizador (Desinstalación y sustitución)
        • Actuador - Derivación - 2.ª fila - Carcasa del climatizador (Desinstalación y sustitución)
        • Actuador - Descongelación (Desinstalación y sustitución)
        • Actuador - Conducto - Consola central (Desinstalación y sustitución)
        • Actuador - Conducto - Suelo - 2.ª fila (Desinstalación y sustitución)
        • Actuador - Conducto - Zona de los pies - Lado izquierdo (Desinstalación y sustitución)
        • Actuador - Conducto - Zona de los pies - Lado derecho (Desinstalación y sustitución)
        • Actuador - Solapa - Consola central - Lado izquierdo (Desinstalación y sustitución)
        • Actuador - Admisión (Desinstalación y sustitución)
        • Actuador - Panel - Lado izquierdo (Desinstalación y sustitución)
        • Actuador - Panel - Lado derecho (Desinstalación y sustitución)
        • Actuador - Álabe - Consola central - Lado izquierdo (Desinstalación y sustitución)
        • Salida de aire - Panel de instrumentos - Conductor (LHD) (Desinstalación y sustitución)
        • Salida de aire - Panel de instrumentos - Pasajero (LHD) (Desinstalación y sustitución)
        • Conjunto de ondas de aire - Consola central (Desinstalación y sustitución)
        • Motor del ventilador - Climatizador (Desinstalación y sustitución)
        • Tapa - Ondas de aire - Consola central (Desinstalación y sustitución)
        • Conducto - Panel de instrumentos - Pasajero delantero (Desinstalación y sustitución)
        • Conducto - Suelo - 2.ª fila - Lado izquierdo (Desinstalación y sustitución)
        • Conducto - Suelo - 2.ª fila - Lado derecho (Desinstalación y sustitución)
        • Conducto - Panel de instrumentos - Conductor (Desinstalación y sustitución)
        • Conducto - Puente - Zona de los pies - Conductor (Desinstalación y sustitución)
        • Conducto - Desempañador de la ventanilla lateral - Lado izquierdo (Desinstalación y sustitución)
        • Conducto - Bajo el suelo a cabina trasera (Desinstalación y sustitución)
        • Filtro - Cabina (Desinstalación y sustitución)
        • Conjunto - Filtro - HEPA (Desinstalación y sustitución)
        • Filtro - HEPA (Desinstalación y sustitución)
        • Manguera - Climatizador - Vaciado (Desinstalación y sustitución)
        • Conjunto del climatizador (Desinstalación y sustitución)
        • Sensor - Calidad del aire (Desinstalación y sustitución)
        • Sensor - Temperatura del aire - Conducto - Desempañador (Desinstalación y sustitución)
        • Sensor - Temperatura del aire - Conducto - Conductor (Desinstalación y sustitución)
        • Sensor - Temperatura del aire - Conducto - Zona de los pies - Lado izquierdo (Desinstalación y sustitución)
        • Sensor - Temperatura del aire - Conducto - Zona de los pies - Lado derecho (Desinstalación y sustitución)
        • Sensor - Temperatura del aire - Conducto - Pasajero delantero (Desinstalación y sustitución)
        • Sensor - Temperatura del aire - Conducto del suelo - 2.ª fila (Desinstalación y sustitución)
        • Sensor - Temperatura ambiente (Desinstalación y sustitución)
        • Sensor - Temperatura de la cabina (accionado por ventilador) (Desinstalación y sustitución)
        • Termistor - Evaporador (Desinstalación y sustitución)
      • 1820 – Sistema de refrigerante
        • Compresor del aire acondicionado (Desinstalación y sustitución)
        • Tubo del aire acondicionado - Supercolector a compresor (Desinstalación y sustitución)
        • Tubo del aire acondicionado - Supercolector a climatizador (Desinstalación y sustitución)
        • Refrigerante del aire acondicionado (Recuperación y recarga)
        • Refrigerante del aire acondicionado (cantidad de aceite desconocida) (Recuperación, enjuague y recarga)
        • Manta acústica - Compresor (Desinstalación y sustitución)
        • Obturador de la rejilla activa (Desinstalación y sustitución)
        • Soporte - Compresor (Desinstalación y sustitución)
        • Tuberías del compresor, supercolector y aire acondicionado (Desinstalación y sustitución)
        • Desecante (Desinstalación y sustitución)
        • Embudo - Drenaje - Climatizador (Desinstalación y sustitución)
      • 1830 - Sistema de refrigeración
        • Válvula de refrigerante de tres vías - Derivación del radiador (Desinstalación y sustitución)
        • Clean Radiator (Maintenance)
        • Sistema de refrigeración (Comprobación y llenado)
        • Sistema de refrigeración (Llenado parcial y purga)
        • Sistema de refrigeración (Llenado por vacío)
        • Manguera - Alimentación de la batería (Desinstalación y sustitución)
        • Manguera - Intercambiador de calor de la unidad de tracción delantera a Supercolector (Desinstalación y sustitución)
        • Manguera - Intercambiador de calor de la unidad de tracción delantera a Supercolector (Plaid) (Desinstalación y sustitución)
        • Manguera - Batería de alta tensión a válvula de 3 vías (Desinstalación y sustitución)
        • Manguera - Batería de alta tensión al larguero delantero izquierdo (Desinstalación y sustitución)
        • Manguera - Entrada - Inversor - Unidad de tracción trasera (Desinstalación y sustitución)
        • Manguera - Entrada - Inversor - Unidad de tracción trasera (Plaid) (Desinstalación y sustitución)
        • Manguera - Inversor a intercambiador de calor - Unidad de tracción delantera (Desinstalación y sustitución)
        • Manguera - Bomba externa del tren de transmisión al radiador (Desinstalación y sustitución)
        • Manguera - Salida - Radiador (Desinstalación y sustitución)
        • Manguera - Salida - Unidad de tracción trasera (Desinstalación y sustitución)
        • Manguera - Salida - Unidad de tracción trasera (Plaid) (Desinstalación y sustitución)
        • Manguera - Retorno - Tren de transmisión (Desinstalación y sustitución)
        • Manguera - Larguero delantero derecho a vano del motor (Desinstalación y sustitución)
        • Manguera - Supercolector a válvula de 3 vías (Desinstalación y sustitución)
        • Manguera - Supercolector a válvula de 3 vías y radiador (Desinstalación y sustitución)
        • Manguera - Supercolector a bomba externa de batería (Desinstalación y sustitución)
        • Manguera - Supercolector a bomba externa del tren de transmisión (Desinstalación y sustitución)
        • Módulo - Ventilador de refrigeración (Desinstalación y sustitución)
        • Bomba - Refrigerante - Tren de transmisión - Radiador (Desinstalación y sustitución)
        • Bomba - Refrigerante - Batería - Externa (Desinstalación y sustitución)
        • Líquido térmico - Sistema de refrigeración (Llenado/vaciado)
      • 1840 - Supercolector
        • Enfriador (Desinstalación y sustitución)
        • Bobina - EXV - Supercolector (Desinstalación y sustitución)
        • Condensador refrigerado por líquido (Desinstalación y sustitución)
        • Bomba - Refrigerante - Batería - Supercolector (Desinstalación y sustitución)
        • Bomba - Refrigerante - Tren de transmisión - Supercolector (Desinstalación y sustitución)
        • Sensor - Presión y temperatura (PT) - Alta presión (Desinstalación y sustitución)
        • Sensor - Presión y temperatura (PT) - Baja presión (Desinstalación y sustitución)
        • Sensor - Subenfriamiento - Presión y temperatura (PT) - Alta presión (Desinstalación y sustitución)
        • Válvula de cierre - Condensador refrigerado por líquido (Desinstalación y sustitución)
        • Supercolector (Desinstalación y sustitución)
        • Cuerpo de la válvula - EXV - Supercolector (Desinstalación y sustitución)
      • 1850 - Distribución del aire
    • 20 - SEGURIDAD Y SISTEMAS DE SUJECIÓN
      • Precauciones relativas a los airbags y el sistema de sujeción complementario (SRS)
      • 2001 – Airbags
        • Airbag - Conductor (Desinstalación y sustitución)
        • Airbag - Pasajero delantero (Desinstalación y sustitución)
        • Airbag de cortina - Lado izquierdo (Desinstalación y sustitución)
        • Airbag de rodilla - Conductor (Desinstalación y sustitución)
        • Airbag de rodilla - Pasajero delantero (Desinstalación y sustitución)
        • Módulo - Sistema de sujeción (Desinstalación y sustitución)
        • Desmonte el airbag del asiento delantero y deséchelo
        • Airbag lateral - Interior - Conductor (Asiento deportivo) (Desinstalación y sustitución)
      • 2005 – Cinturones de seguridad
        • Soporte - Cinturón de seguridad - 2.ª fila - Lado izquierdo (Desinstalación y sustitución)
        • Hebilla - 1.ª fila - Lado izquierdo (Desinstalación y sustitución)
        • Hebilla - 2.ª fila - Central (Desinstalación y sustitución)
        • Hebilla - 2.ª fila - Lado izquierdo (Desinstalación y sustitución)
        • Escudo - Cinturón de seguridad - 2.ª fila - Lado izquierdo (Desinstalación y sustitución)
        • Cinturón de seguridad - 2.ª fila - Central (Desinstalación y sustitución)
        • Retractor - Cinturón del asiento - 1.ª fila - Lado izquierdo (Desinstalación y sustitución)
        • Retractor - Cinturón de seguridad - 2.ª fila - Lado izquierdo (Desinstalación y sustitución)
        • Guía de banda intermedia del cinturón de seguridad (Desinstalación y sustitución)
      • 2010 – Pretensores
        • Pretensor para cadera - 1.ª fila - Lado izquierdo (Desinstalación y sustitución)
      • 2020 - Sensores
        • Sensor - Acelerómetro de impacto - Paragolpes delantero (Desinstalación y sustitución)
        • Sensor de alfombrilla - Sistema de clasificación de ocupantes - 1.ª fila - Lado derecho (Desinstalación y sustitución)
        • Sensor - Presión - Puerta - Parte delantera - Lado izquierdo (Desinstalación y sustitución)
        • Sensor - Presión - Puerta - Parte trasera - Lado izquierdo (Desinstalación y sustitución)
        • Sensor - Tubo de presión (protección de peatones) (EMEA) (Desinstalación y sustitución)
        • Sensor - Resistivo - Ocupación - Asiento delantero - Lado izquierdo (Desinstalación y sustitución)
        • Sensor - Acelerómetro del panel lateral - Lado derecho (Desinstalación y sustitución)
      • 2030 - Sistema de protección de peatones
        • Actuador - Protección de peatones - Lado izquierdo (EMEA) (Desinstalación y sustitución)
    • 21 - SISTEMA DE INFOENTRETENIMIENTO
      • 2105 - Pantallas
        • Tablero de instrumentos (Desinstalación y sustitución)
        • Mecanismo - Pivote - Pantalla táctil (Desinstalación y sustitución)
        • Panel de servicio - Panel de instrumentos (Desinstalación y sustitución)
        • Pantalla táctil - Trasera (Desinstalación y sustitución)
        • Pantalla táctil (HW3) (Desinstalación y sustitución)
        • Pantalla táctil (HW4) (Desinstalación y sustitución)
      • 2115 - Ordenador del vehículo
        • Ordenador del vehículo (HW3) (Desinstalación e instalación)
        • Ordenador del vehículo (HW4) (Desinstalación e instalación)
        • Car Computer (Remove and Replace)
        • Ordenador del vehículo (Desecho)
        • Placa de conectividad - Ordenador del vehículo (Desinstalación y sustitución)
        • Tarjeta SD - Ordenador del vehículo (Desinstalación y sustitución)
        • Tarjeta SIM - Ordenador del vehículo (Desinstalación y sustitución)
        • Tarjeta SIM - Ordenador del vehículo (Info-Ryzen) (Retroadaptación)
      • 2121 - Sistema de audio - Altavoces, subwoofer y amplificador
        • Amplificador - Audio - Externo (Desinstalación y sustitución)
        • Altavoz - Puerta delantera - Lado izquierdo (Desinstalación y sustitución)
        • Altavoz - Puerta trasera - Lado izquierdo (Desinstalación y sustitución)
        • Subwoofer (Desinstalación y sustitución)
      • 2122 - Sistema de audio - Radio AM, FM y HD
        • Sintonizador - FM / HD / XM (Desinstalación y sustitución)
      • 2123 - Sistema de audio - Radio AM, FM y HD
      • 2130 - Antena - Radio AM, FM y HD
        • Amplificador de antena - FM (Desinstalación y sustitución)
        • Filtro de ruidos - Baja tensión - Antena (Desinstalación y sustitución)
        • Filtro de ruidos - Tierra - Antena (Desinstalación y sustitución)
      • 2131 - Antena - Radio por satélite
        • Antena - Radio por satélite (Desinstalación y sustitución)
      • 2125 - Sistema de audio - Bluetooth
      • 2126 - Sistema de audio - Puerto USB
        • Concentrador USB - Consola central - Parte delantera (Desinstalación y sustitución)
      • 2132 - Antena - GPS
        • Antena - GNSS (Desinstalación y sustitución)
      • 2133 - Antena - Wi-Fi
        • Antena - MIMO - Lado izquierdo (Desinstalación y sustitución)
      • 2135 - Antena - GSM
    • 24 - TECHO
      • 2430 - Techo de cristal fijo
        • Bloque de montaje - Soporte de techo (Desinstalación y sustitución)
    • 30 - CHASIS
      • 3001 - Chasis y falsos bastidores
        • Placa de sujeción - Bastidor auxiliar trasero - Lado izquierdo (Desinstalación y sustitución)
        • Placa deslizante - Parte delantera (Desinstalación y sustitución)
        • Refuerzo - Bastidor auxiliar trasero (Desinstalación y sustitución)
        • Refuerzo - Bastidor auxiliar trasero (Plaid) (Desinstalación y sustitución)
        • Conjunto de bastidor auxiliar - Parte delantera (Desinstalación y sustitución)
        • Conjunto de bastidor auxiliar - Delantero (Desinstalación y sustitución)
        • Conjunto del bastidor auxiliar - Trasero (Plaid) (Desinstalación e instalación)
        • Conjunto de bastidor auxiliar - Trasero (Plaid) (Desinstalación y sustitución)
        • Conjunto del bastidor auxiliar - Parte trasera (Desinstalación e instalación)
        • Conjunto del bastidor auxiliar - Parte trasera (Desinstalación y sustitución)
    • 31 - SUSPENSIÓN
      • Especificaciones de apriete - Suspensión
      • Requisito de alineación - Suspensión
      • 3100 – Ajuste
        • Comprobación de la alineación del EPAS
        • Comprobación de la alineación de las cuatro ruedas
        • Comprobación y ajuste de la alineación de las cuatro ruedas
        • Altura de conducción (Ajuste)
      • 3101 - Suspensión delantera (incluidos los bujes)
        • Suspensión - Delantera (apriete)
        • Brazo de control - Superior - Delantero - Lado izquierdo (Desinstalación y sustitución)
        • Buje - Parte delantera - Lado izquierdo (Desmontaje y sustitución)
        • Mangueta - Suspensión - Parte delantera - Lado izquierdo (Desinstalación y sustitución)
        • Brazo - Retroceso - Inferior - Parte delantera - Lado izquierdo (Desinstalación y sustitución)
        • Brazo - Avance - Inferior - Parte delantera - Lado izquierdo (Desinstalación y sustitución)
        • Brazo - Barra estabilizadora - Parte delantera - Lado izquierdo (Desinstalación y sustitución)
        • Barra estabilizadora - Parte delantera (Desinstalación y sustitución)
      • 3103 - Suspensión trasera (incluidos los bujes)
        • Suspensión - Trasera (apriete)
        • Buje - Trasero - Lado izquierdo (Desinstalación y sustitución)
        • Mangueta - Suspensión - Parte trasera - Lado izquierdo (Desinstalación y sustitución)
        • Brazo - Retroceso - Inferior - Parte trasera - Lado izquierdo (Desinstalación y sustitución)
        • Brazo - Retroceso - Superior - Parte trasera - Lado izquierdo (Desinstalación y sustitución)
        • Brazo - Avance - Inferior - Parte trasera - Lado izquierdo (Desinstalación y sustitución)
        • Brazo - Avance - Superior - Parte trasera - Lado izquierdo (Desinstalación y sustitución)
        • Brazo - Barra estabilizadora - Parte trasera - Lado izquierdo (Desinstalación y sustitución)
        • Barra estabilizadora - Parte trasera (Desinstalación y sustitución)
        • Conjunto de tirante - Parte trasera - Lado izquierdo (Desinstalación y sustitución)
      • 3110 - Sistema de suspensión neumática
        • Amortiguador activo - Parte delantera - Lado izquierdo (Desinstalación y sustitución)
        • Amortiguador activo - Parte trasera - Lado izquierdo (Desinstalación y sustitución)
        • Tubo de aire - Compresor a bloque de válvulas - Suspensión neumática (Desinstalación y sustitución)
        • Tubo de aire - Admisión/escape del bloque de válvulas - Suspensión neumática (Desinstalación y sustitución)
        • Suspensión neumática - Conjunto - Parte delantera (Desinstalación y sustitución)
        • Suspensión neumática - Conjunto - Parte trasera (Desinstalación y sustitución)
        • Suspensión neumática - Presurización/despresurización - Sistema completo
        • Abrazadera - Soporte - Compresor - Suspensión neumática (Desinstalación y sustitución)
        • Abrazadera - Compresor - Suspensión neumática (Desinstalación y sustitución)
        • Compresor - Suspensión neumática (Desinstalación y sustitución)
        • Mazo de cables - Módulo del muelle neumático adaptativo - Parte delantera - Lado izquierdo (Desinstalación y sustitución)
        • Tubo - Suspensión neumática (Reparación)
        • Módulo - Suspensión neumática - ECU (Tesla) (LHD) (Desinstalación y sustitución)
        • Sensor - Altura de conducción - Parte delantera - Lado izquierdo (Desinstalación y sustitución)
        • Sensor - Altura de conducción - Parte trasera - Lado izquierdo (Desinstalación y sustitución)
        • Superbeam (Desinstalación y sustitución)
        • Bloque de válvulas - Suspensión neumática (Desinstalación y sustitución)
    • 32 - DIRECCIÓN
      • 3201 - Cremallera y columna inferior de dirección
        • Módulo - Control de la columna de dirección (Desinstalación y sustitución)
        • Cremallera de dirección (Desinstalación y sustitución)
      • 3205 - Columna superior, volante
        • Cubierta - Inferior - Columna de dirección (Desinstalación y sustitución)
        • Columna de dirección (Desinstalación y sustitución)
        • Volante tipo yugo/Volante (Desinstalación y sustitución)
        • De un volante tipo yugo/volante con claxon táctil a un volante tipo yugo/volante con claxon mecánico (Readaptación)
    • 33 - FRENOS
      • 3301 - Discos y pinzas de freno
        • Pinza de freno - Parte delantera - Lado izquierdo (Desinstalación y sustitución)
        • Pinza de freno - Parte trasera - Lado izquierdo (Desinstalación y sustitución)
        • Pastillas de freno - Pulido
        • Pastillas y discos de freno - Parte delantera - Juego (Desinstalación y sustitución)
        • Pastillas y discos de freno - Parte trasera - Juego (Desinstalación y sustitución)
        • Pastillas de freno - Parte delantera (Desinstalación y sustitución)
        • Pastillas de freno - Parte trasera (Desinstalación y sustitución)
        • Disco de freno - Parte delantera - Lado izquierdo (Desinstalación y sustitución)
        • Disco de freno - Parte delantera - Lado izquierdo (Medición de la desviación)
        • Discos de freno - Parte delantera - Juego (Desinstalación y sustitución)
        • Disco de freno - Parte trasera - Lado izquierdo (Medición de la desviación)
        • Discos de freno - Parte trasera - Juego (Desinstalación y sustitución)
        • Limpieza y lubricación de las pinzas de freno (frenos de estacionamiento integrados)
        • Protector - Antipolvo - Freno - Parte delantera - Lado izquierdo (Desinstalación y sustitución)
        • Protector - Antipolvo - Freno - Parte trasera - Lado izquierdo (Desinstalación y sustitución)
      • 3303 - Tubos y mangueras de freno
        • Máquina purgadora de frenos (Enjuague)
        • Purga/lavado del líquido de frenos (Desinstalación y sustitución)
        • Manguera de freno - Flexible - Parte delantera - Lado izquierdo (Desinstalación y sustitución)
        • Manguera de freno - Flexible - Parte trasera - Lado izquierdo (Desinstalación y sustitución)
        • Latiguillos de freno - Larguero izquierdo (Desinstalación y sustitución)
        • Latiguillos de freno - Cilindro principal a ABS (Desinstalación y sustitución)
        • Latiguillos de freno - Parte trasera - Lado izquierdo a larguero (Desinstalación y sustitución)
        • Latiguillos de freno - Parte trasera - Lado derecho a larguero (Desinstalación y sustitución)
        • Tubo - Unión del freno al latiguillo - Lado izquierdo (Desinstalación y sustitución)
        • Tubo - Unión del freno al latiguillo - Lado derecho (Desinstalación y sustitución)
        • Conjunto de tubos - Tubos del ABS a larguero izquierdo (Desinstalación y sustitución)
        • Conjunto de tubos - Parte delantera - Freno (Desinstalación y sustitución)
      • 3305 - Freno de estacionamiento
        • Pinza del freno de estacionamiento - Liberación
        • Pinza del freno de estacionamiento - Pinza agarrotada/Fallo del motor - Liberación
      • 3310 - ABS, tracción y control de estabilidad
        • Unidad de control hidráulico (HCU) - Freno (Desinstalación y sustitución)
        • Sensor - Velocidad de las ruedas - ABS - Parte delantera - Lado izquierdo (Desinstalación y sustitución)
      • 3320 – Servofreno electromecánico
        • Conjunto del servofreno electromecánico (Desinstalación y sustitución)
      • 3325 - Pedal de freno
        • Horquilla - Freno (Desinstalación y sustitución)
        • Conjunto del pedal (Desinstalación y sustitución)
        • Pastilla de pedal - Freno (Desinstalación y sustitución)
        • Interruptor - Luz de freno (Desinstalación y sustitución)
    • 34 - RUEDAS Y NEUMÁTICOS
      • 3401 - Ruedas
        • Conjunto de rueda (Desinstalación e instalación)
        • Rueda - Delantera - Izquierda (Desmontaje y sustitución)
      • 3402 - Neumáticos
        • Información sobre los neumáticos de repuesto
        • Neumático - Delantero - Lado izquierdo (Desinstalación y sustitución)
        • Neumático - Delantero - Izquierdo (fuerza entre neumático y carretera) (Equilibrado)
        • Neumático - Delantero - Izquierdo (Reparación)
        • Rotación de neumáticos
      • 3404 - Sistema de control de la presión de los neumáticos (TPMS)
        • TPMS (Aprendizaje de ID de sensores, conducción)
        • TPMS (Aprendizaje de ID de sensores, herramienta)
    • 39 - UNIDAD DE TRACCIÓN DELANTERA
      • 3901 - Conjunto de la unidad de tracción delantera
        • Unidad de tracción - Delantera (Desinstalación e instalación)
        • Unidad de tracción - Delantera (Desinstalación y sustitución)
        • Toma de tierra - Unidad de tracción delantera (Desinstalación y sustitución)
        • Soporte - Soporte de casquillo - Unidad de tracción delantera - Lado derecho (Desinstalación y sustitución)
      • 3920 - Inversor delantero
        • Cubierta - Inversor - Unidad de tracción - Delantera (Desinstalación y sustitución)
        • Prueba del diodo del inversor de la unidad de tracción
        • Acoplamiento hidráulico (55 grados) - Unidad de tracción delantera (Desinstalación y sustitución)
        • Acoplamiento hidráulico (recto) - Unidad de tracción delantera (Desinstalación y sustitución)
        • Cabezal de alta tensión - Inversor - Unidad de tracción delantera (Desinstalación y sustitución)
        • Inversor - Unidad de tracción delantera (Desinstalación y sustitución)
      • 3930 - Caja de cambios y semiejes delanteros
        • Respiradero - Unidad de tracción delantera (Desinstalación y sustitución)
        • Líquido de la caja de cambios - Unidad de tracción delantera (vaciado y llenado)
        • Semieje - Unidad de tracción delantera - Lado izquierdo (Desinstalación y sustitución)
        • Semieje - Unidad de tracción delantera - Lado derecho (Desinstalación y sustitución)
        • Intercambiador de calor - Unidad de tracción delantera (Desinstalación y sustitución)
        • Filtro de aceite - Unidad de tracción delantera (Desinstalación y sustitución)
        • Bomba de aceite - Unidad de tracción delantera (Desinstalación y sustitución)
    • 40 - UNIDAD DE TRACCIÓN TRASERA
      • 4001 - Conjunto de la unidad de tracción trasera
        • Casquillo - Unidad de tracción trasera - Parte trasera (Desinstalación y sustitución)
        • Casquillo - Unidad de tracción trasera - Lado derecho (Desinstalación y sustitución)
        • Unidad de tracción - Trasera (Desinstalación e instalación)
        • Unidad de tracción - Trasera (Desinstalación y sustitución)
        • Unidad de tracción - Trasera (Plaid) (Desinstalación e instalación)
        • Unidad de tracción - Trasera (Plaid) (Desinstalación y sustitución)
        • Toma de tierra - Unidad de tracción trasera (gran autonomía) (Desinstalación y sustitución)
        • Toma de tierra - Unidad de tracción trasera (Plaid) (Desinstalación y sustitución)
        • Soporte - Unidad de tracción trasera - Lado izquierdo (Desinstalación y sustitución)
      • 4010 - Motor trasero
      • 4020 - Inversor trasero
        • Prueba del diodo del inversor de la unidad de tracción
        • Acoplamiento hidráulico (55 grados) - Unidad de tracción trasera (desinstalación y sustitución)
        • Acoplamiento hidráulico (recto) - Unidad de tracción trasera (desinstalación y sustitución)
        • Acoplamiento hidráulico - Unidad de tracción trasera (Plaid) (Unidad de tracción ya desmontada) (Desinstalación y sustitución)
        • Acoplamiento hidráulico - Unidad de tracción trasera (Plaid) (Desinstalación y sustitución)
        • Manguera - Inversor a intercambiador de calor - Unidad de tracción trasera (Desinstalación y sustitución)
        • Manguera - Inversor a intercambiador de calor - Unidad de tracción trasera - Lado izquierdo (Plaid) (Desinstalación y sustitución)
        • Manguera - Inversor a intercambiador de calor - Unidad de tracción trasera - Lado derecho (Plaid) (Desinstalación y sustitución)
        • Prueba de fugas de aire del inversor (en vehículo)
        • Prueba de fugas de aire del inversor (en banco)
        • Inversor - Lado izquierdo - Unidad de tracción trasera (Plaid) (Desinstalación y sustitución)
        • Inversor - Unidad de tracción trasera (Desinstalación y sustitución)
      • 4030 - Caja de cambios y semiejes traseros
        • Respiradero - Unidad de tracción trasera (Desinstalación y sustitución)
        • Respiradero - Unidad de tracción trasera (Plaid) (Desinstalación y sustitución)
        • Líquido de la caja de cambios - Unidad de tracción trasera (Drenaje y llenado)
        • Líquido de la caja de cambios - Unidad de tracción trasera (Plaid) (Vaciado y llenado)
        • Semieje - Unidad de tracción trasera - Lado izquierdo (Desinstalación y sustitución)
        • Semieje - Unidad de tracción trasera - Lado izquierdo (Plaid) (Desinstalación y sustitución)
        • Intercambiador de calor - Unidad de tracción trasera (gran autonomía) (Desinstalación y sustitución)
        • Intercambiador de calor - Unidad de tracción trasera - Lado izquierdo (Plaid) (Desinstalación y sustitución)
        • Filtro de aceite - Unidad de tracción trasera (Plaid) (Desinstalación y sustitución)
        • Filtro de aceite - Unidad de tracción trasera (Desinstalación y sustitución)
        • Bomba de aceite - Lado izquierdo - Unidad de tracción trasera (Plaid) (Drenaje manual) (Desinstalación y sustitución)
        • Bomba de aceite - Lado izquierdo - Unidad de tracción trasera (Plaid) (Desinstalación y sustitución)
        • Bomba de aceite - Unidad de tracción trasera (gran autonomía) (Desinstalación y sustitución)
        • Bomba de aceite - Parte trasera - Unidad de tracción trasera (Plaid) (Desinstalación y sustitución)
        • Junta - Eje - Unidad de tracción trasera - Lado izquierdo (Desinstalación y sustitución)
        • Junta - Eje - Unidad de tracción trasera - Lado izquierdo (Plaid) (Desinstalación y sustitución)
    • 44 - SISTEMA DE ALTA TENSIÓN
      • 4400 - Pruebas de alta tensión
        • Aislamiento/Prueba de aislamiento
        • Procedimiento de desactivación de la alta tensión del vehículo
      • 4401 - Toma del sistema de carga
        • Barras colectoras - Puerto de carga a batería de alta tensión (Desinstalación y sustitución)
        • Barras colectoras - Puerto de carga a batería de alta tensión (EMEA) (desinstalación y sustitución)
        • Barras colectoras - Puerto de carga a batería de alta tensión (global) (desinstalación y sustitución)
        • Puerto de carga (EMEA) (desinstalación y sustitución)
        • Puerto de carga (global) (desinstalación y sustitución)
        • Puerto de carga (Desinstalación y sustitución)
        • Comprobación de la tensión del puerto de carga
        • Conector - Entrada de CC - Barra colectora - Puerto de carga a batería de alta tensión (Desinstalación y sustitución)
        • Panel de la puerta - Puerto de carga (Desinstalación y sustitución)
        • Conjunto de la puerta - Puerto de carga (global) (desinstalación y sustitución)
        • Conjunto de puerta - Puerto de carga (NA) (Desinstalación y sustitución)
        • Puerta - Puerto de carga (global) (ajuste)
        • ECU - Puerto de carga (global) (desinstalación y sustitución)
        • ECU - Puerto de carga (Desinstalación y sustitución)
        • Tapa de seguridad - Barra colectora - Puerto de carga a batería de alta tensión (EMEA) (desinstalación y sustitución)
        • Tapa de seguridad - Barra colectora - Puerto de carga a batería de alta tensión (global) (desinstalación y sustitución)
        • Tapa de seguridad - Barra colectora - Puerto de carga a batería de alta tensión (Desinstalación y sustitución)
        • Junta - Tapa - Puerto de carga (Retroadaptación)
      • 4450 - Mazos de cables de alta tensión
        • Cable de CA - Puerto de carga a batería de alta tensión (trifásico) (Desinstalación y sustitución)
        • Mazo de cables de alta tensión - Batería de alta tensión a compresor del A/A (Desinstalación y sustitución)
        • Mazo de cables de alta tensión - Batería de alta tensión a unidad de tracción delantera (Desinstalación y sustitución)
        • Mazo de cables de alta tensión - Batería de alta tensión a unidad de tracción trasera - Lado izquierdo (Plaid) (Desinstalación y sustitución)
        • Mazo de cables de alta tensión - Batería de alta tensión a unidad de tracción trasera (Desinstalación y sustitución)
    • 50 - CONECTORES EXTERNOS DE CARGA
      • 5001 - Conector móvil
        • Actualización del firmware - Conector móvil
        • Desmontaje de pieza frontal atascada - Conector de carga
      • 5002 - Conector de pared
      • 5003 - Adaptadores de carga
        • Actualización del firmware - Adaptador de carga CHAdeMO
    • © Tesla 2025
    • Procedure Feedback
    • Site Feedback

    Crowsfoot or Offset Wrench Extension Calculator

    Torque Calculator Values
    Note
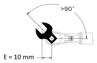
    1. If the angle from the extension to the torque wrench is greater than 90° (Figure 2), input E as a positive number.
    2. If the angle from the extension to the torque wrench is less than 90° (Figure 3), input E as a negative number.
    3. If the angle from the extension to the torque wrench is exactly 90°, this calculator is not needed. Torque the fastener to T1.
    Figure 1
    Figure 2
    Figure 3