Model S Service Manual

    Model S 정비 설명서(2021+)

    현재 릴리즈 노트

    • Model S 정비 설명서(2021+)
    • 릴리즈 노트
      • 현재 릴리즈 노트
      • 릴리즈 노트 보관
        • 릴리즈 노트 2022년 6월~9월
        • 릴리즈 노트 2022년 10월~12월
        • 릴리즈 노트 2023년 1월~3월
        • 릴리즈 노트 2023년 4월~6월
        • 릴리즈 노트 2023년 7월~9월
        • 릴리즈 노트 2023년 10월~12월
        • 릴리즈 노트 2024년 1월~3월
        • 릴리즈 노트 2024년 4월~6월
        • 릴리즈 노트 2024년 7월~9월
    • 일반 정보
      • 소개
        • 약어 및 기호
        • 표준 정비 작업시간
        • 2021+ 모델 S 글로벌 리프레쉬
        • 설명서 사용 방법
        • 수리 및 교체
        • 보증 서비스 지역
      • 최적의 조치
        • 에어백 및 안전보조장치(SRS) 사전 주의 사항
        • 에어컨 시스템 사전 주의 사항
        • 진단 포트 위치
        • 전기 사전 주의 사항
        • 멀티미터(LoZ 설정)
        • 환경 사전 주의 사항
        • Event Data Recorder Retrieval
        • 가요성 파이프 및 호스
        • 일반 체결 지침
        • 일반 사전 주의 사항
        • 잠금 장치
        • 오일 씰
        • 개인 보호
        • 장착 전 글라스 검사
        • SRS 구성품 교체 정책
        • 차량 카메라 및 오토파일럿
        • 휠 폐기(재작업)
      • 충전
        • 일반
        • 충전 사전 주의 사항
      • 유액 및 용량
        • 유액
        • 유액 용량
      • 식별 번호
        • 차량 및 휠 도색 코드
        • 차대번호(VIN)
      • 기술 데이터
        • 브레이크
        • 퓨즈 위치
        • 서스펜션
        • 타이어 공기압
        • 휠 얼라인먼트
        • 휠
    • 00 - 검사 및 정비
      • 0001 - 정기 정비
        • 정비 서비스 및 주기
      • 0002 - 펌웨어 서비스
        • 펌웨어 재설치 - Toolbox
        • 펌웨어 재설치 - 터치스크린
        • 펌웨어 업데이트
        • 사용자 데이터(공장 출고 초기화)
      • 0005 - 정비 모드
        • 게이트웨이 구성(표시 및 변경)
        • OBD 커넥터(새로 장착)
        • 게이트웨이(잠금 해제)
        • 정비 모드(활성화 및 비활성화)
        • 정비 모드 플러스
        • Toolbox 3(연결 및 연결 해제)
    • 10 - 차체
      • 1000 - 차량 리프팅
        • 차량 올리기 - 2 포스트 리프트
        • 차량 올리기 - 플로어 잭(이동식 정비 서비스)
      • 1001 - 범퍼/페시아
        • 공기 배출 장치 - 후면 - 외측 - LH(탈거 및 교체)
        • 앵클 캐처 어셈블리(탈거 및 교체)
        • 브래킷 - 부착물 - 페시아 - 후면(탈거 및 교체)
        • 브래킷 - 후면 윙 - LH(탈거 및 교체)
        • 범퍼 빔 - 전면(탈거 및 교체)
        • 범퍼 빔 - 후면(탈거 및 교체)
        • 커버 - 견인 후크 - 후면(탈거 및 교체)
        • 커버 - 트레일러 히치(탈거 및 교체)
        • 디플렉터 - 밸런스 - 전면 페시아 - LH(탈거 및 교체)
        • 페시아 어셈블리 - 전면(탈거 및 장착)
        • 페시아 어셈블리 - 전면(HW3)(탈거 및 교체)
        • 페시아 어셈블리 - 전면(HW4)(탈거 및 교체)
        • 페시아 어셈블리 - 후방(탈거 및 장착)
        • 페시아 어셈블리 - 후면(HW3)(탈거 및 교체)
        • 페시아 어셈블리 - 후면(HW4)(탈거 및 교체)
        • 그릴 - 페시아 - 전면(탈거 및 교체)
        • T 배지 지지대 - 페시아 - 전면(탈거 및 교체)
        • 트레일러 히치 - 후면 에너지 업소버(새로 장착)
        • 트림 - 하단 - 페시아 - 후면(탈거 및 교체)
        • V 바 - 페시아 - 전면(탈거 및 교체)
        • 밸런스 - 전면 페시아(탈거 및 교체)
      • 1010 - 차체 패널
        • 브레이스 - 토우보드 - LH(탈거 및 교체)
        • 브래킷 - 전면 엔드 모듈(FEM) - LH(탈거 및 교체)
        • 브래킷 - 프론트 엔드 모듈(FEM) - RH(탈거 및 교체)
        • 브래킷 - 지지대 - 샷건 - LH(탈거 및 교체)
        • 캐리어 - 전면 단부(탈거 및 교체)
        • 크로스멤버 - V 브레이스 - 쇼크 타워(탈거 및 교체)
        • 도어 어셈블리 - 전면 - LH(탈거 및 교체)
        • 도어 어셈블리 - 후면 - LH(탈거 및 교체)
        • EPAS 접지점 - 전면 레일(복원)
        • 펜더 어셈블리 - 전면 - LH(탈거 및 교체)
        • 후드 어셈블리(탈거 및 교체)
        • 리프트게이트(탈거 및 교체)
        • V 브레이스 - 쇼크 타워 - LH(탈거 및 교체)
      • 1020 - 윈드실드, 리프트게이트 글라스 및 차체 글라스
        • 선명한 전방 카메라 뷰(내측 윈드실드 정밀 청소)
        • 고정 글라스 - 전면 - LH(탈거 및 교체)
        • 글라스 - 후면 쿼터 - LH(탈거 및 장착)
        • 글라스 - 후면 쿼터 - LH(탈거 및 교체)
        • 글라스 - 루프 - 고정식(탈거 및 장착)
        • 글라스 - 루프 - 고정식(탈거 및 교체)
        • 리프트게이트 글라스(탈거 및 장착)
        • 리프트게이트 글라스(탈거 및 교체)
        • 센서 - HVAC - 윈드실드(탈거 및 교체)
        • VIN 라벨 - 윈드실드(탈거 및 교체)
        • 윈드실드 찍힘 수리
        • Windshield Chip Repair (EMEA)
        • Windshield Scratch Repair
        • 윈드실드(탈거 및 장착)
        • 윈드실드(탈거 및 교체)
        • 윈드실드 및 루프 글라스 수리 및 교체 지침
      • 1030 - 도장
        • 도장 결함 수정
      • 패널 정렬
        • 패널 정렬 규격
    • 11 - 개폐 구성품
      • 1133 - 개폐 보조 장치 및 힌지
        • 차체 댐퍼 - 리프트게이트 - LH(탈거 및 교체)
        • 브래킷 - 패시브 후드 스트럿 - LH(탈거 및 교체)
        • 범프 스톱 - 후드(탈거 및 교체)
        • 댐퍼 웨지 - 리프트게이트 - LH(탈거 및 교체)
        • 가스 스트럿 - 후드 - LH(탈거 및 교체)
        • 가스 스트럿 - 리프트게이트(탈거 및 교체)
        • 힌지 - 도어 - 전면 - 하단 - LH(탈거 및 교체)
        • 힌지 - 도어 - 전면 - 상단 - LH(탈거 및 교체)
        • 힌지 - 도어 - 후면 - 하단 - LH(탈거 및 교체)
        • 힌지 - 도어 - 후면 - 상단 - LH(탈거 및 교체)
        • 힌지 - 후드 - LH(탈거 및 교체)
        • 힌지 - 리프트게이트 - LH(탈거 및 교체)
        • 인서트 - 차체 댐퍼 - 리프트게이트 - LH(탈거 및 교체)
        • 오버슬램 - 리프트게이트 - LH(탈거 및 교체)
        • 파워 스트럿 - 리프트게이트(탈거 및 교체)
      • 1135 - 래치, 스트라이커 및 핀치 센서
        • 액추에이터 - 래치 - 후드(싱글 액추에이터 시스템)(탈거 및 교체)
        • 커버 - 스트라이커 - 트렁크(탈거 및 교체)
        • 외부 해제 스위치 - 리프트게이트(탈거 및 교체)
        • 래치 - 도어 - 전면 - LH(탈거 및 교체)
        • 래치 - 도어 - 후면 - LH(탈거 및 교체)
        • 래치 - 후드(싱글 액추에이터)(탈거 및 교체)
        • 핀치 센서 - 리프트게이트 - LH(탈거 및 교체)
        • 스트라이커 - 도어 - 전면 - LH(탈거 및 교체)
        • 스트라이커 - 후드(탈거 및 교체)
        • 스트라이커 - 리프트게이트(탈거 및 교체)
        • 스위치 - 리프트게이트 - 실내(탈거 및 교체)
      • 1140 - 실내 도어 핸들
        • 핸들 - 비상 해제 - 리프트게이트(탈거 및 교체)
      • 1145 - 실외 도어 핸들
        • 핸들 - 외부 해제 - 도어 - 전면 - LH - 3.0세대(탈거 및 교체)
        • 핸들 - 외부 릴리스 - 도어 - 후면 - LH(탈거 및 교체)
        • LED - 도어 - 외부 핸들 - 전면 - LH(탈거 및 교체)
        • LED - 도어 - 외부 핸들 - 후면 - LH(탈거 및 교체)
      • 1150 - 도어 글라스 및 조절기
        • 도어 글라스 - 전면 - LH(조정)
        • 도어 글라스 - 전면 - LH(탈거 및 교체)
        • 도어 글라스 - 후면 - LH(조정)
        • 도어 글라스 - 후면 - LH(탈거 및 교체)
        • 창문 모터/조절기 어셈블리 - 전면 - LH(탈거 및 교체)
        • 창문 조절기 - 후면 - LH(탈거 및 교체)
        • 창문 조절기(재보정)
      • 1170 - 씰 차체 인클로저
        • 흡음 폼 - 내측 - 전면 도어 - LH(탈거 및 교체)
        • 에어로 씰 - 후드(탈거 및 교체)
        • 캐리어 - 씰 - 전면 - B필러 - LH(탈거 및 교체)
        • 캐리어 - 씰 - 후면 - B필러 - LH(탈거 및 교체)
        • 클로즈아웃 패널 - 도어 - 전면 - LH(탈거 및 교체)
        • 클로즈아웃 패널 - 도어 - 후면 - LH(탈거 및 교체)
        • 클로즈아웃 패널 - 래치 - C필러 - LH(탈거 및 교체)
        • 씰 - 차체 - 측면 - 전면 - 기본 - LH(탈거 및 교체)
        • 씰 - 차체 - 측면 - 후면 - 기본 - LH(탈거 및 교체)
        • 씰 - 차체 - 측면 - 후면 - 보조 - LH(탈거 및 교체)
        • 씰 - 도어 - 전면 - 여유 - A필러 - LH(탈거 및 교체)
        • 씰 - 도어 - 후면 - 여유 - B필러 - LH(탈거 및 교체)
        • 씰 - 도어 - 후면 - 여유 - C필러 - LH(탈거 및 교체)
        • 씰 - 후드(탈거 및 교체)
        • 씰 - 내측 벨트 - 전면 도어 - LH(탈거 및 교체)
        • 씰 - 내측 벨트 - 후면 도어 - LH(탈거 및 교체)
        • 씰 - 리프트게이트(탈거 및 교체)
        • 씰 - 외측 벨트 - 전면 도어 - LH(탈거 및 교체)
        • 씰 - 외측 벨트 - 후면 도어 - LH(탈거 및 교체)
        • 씰 - 보조 - 전면 도어 - LH(탈거 및 교체)
        • 씰 - 보조 - 후면 도어 - LH(탈거 및 교체)
    • 12 - 외장 부품
      • 1201 - 휠 아치 라이너
        • 흡음재 - 모터 베이 - 전면 벌크헤드(탈거 및 교체)
        • 흡음재 - 모터 베이 - 후면(탈거 및 교체)
        • 휠 아치 라이너 - 후면 - LH(탈거 및 교체)
        • 휠 아치 라이너 - 전면 - LH(탈거 및 교체)
      • 1203 - 언더트레이 및 디퓨저
        • 디퓨저 - 후면 페시아(탈거 및 교체)
        • 패널 - 에어로 실드 - 전면(탈거 및 교체)
        • 패널 - 에어로 실드 - 중간(탈거 및 교체)
      • 1205 - 배지 및 필름
        • Tesla 배지 - 전면(탈거 및 교체)
        • Tesla 배지 - 후면(탈거 및 교체)
        • 페인트 보호 필름 - 쿼터 패널(새로 장착)
        • Plaid 그래픽 배지(탈거 및 교체)
        • Plaid 글자 배지(탈거 및 교체)
        • TESLA 글자 배지(장착)
      • 1207 - 번호판 장착
        • 베이스 브래킷 - 번호판 - 전면(탈거 및 교체)
        • 도장 브래킷 - 몰딩 - 번호판 - 전면(탈거 및 교체)
      • 1209 - 외부 미러
        • 스컬캡 - 도어 미러 - LH(탈거 및 교체)
        • 도어 미러 어셈블리 - LH(탈거 및 교체)
      • 1220 - 외부 트림
        • 아플리케 - B필러 - LH(탈거 및 교체)
        • 아플리케 - 리프트게이트(전 세계 공통)(탈거 및 교체)
        • 아플리케 - 리프트게이트(탈거 및 교체)
        • 브래킷 - 아플리케 - 리프트게이트(탈거 및 교체)
        • 브래킷 - 지지대 - 로커 패널 - 전면 - LH(탈거 및 교체)
        • 브래킷 - 지지대 - 로커 패널 - 후면 - LH(탈거 및 교체)
        • 브라이트 워크 - 차체 측면 - LH(탈거 및 교체)
        • 커버 - 아플리케 - B필러 - LH(탈거 및 교체)
        • 페어링 - 로커 패널 - 후면 - LH(탈거 및 교체)
        • 펜더 플레어 - 전면 및 후면(새로 장착)
        • 몰딩 - 로커 패널 - LH(탈거 및 교체)
        • 패드 - 리프팅 - 개별(탈거 및 교체)
        • 스커프 플레이트 - 로커 패널 - LH(탈거 및 교체)
      • 1222 - 스포일러
        • 스포일러 - 후면(탈거 및 교체)
        • 스포일러 - 후면(지그를 이용하여 새로 장착)
      • 1225 - 후드 내 트림
        • 커버 - 쇼크 타워 - LH(탈거 및 교체)
        • 패널 - 카울 스크린(탈거 및 교체)
        • 후드 내 에이프런 - 전면(탈거 및 교체)
        • 후드 내 에이프런 - LH(탈거 및 교체)
        • 후드 내 에이프런 - 후면(탈거 및 교체)
      • 1227 - 리프트게이트 트로프 트림
        • 트림 - 리프트게이트 트로프 - LH(탈거 및 교체)
      • 1230 - 트레일러 히치
        • 어셈블리 - 트레일러 히치(탈거 및 교체)
        • ECU - 트레일러 히치(탈거 및 교체)
        • 트레일러 히치 - 후면 에너지 업소버(새로 장착)
    • 13 - 좌석
      • 1301 - 전면 시트 트랙 및 모터
        • 버튼 - 쿠션 조정 - 운전석 시트(탈거 및 교체)
        • 버튼 - 리클라이너 조정 - 운전석 시트(탈거 및 교체)
        • 컨트롤러 - 운전석 시트(탈거 및 교체)
        • 커버 - 전면 - 시트 트랙 - 1열 시트(탈거 및 교체)
        • 팬 - 등받이 - 운전석 시트(탈거 및 교체)
        • 팬 - 쿠션 - 운전석 시트(탈거 및 교체)
        • 프레임 - 시트 쿠션 - 운전석 시트(탈거 및 교체)
        • 프레임 - 시트 쿠션 - 운전석 시트(스포츠 시트)(탈거 및 교체)
        • 라이트 - 시트 하단 - 운전석(탈거 및 교체)
        • 모듈 - ECU - 탑승자 구분 시스템(OCS) - 전면 동승석(탈거 및 교체)
        • 모터 - 리클라이너 - 등받이 - 운전석 시트(탈거 및 교체)
        • 모터 - 시트 틸트 - 운전석 시트(탈거 및 교체)
        • 모터 - 시트 트랙 - 운전석 시트(탈거 및 교체)
        • 리클라이너 튜브 - 운전석 시트(탈거 및 교체)
        • 높이 조절 장치 - 외측 - 운전석 시트(탈거 및 교체)
        • 시트 - 1열(보정)
        • 센서 - 위치 - 시트 트랙 - 1열 시트 - LH(탈거 및 교체)
        • 스위치 - 등받이 및 쿠션 조정 - 운전석 시트(탈거 및 교체)
      • 1302 - 2열 시트 트랙 및 모터
        • 스위치 - 시트 접이 - 2열 - LH(탈거 및 교체)
        • 스위치 - 시트 접이 - 2열 - RH(탈거 및 교체)
      • 1304 - 앞좌석 어셈블리 및 하드웨어
        • Back Panel - LH (Sport Seat) \(Remove and Replace\)
        • 등받이 - 운전석(탈거 및 교체)
        • 허리 지지대 - 등받이 - 운전석 시트(탈거 및 교체)
        • 마이크 - 시트 - 운전석(탈거 및 교체)
        • 포스트 가이드 - 헤드레스트 - 운전석 시트(탈거 및 교체)
        • 사이드 볼스터 - 외측 - 1열 시트 - LH(스포츠 시트)(탈거 및 교체)
        • 사이드 볼스터 - 외측 - 1열 시트 - RH(스포츠 시트)(탈거 및 교체)
        • 시트 어셈블리 - 1열 - LH(탈거 및 교체)
        • 시트 어셈블리 - 1열 - RH(탈거 및 교체)
        • 셸 - 시트 등받이 - 운전석(탈거 및 교체)
        • 트림 - 헤드레스트 - 운전석(탈거 및 교체)
      • 1305 - 2열 좌석 어셈블리 및 하드웨어
        • 암레스트 - 2열(탈거 및 교체)
        • 볼스터 - 외측 - 시트 - 2열 - LH(탈거 및 교체)
        • 브래킷 - ISOFIX - LH(탈거 및 교체)
        • 브래킷 - 피벗 - 내측 - 2열 시트 - RH(탈거 및 교체)
        • 브래킷 - 피벗 - 외측 - 2열 시트 - LH(탈거 및 교체)
        • 브래킷 - 피벗 - 외측 - 2열 시트 - RH(탈거 및 교체)
        • 번 - 암레스트 - 2열(탈거 및 교체)
        • 클로즈아웃 - 암레스트 - 2열(탈거 및 교체)
        • 고리 - 고정식 - 피벗 - 2열 - LH(탈거 및 교체)
        • 고리 - 고정식 - 피벗 - 2열 - RH(탈거 및 교체)
        • 커버 - 피벗 - 2열(탈거 및 교체)
        • 커버 - 측면 - 시트 등받이 - 2열 - LH(탈거 및 교체)
        • Flap - ISOFIX - Pair (Retrofit)
        • 가이드 잠금 장치 - 헤드레스트 - 2열(탈거 및 교체)
        • 헤드레스트 - 2열 - LH(탈거 및 교체)
        • 래치 - 시트 등받이 - 2열 시트 - LH(탈거 및 교체)
        • 마이크 - 시트 - 2열 - LH(탈거 및 교체)
        • 마이크 - 시트 - 2열 - RH(탈거 및 교체)
        • 피벗 부싱 - 시트 등받이 - 2열 - LH(탈거 및 교체)
        • 피벗 부싱 - 시트 등받이 - 2열 - RH(탈거 및 교체)
        • 피벗 슬리브 - 시트 등받이 - 2열 - 중앙(탈거 및 교체)
        • 시트 등받이 - 2열 - LH(탈거 및 교체)
        • 시트 등받이 - 2열 - RH(탈거 및 교체)
        • 시트 쿠션 - 하단 - 2열(탈거 및 교체)
        • 스트라이커 - 시트 등받이 - 2열 시트 - LH(탈거 및 교체)
        • 서브스트레이트 - 볼스터 - 내측 - 2열 - RH(탈거 및 교체)
        • 서브스트레이트 - 볼스터 - 내측 - 2열 - LH(탈거 및 교체)
        • 서브스트레이트 - 시트 등받이 - 2열 - LH(탈거 및 교체)
        • 서브스트레이트 - 시트 등받이 - 2열 - RH(탈거 및 교체)
        • 지지대 베이스 - 2열 쿠션(탈거 및 교체)
        • 지지대 블록 - 2열 쿠션 - LH(탈거 및 교체)
        • 스위치 - 시트 접이 - 2열 - 트렁크(탈거 및 교체)
        • 용접부 - 피벗 - 내측 - 2열 시트 - LH(탈거 및 교체)
      • 1307 - 앞좌석 커버, 패드 및 트림
        • 캐리어 - RH - 사이드 실드 - 내측 - 전면 시트(탈거 및 교체)
        • 커버 - 등받이 - 운전석(탈거 및 교체)
        • 커버 - 등받이 - 운전석(내부 에어백 포함)(탈거 및 교체)
        • 장식 패널 - 1열 시트 - LH(스포츠 시트)(탈거 및 교체)
        • 폼 - 등받이 - 운전석 시트(탈거 및 교체)
        • 폼 - 등받이 - 운전석 시트(내부 에어백 포함)(탈거 및 교체)
        • 사이드 볼스터 - 외측 - 시트 쿠션 - 운전석(스포츠 시트)(탈거 및 교체)
        • 사이드 실드 - 내측 - 운전석 시트(탈거 및 교체)
        • 사이드 실드 - 외측 - 운전석 시트(탈거 및 교체)
        • 커버 - 쿠션 - 운전석 시트(탈거 및 교체)
        • 헤드레스트 - 운전석 시트(스포츠 시트)(탈거 및 교체)
      • 1308 - 2열 시트 커버 패드 및 트림
        • 후면 패널 - 2열 시트 - LH(탈거 및 교체)
        • 후면 패널 - 2열 시트 - RH(탈거 및 교체)
        • 커버 - 시트 등받이 - 2열 시트 - LH(탈거 및 교체)
        • 트림 - 볼스터 - 내측 - 시트 - 2열 - LH(탈거 및 교체)
        • 트림 - 볼스터 - 내측 - 시트 - 2열 - RH(탈거 및 교체)
        • 트림 - 시트 등받이 – 2열 – RH(탈거 및 교체)
        • 트림 - 숄더 - 시트 - 2열 - LH(탈거 및 교체)
    • 14 - 계기판 및 페달
      • 1405 - 계기판
        • 에어로 렌즈 - 계기판(탈거 및 교체)
        • 커버 - 에어로 렌즈 - 계기판 - LH(탈거 및 교체)
        • 커버 - 발밑 공간 - 동승석(탈거 및 교체)
        • 커버 - 무릎 에어백 - 운전석(탈거 및 교체)
        • 커버 - 무릎 에어백 - 전면 동승석(탈거 및 교체)
        • 크로스 카 빔(탈거 및 교체)
        • 장식 - 계기판 - 메인(탈거 및 교체)
        • 엔드캡 - 계기판 - LH(탈거 및 교체)
        • 커버 - 발밑 공간 - 운전석(탈거 및 교체)
        • 갭 하이더 - 스티어링 컬럼 - 상단(탈거 및 교체)
        • 글로브박스(탈거 및 교체)
        • 그릴 - 스피커 - 계기판(탈거 및 교체)
        • 계기판 - 하단(탈거 및 교체)
        • 래치 - 형상 기억 합금(SMA) - 글로브박스(탈거 및 교체)
        • 슈라우드 - 상단 - 스티어링 컬럼(탈거 및 교체)
        • 서브어셈블리 - 계기판(탈거 및 장착)
        • 서브어셈블리 - 계기판(탈거 및 교체)
        • 트림 - 중간 - 계기판 - LH(탈거 및 교체)
        • 트림 - 중간 - 계기판 - RH(탈거 및 교체)
    • 15 – 실내 트림
      • 1505 - 내부 미러 및 선바이저
        • 체크 베이스 - 자석 - 선바이저 - LH(탈거 및 교체)
        • 글레어 실드 - 오토파일럿(탈거 및 교체)
        • 미러 - 후방(탈거 및 교체)
        • 카메라 커버 - 하단(탈거 및 교체)
        • 상단 커버 - 리어 뷰 미러(탈거 및 교체)
        • 선바이저 - LH(탈거 및 교체)
      • 1511 - 리프트게이트 트림
        • 브래킷 - 트림 - 리프트게이트 - 중앙(탈거 및 교체)
        • 브래킷 - 트림 - 리프트게이트 - LH(탈거 및 교체)
        • 그릴 - 스피커 - 리프트게이트(탈거 및 교체)
        • 주변 - 핸들 - 리프트게이트(탈거 및 교체)
        • 트림 - 리프트게이트 - 하단(탈거 및 교체)
        • 트림 - 상단 - 리프트게이트(탈거 및 교체)
      • 1513 - 도어 트림
        • 브래킷 - 그랩 핸들 - 도어 - 전면 - LH(탈거 및 교체)
        • 브래킷 - 그랩 핸들 - 도어 - 후면 - LH(탈거 및 교체)
        • 커버 - 서비스 - 암레스트 - 전면 도어 - LH(탈거 및 교체)
        • 커버 - 서비스 - 암레스트 - 후면 도어 - LH(탈거 및 교체)
        • 장식 - 트림 - 전면 도어 - LH(탈거 및 교체)
        • 장식 - 트림 - 후면 도어 - LH(탈거 및 교체)
        • NVH 패드 - 패널 - 도어 트림 - 전면 - LH(탈거 및 교체)
        • 패널 - 도어 트림 - 전면 - LH(탈거 및 교체)
        • 패널 - 도어 트림 - 후면 - LH(탈거 및 교체)
        • 리플렉터 - 도어 트림 - 전면 - LH(탈거 및 교체)
      • 1518 - 필러 및 실 트림
        • 베젤 - 안전벨트 - C필러 - LH(탈거 및 교체)
        • 브래킷 - A필러 - 상단 - LH (탈거 및 교체)
        • 브래킷 - 지지대 - C필러 - LH(탈거 및 교체)
        • 실 플레이트 - 전면 - LH(탈거 및 교체)
        • 트림 - A필러 - 하단 - LH(탈거 및 교체)
        • 트림 - A필러 - 중단 - LH(탈거 및 교체)
        • 트림 - A필러 - 상단 - LH(탈거 및 교체)
        • 트림 - B필러 - 하단 - LH(탈거 및 교체)
        • 트림 - B필러 - 상단 - LH(탈거 및 교체)
        • 트림 - C필러 - 하단 - LH(탈거 및 교체)
        • 트림 - C필러 - 중간 - LH(탈거 및 교체)
        • 트림 - C필러 - 상단 - LH(탈거 및 교체)
      • 1519 - 중앙 콘솔
        • 암레스트 - 센터 콘솔(탈거 및 교체)
        • 브래킷 - 토우보드 - LH(탈거 및 교체)
        • 브래킷 - 토우보드 - RH(탈거 및 교체)
        • 브라이트 스트립 - 센터 콘솔 - 후면(탈거 및 교체)
        • 카펫 - 측면 패널 - 센터 콘솔 - LH(탈거 및 교체)
        • 센터 콘솔 어셈블리(탈거 및 장착)
        • 센터 콘솔 어셈블리(탈거 및 교체)
        • 장식 - 센터 콘솔(탈거 및 교체)
        • 무선 충전기 - 센터 콘솔(탈거 및 교체)
        • 라이트 - 암레스트 상자 - 센터 콘솔(탈거 및 교체)
        • 패널 - 하단 후면 - 센터 콘솔(탈거 및 교체)
        • 패널 - 서비스 - 센터 콘솔(탈거 및 교체)
        • 휴대폰 거치대 - 센터 콘솔(탈거 및 교체)
        • 사이드 패널 - 센터 콘솔 - LH(탈거 및 교체)
        • 스위치 - 리드 - 센터 콘솔(탈거 및 교체)
      • 1520 - 헤드라이너
        • 코트 후크 - 후면 - LH(탈거 및 교체)
        • 헤드라이너(탈거 및 교체)
        • 마이크 - 헤드라이너 - 전면 - LH(탈거 및 교체)
      • 1524 - 러기지 컴파트먼트 트림
        • 카펫 - 후면 트렁크(5인승)(탈거 및 교체)
        • 트렁크 선반 - 후면 트렁크(탈거 및 교체)
        • 트림 - 전면 - 플로어 - 트렁크(탈거 및 교체)
        • 트림 - 후면 트렁크 - 후방 벽(탈거 및 교체)
        • 트림 - 사이드 - 트렁크 - LH (탈거 및 교체)
        • 트림 - 사이드 - 트렁크- RH(탈거 및 교체)
        • 트림 - 측면 벽 - 트렁크 - LH(탈거 및 교체)
        • 트림 - 실 - 트렁크(탈거 및 교체)
        • 후드 내 보관 유닛(탈거 및 교체)
        • 후드 내 보관 유닛 접근 패널(탈거 및 교체)
        • 후드 내 보관 유닛(탈거 및 장착)
      • 1530 - 카펫 및 매트
        • 브래킷 - 트렁크 적재함 바닥 - LH(탈거 및 교체)
        • 브래킷 - 트렁크 적재함 바닥 - RH(탈거 및 교체)
        • 카펫 - 실내 전체(탈거 및 교체)
        • 카펫 - 후드 내 보관 유닛(탈거 및 교체)
        • 절연체 - 대시보드(HW3)(탈거 및 교체)
        • 절연체 - 대시보드(HW4)(탈거 및 교체)
        • 절연체 - 모터 베이 - 전면(탈거 및 교체)
        • 절연체 - 모터 베이 - 후면(탈거 및 교체)
        • 절연체 - 상단 카울(탈거 및 교체)
        • 절연체 - 휠하우스 - 후면 - LH(탈거 및 교체)
        • 절연체 - 휠하우스 - 후면 - RH(탈거 및 교체)
        • NVH 절연체 - 플로어 - 후면 트렁크(탈거 및 교체)
        • 패널 - 풋레스트 - 전면 동승석(LHD)(탈거 및 교체)
        • 트렁크 적재함 바닥 - 후면(탈거 및 교체)
        • 트렁크 적재함 바닥 - 측면(탈거 및 교체)
    • 16 - 배터리 시스템
      • 1601 - HV 배터리 어셈블리
        • HV 배터리(AWD)(탈거 및 장착)
        • HV 배터리(AWD)(탈거 및 교체)
        • HV Battery Revision -F to Revision -H (Retrofit)
      • 1610 - HV 배터리 인클로저
        • 커버 - 전면 액세스 - HV 배터리(탈거 및 장착)
        • 커버 - 전면 액세스 - HV 배터리(탈거 및 교체)
        • 커버 - 점화식 퓨즈 - HV 배터리(탈거 및 교체)
        • 커버 - 후면 액세스 - HV 배터리(탈거 및 교체)
        • 플러드 포트(탈거 및 교체)
        • 접지 케이블 - HV 배터리(탈거 및 교체)
        • HV 배터리 공기 누출 테스트(차량 내)
        • HV 배터리 공기 누출 테스트(테이블)
      • 1620 - HV 배터리 냉각 시스템
        • 플래터 인클로저 냉각수(배출)
        • 플래터 인클로저 냉각수(배출) (테이블 위)
        • 플래터 인클로저 냉각수 누출 테스트(테이블)
        • 전력 변환 시스템(PCS) 냉각수(배출)
        • 전력 변환 시스템(PCS) 냉각수(배출) (테이블 위)
        • 전력 변환 시스템(PCS) 냉각수 누출 테스트(테이블)
        • 튜브 - 인입 - 냉각수 - 전력 변환 시스템(PCS)(탈거 및 교체)
        • 튜브 - 인출 - 냉각수 - 전력 변환 시스템(PCS)(탈거 및 교체)
      • 1630 - HV 배터리 전기 부품
        • 캐리어 - 커넥터 - 전면 - HV 배터리(탈거 및 교체)
        • 컨택터 - 급속 충전 - HV 배터리(탈거 및 교체)
        • 컨택터 - 음극 - HV 배터리(탈거 및 교체)
        • 컨택터 - 양극 - HV 배터리(탈거 및 교체)
        • 컨트롤러 - 고전압(백업 및 복원)
        • 컨트롤러 - 고전압(탈거 및 교체)
        • 퓨즈 - A/C 컴프레서 - HV 배터리(탈거 및 교체)
        • 퓨즈 - 전력 변환 시스템(PCS) - HV 배터리(탈거 및 교체)
        • 하네스 - 고전압 컨트롤러(HVC) - HV 배터리(탈거 및 교체)
        • 하네스 - LV - 전면 - HV 배터리(탈거 및 교체)
        • 하네스 - 점화식 - HV 배터리(탈거 및 교체)
        • HV 하네스 - 히트 펌프 - HV 배터리(탈거 및 교체)
        • HV 헤더 - 6핀 - HV 배터리(탈거 및 교체)
        • HV 헤더 - 전륜 구동 장치 - HV 배터리(탈거 및 교체)
        • HV 헤더 - 후륜 구동 장치 - HV 배터리 - LH(탈거 및 교체)
        • 전력 변환 시스템(PCS)(탈거 및 교체)
        • 점화식 배터리 차단기(탈거 및 교체)
        • 저항계(영점 조정)
        • 션트 - HV 배터리(탈거 및 교체)
    • 17 - 전기
      • 1701 - LV 배터리 및 퓨즈
        • 배터리 - LV(탈거 및 교체)
        • LV Battery - Recover
        • LV 유지 장치(연결 및 연결 해제)
        • LV 전원(연결 해제 및 연결)
        • 차량 HV 비활성화 절차
      • 1710 - 하네스
        • 하네스 - 2열 시트 - LH(탈거 및 교체)
        • 하네스 - 2열 시트 - RH(탈거 및 교체)
        • 하네스 - 차체 - LH(유럽/중동/아프리카)(탈거 및 교체)
        • 하네스 - 차체 - LH(탈거 및 교체)
        • 하네스 - 차체 - RH(탈거 및 교체)
        • 하네스 - 센터 콘솔(탈거 및 교체)
        • 하네스 - 섀시 - 후면 - LH(탈거 및 교체)
        • 하네스 - 페시아 - 전면(탈거 및 교체)
        • 하네스 - 페시아 - 후면(HW3)(탈거 및 교체)
        • 하네스 - 전면 도어 - LH(탈거 및 교체)
        • 하네스 - 전륜 구동 장치(탈거 및 교체)
        • 하네스 - HVAC 어셈블리(탈거 및 교체)
        • 하네스 - 계기판(탈거 및 교체)
        • 하네스 - 리프트게이트(탈거 및 교체)
        • 하네스 - 메인 전면(유럽/중동/아프리카)(탈거 및 교체)
        • 하네스 - 메인 전면(탈거 및 교체)
        • 하네스 - 후면 도어 - LH(탈거 및 교체)
        • 하네스 - 시트 - 운전석(탈거 및 교체)
        • 하네스 - 서브어셈블리 - 계기판(탈거 및 교체)
        • 하네스 - 서브프레임 - 후면(탈거 및 교체)
        • 하네스 - 서브프레임 - 후면(Plaid)(탈거 및 교체)
        • 하네스 - 서멀 바(탈거 및 교체)
        • 하네스 - 튜너 - 리프트게이트(탈거 및 교체)
      • 1715 - 전자 제어 모듈
        • 브래킷 - 홈링크(탈거 및 교체)
        • 모듈 - 배터리 컨트롤러(탈거 및 교체)
        • 모듈 - 차체 컨트롤러 - 전면(탈거 및 교체)
        • 모듈 - 차체 컨트롤러 - LH(탈거 및 교체)
        • 모듈 - 차체 컨트롤러 - RH(탈거 및 교체)
        • 모듈 - HomeLink 송신기(탈거 및 교체)
      • 1720 - 레이더 센서
        • 브래킷 - 레이더 - 전면(탈거 및 교체)
        • 히터 - 레이더(탈거 및 교체)
        • 히터 - 레이더(재작업)(2021년 7월 1일 이전에 제조된 차량)
        • 히터 - 레이더(재작업)(2021년 7월 1일 이후에 제조된 차량)
        • 레이더 - 내부(탈거 및 교체)
        • 센서 - 레이더 - 전면(탈거 및 교체)
        • 센서 - 레이더 - 전면(재작업)
      • 1722 - 카메라
        • 카메라 - 전방(피치 확인)
        • 카메라 - B필러 - LH(HW4)(탈거 및 교체)
        • 카메라 - 바이 - 전방(HW4)(탈거 및 교체)
        • 카메라 - 트리플 - 전방(HW3)(탈거 및 교체)
        • 카메라 - 실내(탈거 및 교체)
        • 카메라 - 후방(HW3)(탈거 및 교체)
        • 카메라 - 후방(HW4)(탈거 및 교체)
        • 사이드 리피터 카메라 - 전면 - LH(HW4)(탈거 및 교체)
      • 1727 - 주차 센서
        • 리테이너 - 센서 - 주차 거리(탈거 및 교체)
        • 센서 - 주차 거리 - 내측 - 전면(HW3)(탈거 및 교체)
        • 센서 - 주차 거리 - 외측 - 전면(HW3)(탈거 및 교체)
        • 센서 - 주차 거리 - 내측 - 후면(HW3)(탈거 및 교체)
        • 센서 - 주차 거리 - 외측 - 후면(HW3)(탈거 및 교체)
      • 1730 - 내부 스위치 및 보조 전원 소켓
        • 12V 전원 소켓 - 센터 콘솔(탈거 및 교체)
      • 1735 - 실내 조명
        • 발밑 공간 조명 - 후면 - 센터 콘솔(탈거 및 교체)
        • 실내등 - LH(탈거 및 교체)
        • 퍼들 라이트 - 리프트게이트(탈거 및 교체)
        • 퍼들 라이트 - 전면 도어 - LH(탈거 및 교체)
        • 퍼들 라이트 - 후면 도어 - LH(탈거 및 교체)
      • 1740 - 외부 조명
        • 브레이스 - 헤드라이트 - LH(탈거 및 교체)
        • 헤드라이트- LH(전 세계 공통)(탈거 및 교체)
        • 헤드라이트 - LH(탈거 및 교체)
        • 헤드라이트 - 조정 - 북미(공구 방법)
        • 헤드라이트 - 조정(전 세계 공통)(도구 방법)
        • 헤드라이트 - 조정(전 세계 공통)(벽 방법)
        • 헤드라이트 - 조정 - 북미(벽 방법)
        • 라이트 - 브레이크 - 하이 마운티드(탈거 및 교체)
        • 램프 - 반사 - 후면 - LH(탈거 및 교체)
        • 라이트 - 안개등 - 전면 - LH(탈거 및 교체)
        • 라이트 - 안개/후진등 - 후면 - LH(탈거 및 교체)
        • 라이트 - 안개/후진등 - 후면 - LH(전 세계 공통)(탈거 및 교체)
        • 라이트 - 번호판(탈거 및 교체)
        • 반사 마커 - 테일라이트 - RH(전 세계 공통)(탈거 및 교체)
        • 반사 마커 - 테일라이트 - RH(탈거 및 교체)
        • 사이드 리피터 - 전면 - LH(HW3)(탈거 및 교체)
        • 사이드 리피터 - 전면 - LH(HW4)(탈거 및 교체)
        • 스위치 - 위험 - 센터 콘솔(탈거 및 교체)
        • 테일라이트 - LH(전 세계 공통)(탈거 및 교체)
        • 테일라이트 - LH(탈거 및 교체)
        • 테일라이트 - RH(전 세계 공통)(탈거 및 교체)
        • 테일라이트 - RH(탈거 및 교체)
      • 1745 - 키리스 엔트리 및 보안
        • 추가 키-프로그램(기존 키 있음)
        • 교체 키-프로그램 (키 없음)
        • 모듈 - 저전력 Bluetooth(BLE) - 전면(탈거 및 교체)
        • 모듈 - 저전력 Bluetooth(BLE) - 후면(탈거 및 교체)
        • 모듈 - 차체 컨트롤러 - 보안(탈거 및 교체)
        • 사이렌 - 배터리 작동식(유럽/중동/아프리카)(탈거 및 교체)
      • 1750 - 와이퍼 및 워셔
        • 캡 - 저장 탱크 - 윈드실드 워셔(탈거 및 교체)
        • 호스 - 와셔 - 카울 스크린(탈거 및 교체)
        • 호스 - 워셔 - 저장 탱크(탈거 및 교체)
        • 호스 - 와셔 - 쇼크 타워 - LH(탈거 및 교체)
        • 펌프 - 윈드실드 워셔액 저장 탱크(탈거 및 교체)
        • 저장 탱크 - 윈드실드 워셔(탈거 및 교체)
        • 센서 - 수위 - 윈드실드 워셔액 저장 탱크(탈거 및 교체)
        • 시스템 - 윈드실드 워셔(탈거 및 교체)
        • 워셔 노즐(조정)
        • 와이퍼 암 - LH(탈거 및 교체)
        • 와이퍼 블레이드 - 페어(탈거 및 교체)
        • 와이퍼 블레이드(조정)
        • 와이퍼 모듈(탈거 및 교체)
      • 1753 - 경적
        • 혼 어셈블리(탈거 및 교체)
      • 1754 - 보행자 경고 스피커
        • 스피커 - 보행자 경고(탈거 및 교체)
      • 1755 - 가속 페달
        • 가속 페달(탈거 및 교체)
    • 18 - 열 관리
      • 1810 - 승차석 HVAC
        • 액추에이터 - 바이패스 - 1열 - HVAC 케이스(탈거 및 교체)
        • 액추에이터 - 바이패스 - 2열 - HVAC 케이스(탈거 및 교체)
        • 액추에이터 - 성에 제거(탈거 및 교체)
        • 액추에이터 - 덕트 - 센터 콘솔(탈거 및 교체)
        • 액추에이터 - 덕트 - 플로어 - 2열(탈거 및 교체)
        • 액추에이터 - 덕트 - 발밑 공간 - LH(탈거 및 교체)
        • 액추에이터 - 덕트 - 발밑 공간 - RH(탈거 및 교체)
        • 액추에이터 - 플랩 - 센터 콘솔 - LH(탈거 및 교체)
        • 액추에이터 - 인테이크(탈거 및 교체)
        • 액추에이터 - 패널 - LH(탈거 및 교체)
        • 액추에이터 - 패널 - RH(탈거 및 교체)
        • 액추에이터 - 베인 - 센터 콘솔 - LH(탈거 및 교체)
        • 공기 송풍구 - 계기판 - 운전석(LHD)(탈거 및 교체)
        • 공기 송풍구 - 계기판 - 동승석(LHD)(탈거 및 교체)
        • 에어 웨이브 어셈블리 - 센터 콘솔(탈거 및 교체)
        • 블로워 모터 - HVAC(탈거 및 교체)
        • 캡 - 에어 웨이브 - 센터 콘솔(탈거 및 교체)
        • 덕트 - 계기판 - 전면 동승석(탈거 및 교체)
        • 덕트 - 플로어 - 2열 - LH(탈거 및 교체)
        • 덕트 - 플로어 - 2열 - RH(탈거 및 교체)
        • 덕트 - 계기판 - 운전석(탈거 및 교체)
        • 덕트 - 점퍼 - 발밑 공간 - 운전석(탈거 및 교체)
        • 덕트 - 측면 창문 성에 제거 - LH(탈거 및 교체)
        • 덕트 - 플로어 하부-후면 실내(탈거 및 교체)
        • 필터 - 실내(탈거 및 교체)
        • 어셈블리 - 필터 - HEPA(탈거 및 교체)
        • 필터 - HEPA(탈거 및 교체)
        • 호스 - HVAC - 배출(탈거 및 교체)
        • HVAC 어셈블리(탈거 및 교체)
        • 센서 - 공기질(탈거 및 교체)
        • 센서 - 공기 온도 - 덕트 - 성에 제거(탈거 및 교체)
        • 센서 - 공기 온도 - 덕트 - 운전석(탈거 및 교체)
        • 센서 - 공기 온도 - 덕트 - 발밑 공간 - LH(탈거 및 교체)
        • 센서 - 공기 온도 - 덕트 - 발밑 공간 - RH(탈거 및 교체)
        • 센서 - 공기 온도 - 덕트 - 전면 동승석(탈거 및 교체)
        • 센서 - 공기 온도 - 플로어 덕트 - 2열(탈거 및 교체)
        • 센서 - 외기 온도(탈거 및 교체)
        • 센서 - 실내 온도(팬 구동)(탈거 및 교체)
        • 서미스터 - 증발기(탈거 및 교체)
      • 1820 - 냉매 시스템
        • A/C 컴프레서(탈거 및 교체)
        • A/C 라인 - 슈퍼매니폴드-컴프레서(탈거 및 교체)
        • A/C 라인 - 슈퍼매니폴드-HVAC(탈거 및 교체)
        • A/C 냉매(회수 및 재충전)
        • A/C 냉매(알 수 없는 오일량) (회수, 플러싱 및 재충전)
        • 흡음 블랭킷 - 컴프레서(탈거 및 교체)
        • 액티브 그릴 셔터(탈거 및 교체)
        • 브래킷 - 컴프레서(탈거 및 교체)
        • 컴프레서, 슈퍼매니폴드 및 A/C 라인(탈거 및 교체)
        • 제습제(탈거 및 교체)
        • 깔때기 - 배출 - HVAC(탈거 및 교체)
      • 1830 - 냉각 시스템
        • 3방향 냉각수 밸브 - 라디에이터 바이패스(탈거 및 교체)
        • Clean Radiator (Maintenance)
        • 냉각 시스템(점검 및 충전)
        • 냉각 시스템(부분적 보충 및 블리딩)
        • 냉각 시스템(진공 보충)
        • 호스 - 배터리 공급 장치(탈거 및 교체)
        • 호스 - 전륜 구동 장치 열교환기-슈퍼매니폴드(탈거 및 교체)
        • 호스 - 전륜 구동 장치 열교환기-슈퍼매니폴드(Plaid)(탈거 및 교체)
        • 호스 - HV 배터리-3방향 밸브(탈거 및 교체)
        • 호스 - HV 배터리-LH 전면 실(탈거 및 교체)
        • 호스 - 인입 - 인버터 - 후륜 구동 장치(탈거 및 교체)
        • 호스 - 인입 - 인버터 - 후륜 구동 장치(Plaid)(탈거 및 교체)
        • 호스 - 인버터-열교환기 - 전륜 구동 장치(탈거 및 교체)
        • 호스 - 오프보드 파워트레인 펌프-라디에이터(탈거 및 교체)
        • 호스 - 배출 - 라디에이터(탈거 및 교체)
        • 호스 - 배출 - 후륜 구동 장치(탈거 및 교체)
        • 호스 - 배출 - 후륜 구동 장치(Plaid)(탈거 및 교체)
        • 호스 - 리턴 - 파워트레인(탈거 및 교체)
        • 호스 - RH 프런트 실-언더후드(탈거 및 교체)
        • 호스 - 슈퍼매니폴드-3방향 밸브(탈거 및 교체)
        • 호스 - 슈퍼매니폴드-3방향 밸브 및 라디에이터(탈거 및 교체)
        • 호스 - 슈퍼매니폴드-오프보드 배터리 펌프(탈거 및 교체)
        • 호스 - 슈퍼매니폴드-오프보드 파워트레인 펌프(탈거 및 교체)
        • 모듈 - 냉각 팬(탈거 및 교체)
        • 펌프 - 냉각수 - 파워트레인 - 라디에이터(탈거 및 교체)
        • 펌프 - 냉각수 - 배터리 - 오프보드(탈거 및 교체)
        • 열 오일 - 냉각 시스템(주입/배출)
      • 1840 - 슈퍼매니폴드
        • 칠러(탈거 및 교체)
        • 코일 - EXV - 슈퍼매니폴드(탈거 및 교체)
        • 수냉식 콘덴서(탈거 및 교체)
        • 펌프 - 냉각수 - 배터리 - 슈퍼매니폴드(탈거 및 교체)
        • 펌프 - 냉각수 - 파워트레인 - 슈퍼매니폴드(탈거 및 교체)
        • 센서 - 압력 및 온도(PT) - 고압(탈거 및 교체)
        • 센서 - 압력 및 온도(PT) - 저압(탈거 및 교체)
        • 센서 - 과냉각 - 압력 및 온도(PT) - 고압(탈거 및 교체)
        • 셧오프 밸브 - 수냉식 콘덴서(탈거 및 교체)
        • 슈퍼매니폴드(탈거 및 교체)
        • 밸브 본체 - EXV - 슈퍼매니폴드(탈거 및 교체)
      • 1850 - 공기 분배 장치
    • 20 - 안전 및 구속 장치
      • 에어백 및 안전보조장치(SRS) 사전 주의 사항
      • 2001 - 에어백
        • 에어백 - 운전석(탈거 및 교체)
        • 에어백 - 전면 동승석(탈거 및 교체)
        • 커튼 에어백 - LH(탈거 및 교체)
        • 무릎 에어백 - 운전석(탈거 및 교체)
        • 무릎 에어백 - 전면 동승석(탈거 및 교체)
        • 모듈 - 안전 구속 장치 제어(탈거 및 교체)
        • 전면 시트 에어백 탈거 및 폐기
        • 사이드 에어백 - 내측 - 운전석(스포츠 시트)(탈거 및 교체)
      • 2005 - 안전 벨트
        • 브래킷 - 안전벨트 - 2열 - LH(탈거 및 교체)
        • 버클 - 1열 - LH(탈거 및 교체)
        • 버클 - 2열 - 중앙(탈거 및 교체)
        • 버클 - 2열 - LH (탈거 및 교체)
        • 덮개판 - 안전벨트 - 2열 - LH(탈거 및 교체)
        • 안전벨트 - 2열 - 중앙(탈거 및 교체)
        • 리트랙터 - 안전벨트 - 1열 - LH(탈거 및 교체)
        • 리트랙터 - 안전벨트 - 2열 - LH(탈거 및 교체)
        • 안전벨트 인터미디에이트 웹 가이드(탈거 및 교체)
      • 2010 - 프리텐셔너
        • 랩 프리텐셔너 - 1열 - LH(탈거 및 교체)
      • 2020 - 센서
        • 센서 - 충돌 가속도계 - 전면 범퍼(탈거 및 교체)
        • 센서 매트 - 탑승자 구분 시스템(OCS) - 1열 - RH(탈거 및 교체)
        • 센서 - 압력 - 도어 - 전면 - LH(탈거 및 교체)
        • 센서 - 압력 - 도어 - 후면 - LH(탈거 및 교체)
        • 센서 - 압력 튜브(보행자 보호)(유럽/중동/아프리카)(탈거 및 교체)
        • 센서 - 저항식 승객 감지 - 전면 시트 - LH(탈거 및 교체)
        • 센서 - 샷건 가속도계 - RH(탈거 및 교체)
      • 2030 - 보행자 보호 시스템
        • 액추에이터 - 보행자 보호 - LH(유럽/중동/아프리카)(탈거 및 교체)
    • 21 - 인포테인먼트
      • 2105 - 디스플레이
        • 계기판(IC)(탈거 및 교체)
        • 메커니즘 - 피벗 - 터치스크린(탈거 및 교체)
        • 서비스 패널 - 계기판(탈거 및 교체)
        • 터치스크린 - 후면(탈거 및 교체)
        • 터치스크린(HW3)(탈거 및 교체)
        • 터치스크린(HW4)(탈거 및 교체)
      • 2115 - 차량 컴퓨터
        • 차량 컴퓨터(HW3)(탈거 및 장착)
        • 차량 컴퓨터(HW4)(탈거 및 장착)
        • Car Computer (Remove and Replace)
        • 차량 컴퓨터(폐기)
        • 연결 보드 - 차량 컴퓨터(탈거 및 교체)
        • SD 카드 - 차량 컴퓨터(탈거 및 교체)
        • SIM 카드 - 차량 컴퓨터(탈거 및 교체)
        • SIM 카드 - 차량 컴퓨터(인포테인먼트-Ryzen)(새로 장착)
      • 2121 - 오디오 시스템 - 스피커, 서브 우퍼, 앰프
        • 앰프 - 오디오 - 외부(탈거 및 교체)
        • 스피커 - 전면 도어- LH(탈거 및 교체)
        • 스피커 - 후면 도어 - LH(탈거 및 교체)
        • 서브우퍼(탈거 및 교체)
      • 2122 - 오디오 시스템 - AM, FM 및 HD 라디오
        • 튜너 - FM/HD/XM(탈거 및 교체)
      • 2123 - 오디오 시스템 - AM, FM 및 HD 라디오
      • 2130 - 안테나 - AM, FM 및 HD 라디오
        • 안테나 앰프 - FM(탈거 및 교체)
        • 노이즈 필터 - LV - 안테나(탈거 및 교체)
        • 노이즈 필터 - 그라운드 - 안테나(탈거 및 교체)
      • 2131 - 안테나 - 위성 라디오
        • 안테나 - 위성 라디오(탈거 및 교체)
      • 2125 - 오디오 시스템 - Bluetooth
      • 2126 - 오디오 시스템 - USB 미디어 포트
        • USB 허브 - 센터 콘솔 - 전면(탈거 및 교체)
      • 2132 - 안테나 - GPS
        • 안테나 - GNSS(탈거 및 교체)
      • 2133 - 안테나 - Wi-Fi
        • 안테나 - MIMO - LH(탈거 및 교체)
      • 2135 - 안테나 - GSM
    • 24 - 루프
      • 2430 - 고정식 글라스 루프
        • 마운트 블록 - 루프 랙(탈거 및 교체)
    • 30 - 섀시
      • 3001 - 섀시 및 서브프레임
        • 시어 플레이트 - 후면 서브프레임 - LH(탈거 및 교체)
        • 스키드 플레이트 - 전면(탈거 및 교체)
        • 보강재 - 후방 서브프레임(탈거 및 교체)
        • 보강재 - 후방 서브프레임(Plaid)(탈거 및 교체)
        • 서브프레임 어셈블리 - 전면(탈거 및 장착)
        • 서브프레임 어셈블리 - 전면(탈거 및 교체)
        • 서브프레임 어셈블리 - 후면(Plaid)(탈거 및 장착)
        • 서브프레임 어셈블리 - 후면(Plaid)(탈거 및 교체)
        • 서브프레임 어셈블리 - 후면(탈거 및 장착)
        • 서브프레임 어셈블리 - 후면(탈거 및 교체)
    • 31 - 서스펜션
      • 토크 규격 - 서스펜션
      • 얼라인먼트 요구 사항 - 서스펜션
      • 3100 - 조정
        • EPAS 얼라인먼트 점검
        • 4휠 얼라인먼트 점검
        • 4휠 얼라인먼트 점검 및 조정
        • 지상고(조정)
      • 3101 - 전면 서스펜션(허브 포함)
        • 서스펜션 - 전면(토크)
        • 컨트롤 암 - 상단 - 전면 - LH(탈거 및 교체)
        • 허브 - 전면 - LH(탈거 및 교체)
        • 너클 - 서스펜션 - 전면 - LH(탈거 및 교체)
        • 링크 - 후방 - 하단 - 전면 - LH(탈거 및 교체)
        • 링크 - 전방 - 하단 - 전면 - LH(탈거 및 교체)
        • 링크 - 스태빌라이저 바 - 전면 - LH(탈거 및 교체)
        • 스태빌라이저 바 - 전면(탈거 및 교체)
      • 3103 - 후면 서스펜션(허브 포함)
        • 서스펜션 - 후면(토크)
        • 허브 - 후면 - LH(탈거 및 교체)
        • 너클 - 서스펜션 - 후면 - LH(탈거 및 교체)
        • 링크 - 후방 - 하단 - 후면 - LH(탈거 및 교체)
        • 링크 - 후방 - 상단 - 후면 - LH(탈거 및 교체)
        • 링크 - 전방 - 하단 - 후면 - LH(탈거 및 교체)
        • 링크 - 전방 - 상단 - 후면 - LH(탈거 및 교체)
        • 링크 - 스태빌라이저 바 - 후면 - LH(탈거 및 교체)
        • 스태빌라이저 바 - 후면(탈거 및 교체)
        • 토우 링크 어셈블리 - 후면 - LH(탈거 및 교체)
      • 3110 - 에어 서스펜션 시스템
        • 액티브 댐퍼 - 전면 - LH(탈거 및 교체)
        • 액티브 댐퍼 - 후면 - LH(탈거 및 교체)
        • 에어 라인 - 컴프레서-밸브 블록 - 에어 서스펜션(탈거 및 교체)
        • 에어 라인 - 밸브 블록 흡기/배기 - 에어 서스펜션(탈거 및 교체)
        • 에어 서스펜션 - 번들 - 전면(탈거 및 교체)
        • 에어 서스펜션 - 번들 - 후면(탈거 및 교체)
        • 에어 서스펜션 - 가압/감압 - 전체 시스템
        • 브래킷 - 캐리어 - 컴프레서 - 에어 서스펜션(탈거 및 교체)
        • 브래킷 - 컴프레서 - 에어 서스펜션(탈거 및 교체)
        • 컴프레서 - 에어 서스펜션(탈거 및 교체)
        • 하네스 - 어댑티브 에어 스프링 모듈 - 전면 - LH(탈거 및 교체)
        • 라인 - 에어 서스펜션(수리)
        • 모듈 - 에어 서스펜션 - ECU(Tesla)(LHD)(탈거 및 교체)
        • 센서 - 지상고 - 전면 - LH(탈거 및 교체)
        • 센서 - 지상고 - 후면 - LH(탈거 및 교체)
        • 슈퍼빔(탈거 및 교체)
        • 밸브 블록 - 에어 서스펜션(탈거 및 교체)
    • 32 - 조향
      • 3201 - 스티어링 랙 및 하부 칼럼
        • 모듈 - 스티어링 컬럼 제어(탈거 및 교체)
        • 스티어링 랙(탈거 및 교체)
      • 3205 - 상부 칼럼, 스티어링 휠
        • 슈라우드 - 하단 - 스티어링 컬럼(탈거 및 교체)
        • 스티어링 컬럼(탈거 및 교체)
        • 스티어링 요크/휠(탈거 및 교체)
        • 터치 혼 스티어링 요크/휠-기계식 혼 스티어링 요크/휠(새로 장착)
    • 33 - 브레이크
      • 3301 - 브레이크 디스크 및 캘리퍼
        • 브레이크 캘리퍼 - 전면 - LH(탈거 및 교체)
        • 브레이크 캘리퍼 - 후면 - LH(탈거 및 교체)
        • 브레이크 패드 - 버니싱
        • 브레이크 패드 및 로터 - 전면 - 세트(탈거 및 교체)
        • 브레이크 패드 및 로터 - 후면 - 세트(탈거 및 교체)
        • 브레이크 패드 - 전면(탈거 및 교체)
        • 브레이크 패드 - 후면(탈거 및 교체)
        • 브레이크 로터 - 전면 - LH(탈거 및 교체)
        • 브레이크 로터 - 전면 - LH(런아웃 측정)
        • 브레이크 로터 - 전면 - 세트(탈거 및 교체)
        • 브레이크 로터 - 후면 - LH(런아웃 측정)
        • 브레이크 로터 - 후면 - 세트(탈거 및 교체)
        • 브레이크 캘리퍼 청소 및 윤활(통합 주차 브레이크)
        • 실드 - 더스트 - 브레이크 - 전면 - LH(탈거 및 교체)
        • 실드 - 더스트 - 브레이크 - 후면 - LH(탈거 및 교체)
      • 3303 - 브레이크 파이프 및 호스
        • 브레이크 블리더 장비(플러싱)
        • 브레이크 오일 블리딩/플러싱(탈거 및 교체)
        • 브레이크 호스 - 가요성 - 전면 - LH(탈거 및 교체)
        • 브레이크 호스 - 가요성 - 후면 - LH(탈거 및 교체)
        • 브레이크 라인 - LH 실(탈거 및 교체)
        • 브레이크 라인 - 마스터 실린더-ABS(탈거 및 교체)
        • 브레이크 라인 - 후면 - LH-실(탈거 및 교체)
        • 브레이크 라인 - 후면 - RH-실(탈거 및 교체)
        • 파이프 - 브레이크 정션-자운스 - LH(탈거 및 교체)
        • 파이프 - 브레이크 정션-자운스 - RH(탈거 및 교체)
        • 파이프 어셈블리 - ABS-LH 실 파이프(탈거 및 교체)
        • 파이프 어셈블리 - 전면 - 브레이크(탈거 및 교체)
      • 3305 - 주차 브레이크
        • 주차 브레이크 캘리퍼 - 해제
        • 주차 브레이크 캘리퍼 - 캘리퍼 고착/모터 고장 - 해제
      • 3310 - ABS, 트랙션 및 안정성 제어
        • 유압 제어 장치(HCU) - 브레이크(탈거 및 교체)
        • 센서 - 휠 속도 - ABS - 전면 - LH(탈거 및 교체)
      • 3320 - 전기기계식 브레이크 부스터
        • 전기기계식 브레이크 부스터 어셈블리(탈거 및 교체)
      • 3325 - 브레이크 페달
        • 클레비스 클립 - 브레이크(탈거 및 교체)
        • 페달 어셈블리(탈거 및 교체)
        • 페달 패드 - 브레이크(탈거 및 교체)
        • 스위치 - 브레이크등(탈거 및 교체)
    • 34 - 휠 및 타이어
      • 3401 - 휠
        • 휠 어셈블리(탈거 및 장착)
        • 휠 - 전면 - LH(탈거 및 교체)
      • 3402 - 타이어
        • 타이어 교체 정보
        • 타이어 - 전면 - LH(탈거 및 교체)
        • 타이어 - 전면 - LH(로드 포스)(밸런스)
        • 타이어 - 전면 - LH(수리)
        • 타이어 위치 교환
      • 3404 - 타이어 공기압 모니터링 시스템(TPMS)
        • TPMS(센서 ID 주행 학습)
        • TPMS(센서 ID 도구 학습)
    • 39 - 전면 구동 장치
      • 3901 - 전면 구동 장치 어셈블리
        • 구동 장치 - 전면(탈거 및 장착)
        • 구동 장치 - 전면(탈거 및 교체)
        • 접지 스트랩 - 전륜 구동 장치(탈거 및 교체)
        • 마운트 - 부싱 캐리어 - 전륜 구동 장치 - RH(탈거 및 교체)
      • 3920 - 전면 인버터
        • 커버 - 인버터 - 구동 장치 - 전면(탈거 및 교체)
        • 구동 장치 인버터 다이오드 테스트
        • 오일 커플링(55도) - 전륜 구동 장치(탈거 및 교체)
        • 오일 커플링(직선) - 전륜 구동 장치(탈거 및 교체)
        • HV 헤더 - 인버터 - 전륜 구동 장치(탈거 및 교체)
        • 인버터 - 전륜 구동 장치(탈거 및 교체)
      • 3930 - 전면 기어박스 및 하프샤프트
        • 브리더 - 전륜 구동 장치(탈거 및 교체)
        • 기어박스 오일 - 전륜 구동 장치(배출 및 보충)
        • 하프샤프트 - 전륜 구동 장치 - LH(탈거 및 교체)
        • 하프샤프트 - 전륜 구동 장치 - RH(탈거 및 교체)
        • 열교환기 - 전륜 구동 장치(탈거 및 교체)
        • 오일 필터 - 전륜 구동 장치(탈거 및 교체)
        • 오일 펌프 - 전륜 구동 장치(탈거 및 교체)
    • 40 - 후면 구동 장치
      • 4001 - 후면 구동 장치 어셈블리
        • 부싱 - 후륜 구동 장치 - 후면(탈거 및 교체
        • 부싱 - 후륜 구동 장치 - RH(탈거 및 교체)
        • 구동 장치 - 후면(탈거 및 장착)
        • 구동 장치 - 후면(탈거 및 교체)
        • 구동 장치 - 후면(Plaid)(탈거 및 장착)
        • 구동 장치 - 후면(Plaid)(탈거 및 교체)
        • 접지 스트랩 - 후륜 구동 장치(Long Range)(탈거 및 교체)
        • 접지 스트랩 - 후륜 구동 장치(Plaid)(탈거 및 교체)
        • 마운트 - 후륜 구동 장치 - LH(탈거 및 교체)
      • 4010 - 후면 모터
      • 4020 - 후면 인버터
        • 구동 장치 인버터 다이오드 테스트
        • 오일 커플링(55도) - 후륜 구동 장치(탈거 및 교체)
        • 오일 커플링(직선) - 후륜 구동 장치(탈거 및 교체)
        • 오일 커플링 - 후륜 구동 장치(Plaid)(구동 장치가 이미 탈거됨)(탈거 및 교체)
        • 오일 커플링 - 후륜 구동 장치(Plaid)(탈거 및 교체)
        • 호스 - 인버터-열교환기 - 후륜 구동 장치(탈거 및 교체)
        • 호스 - 인버터-열교환기 - 후륜 구동 장치 - LH(Plaid)(탈거 및 교체)
        • 호스 - 인버터-열교환기 - 후륜 구동 장치 - RH(Plaid)(탈거 및 교체)
        • 인버터 공기 누출 테스트(차량 내)
        • 인버터 공기 누출 테스트(테이블)
        • 인버터 - LH - 후륜 구동 장치(Plaid)(탈거 및 교체)
        • 인버터 - 후륜 구동 장치(탈거 및 교체)
      • 4030 - 후면 기어박스 및 하프샤프트
        • 브리더 - 후륜 구동 장치(탈거 및 교체)
        • 브리더 - 후륜 구동 장치(Plaid)(탈거 및 교체)
        • 기어박스 오일 - 후륜 구동 장치(배출 및 보충)
        • 기어박스 오일 - 후륜 구동 장치(Plaid)(배출 및 보충)
        • 하프샤프트 - 후륜 구동 장치 - LH(탈거 및 교체)
        • 하프샤프트 - 후륜 구동 장치 - LH(Plaid)(탈거 및 교체)
        • 열교환기 - 후륜 구동 장치(Long Range)(탈거 및 교체)
        • 열교환기 - 후륜 구동 장치 - LH(Plaid)(탈거 및 교체)
        • 오일 필터 - 후륜 구동 장치(Plaid)(탈거 및 교체)
        • 오일 필터 - 후륜 구동 장치(탈거 및 교체)
        • 오일 펌프 - LH - 후륜 구동 장치(Plaid)(수동 배출)(탈거 및 교체)
        • 오일 펌프 - LH - 후륜 구동 장치(Plaid)(탈거 및 교체)
        • 오일 펌프 - 후륜 구동 장치(Long Range)(탈거 및 교체)
        • 오일 펌프 - 후방 - 후륜 구동 장치(Plaid)(탈거 및 교체)
        • 씰 - 액슬 - 후륜 구동 장치 - LH(탈거 및 교체)
        • 씰 - 액슬 - 후륜 구동 장치 - LH(Plaid)(탈거 및 교체)
    • 44 - 고전압 시스템
      • 4400 - 고전압 테스트
        • 절연(Isolation/Insulation) 시험
        • 차량 HV 비활성화 절차
      • 4401 - 충전 시스템 인입구
        • 버스바 - 충전 포트(CP)에서 HV 배터리 (탈거 및 교체)
        • 버스바 - 충전 포트(CP)-HV 배터리(유럽/중동/아프리카)(탈거 및 교체)
        • 버스바 - 충전 포트(CP)-HV 배터리(전 세계 공통)(탈거 및 교체)
        • 충전 포트(CP)(유럽/중동/아프리카)(탈거 및 교체)
        • 충전 포트(CP)(전 세계 공통)(탈거 및 교체)
        • 충전 포트(CP)(탈거 및 교체)
        • 충전 포트 전압 점검
        • 커넥터 - DC 입력 - 버스바 - 충전포트-HV 배터리(탈거 및 교체)
        • 도어 패널 - 충전 포트(CP)(탈거 및 교체)
        • 도어 어셈블리 - 충전 포트(CP)(전 세계 공통)(탈거 및 교체)
        • 도어 어셈블리 - 충전 포트(CP)(북미)(탈거 및 교체)
        • 도어 - 충전 포트(CP)(전 세계 공통)(조정)
        • ECU - 충전 포트(CP)(전 세계 공통)(탈거 및 교체)
        • ECU - 충전 포트(CP)(탈거 및 교체)
        • 안전 캡 - 버스바 - 충전 포트(CP)-HV 배터리(유럽/중동/아프리카)(탈거 및 교체)
        • 안전 캡 - 버스바 - 충전 포트(CP)-HV 배터리(전 세계 공통)(탈거 및 교체)
        • 안전 캡 - 버스바 - 충전 포트(CP)-HV 배터리(탈거 및 교체)
        • 씰 - 도어 - 충전 포트(CP)(새로 장착)
      • 4450 - HV 하네스
        • AC 케이블 - HV 배터리 충전 포트(CP)(3상)(탈거 및 교체)
        • HV 하네스 - HV 배터리-A/C 컴프레서(탈거 및 교체)
        • HV 하네스 - HV 배터리-전륜 구동 장치(탈거 및 교체)
        • HV 하네스 - HV 배터리-후륜 구동 장치 - LH(Plaid)(탈거 및 교체)
        • HV 하네스 - HV 배터리-후륜 구동 장치(탈거 및 교체)
    • 50 - 외부 충전 커넥터
      • 5001 - 모바일 커넥터
        • 펌웨어 업데이트 - 모바일 커넥터
        • 고착된 데드프런트 탈거 - 충전 핸들
      • 5002 - 월 커넥터
      • 5003 - 충전 어댑터
        • 펌웨어 업데이트 - CHAdeMO 충전 어댑터
    • © Tesla 2025
    • Procedure Feedback
    • Site Feedback

    Crowsfoot or Offset Wrench Extension Calculator

    Torque Calculator Values
    Note
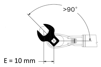
    1. If the angle from the extension to the torque wrench is greater than 90° (Figure 2), input E as a positive number.
    2. If the angle from the extension to the torque wrench is less than 90° (Figure 3), input E as a negative number.
    3. If the angle from the extension to the torque wrench is exactly 90°, this calculator is not needed. Torque the fastener to T1.
    Figure 1
    Figure 2
    Figure 3