Model S Service Manual

    Manuel d’entretien du véhicule Model S (2021 et plus récents)

    Notes de mises à jour

    • Manuel d’entretien du véhicule Model S (2021 et plus récents)
    • Notes de mise à jour
      • Notes de mises à jour
      • Archivage des notes de mise à jour
        • Notes de mise à jour 2022
        • Notes de mise à jour – d’octobre à décembre 2022
        • Notes de mise à jour – de janvier à mars 2023
        • Notes de mise à jour – avril à juin 2023
        • Notes de mise à jour juillet à septembre 2023
        • Notes de mise à jour – d’octobre à décembre 2023
        • Notes de mise à jour – de janvier à mars 2024
        • Notes de mise à jour – avril à juin 2024
        • Notes de mise à jour juillet à septembre 2024
    • INFORMATIONS GÉNÉRALES
      • INTRODUCTION
        • Abréviations et symboles
        • Temps forfaitaires
        • Actualisation globale pour le modèle S 2021 et plus
        • Comment utiliser ce manuel
        • Réparations et remplacements
        • Régions sous garantie d’entretien
      • MEILLEURES PRATIQUES
        • Air Bag and Supplementary Restraint System (SRS) Precautions
        • Précautions relatives au système de climatisation
        • Emplacement du port de diagnostic
        • Précautions relatives à l’électricité
        • Multimètre (réglage LoZ)
        • Précautions environnementales
        • Event Data Recorder Retrieval
        • Conduits et flexibles
        • Instructions générales sur les raccords
        • Précautions générales
        • Dispositifs de verrouillage
        • Joints d’huile
        • Protection individuelle
        • Inspection de la vitre avant l'installation
        • Politique de remplacement des composants du système de retenue de sécurité (SRS)
        • Caméras et Autopilot du véhicule
        • Élimination des roues (remaniement)
      • RECHARGE
        • Généralités
        • Précautions pour la recharge du véhicule
      • LIQUIDES ET CONTENANCES
        • Fluides
        • Contenances pour fluide
      • NUMÉROS D’IDENTIFICATION
        • Codes de peinture du véhicule et des jantes
        • Numéro d’identification du véhicule (NIV)
      • DONNÉES TECHNIQUES
        • Freins
        • Emplacements des fusibles
        • Suspension
        • Pression des pneus
        • Réglage de la géométrie des roues
        • Roues
    • 00 – INSPECTION ET ENTRETIEN
      • 0001 – Entretien périodique
        • Service d’entretien et intervalles de maintenance
      • 0002 – Entretien du micrologiciel
        • Réinstallation du micrologiciel - Toolbox
        • Réinstallation du micrologiciel - Écran tactile
        • Mise à jour du micrologiciel
        • Données de l’utilisateur (réinitialisation en usine)
      • 0005 – Modes d’entretien
        • Configuration de la passerelle (afficher et modifier)
        • Connecteur du système de diagnostic embarqué (adaptation)
        • Passerelle (déverrouiller)
        • Mode entretien (activer et désactiver)
        • Mode Entretien Plus
        • Toolbox 3.0 (connecter et déconnecter)
    • 10 – CARROSSERIE
      • 1000 – Levage du véhicule
        • Soulever le véhicule - pont élévateur à 2 poteaux
        • Soulever le véhicule - cric de plancher (entretien mobile)
      • 1001 – Pare-chocs/carénage
        • Extracteur d'air - arrière - externe - gauche (retrait et remplacement)
        • Ensemble attrape-cheville (retrait et remplacement)
        • Bride - accessoire – carénage – arrière (retrait et remplacement)
        • Support - aileron arrière - gauche (retirez et remplacez)
        • Poutre du pare-chocs - avant (retirez et remplacez)
        • Poutre du pare-chocs - arrière (retirez et remplacez)
        • Couvercle - crochet de remorquage - arrière (retrait et installation)
        • Couvercle - attelage de remorque (retrait et remplacement)
        • Déflecteur – cantonnière – carénage avant - gauche (retrait et remplacement)
        • Ensemble de carénage - avant (retrait et installation)
        • Ensemble de carénage – avant (HW3) (retrait et remplacement)
        • Ensemble de carénage – avant (HW4) (retrait et remplacement)
        • Carénage - arrière (retrait et installation)
        • Ensemble de carénage – arrière (HW3) (retrait et remplacement)
        • Ensemble de carénage – arrière (HW4) (retrait et remplacement)
        • Grille - carénage - avant (retirez et remplacez)
        • Support de l’insigne « T » - carénage = avant (retrait et remplacement)
        • Attelage de remorque - Absorbeur d’énergie arrière (adaptez)
        • Garniture - inférieure – carénage – arrière (retrait et remplacement)
        • Barre en V – carénage – avant (retrait et remplacement)
        • Jupe - carénage avant (retirez et remplacez)
      • 1010 – Panneaux de carrosserie
        • Renfort – plinthe – gauche (retrait et remplacement)
        • Bride - module frontal - gauche (retirez et remplacez)
        • Bride - module frontal - droit (retrait et remplacement)
        • Bride - support - ultradirectif – gauche (retrait et remplacement)
        • Support - extrémité frontale (retirez et remplacez)
        • Barre transversale du renfort en V – tour d’amortisseur (retrait et remplacement)
        • Ensemble de porte - avant - gauche (retrait et remplacement)
        • Ensemble de porte – arrière – gauche (retrait et remplacement)
        • Points de mise à la terre EPAS - Rails avant (restauration)
        • Ensemble d’aile - avant - gauche (retirez et remplacez)
        • Ensemble du capot (retrait et remplacement)
        • Hayon (retrait et remplacement)
        • Renfort en V - tour d'amortisseur – gauche (retrait et remplacement)
      • 1020 – Pare-brise, vitre du hayon et vitre de carrosserie
        • Vue dégagée de la caméra avant (nettoyage de précision du pare-brise intérieur)
        • Vitre fixe - avant - gauche (retrait et remplacement)
        • Vitre - carrosserie - quart arrière - gauche (retrait et installation)
        • Vitre - quart arrière - gauche (retrait et remplacement)
        • Vitre - toit - fixe (retrait et installation)
        • Vitre - toit - fixe (retirez et remplacez)
        • Vitre de hayon (retrait et installation)
        • Vitre de hayon (retrait et remplacement)
        • Capteur – système CVC – pare-brise (retrait et remplacement)
        • Étiquette du NIV – pare-brise (retrait et remplacement)
        • Réparation d’éclats de pare-brise
        • Windshield Chip Repair (EMEA)
        • Windshield Scratch Repair
        • Pare-brise (retrait et installation)
        • Pare-brise (retirez et remplacez)
        • Lignes directrices en matière de remplacement et réparation du pare-brise et du toit de verre
      • 1030 – Peinture
        • Rectification des défauts de peinture
      • Alignement du panneau
        • Spécifications d’alignement des panneaux
    • 11 – COMPOSANTS DE FERMETURE
      • 1133 – Mécanismes d’aide à la fermeture et charnières
        • Amortisseur de carrosserie – hayon – gauche (retrait et remplacement)
        • Bride - vérin du capot passif - gauche (retirez et remplacez)
        • Butée – capote (retrait et remplacement)
        • Cale d'amortisseur – hayon – gauche (retrait et remplacement)
        • Vérin à gaz - capot - gauche (retirez et remplacez)
        • Vérin à gaz – hayon (retrait et remplacement)
        • Charnière - porte - avant - inférieur - gauche (retirez et remplacez)
        • Charnière - porte - avant - supérieur - gauche (retirez et remplacez)
        • Charnière - porte - arrière - inférieur - gauche (retirez et remplacez)
        • Charnière - porte - arrière - supérieur - gauche (retrait et remplacement)
        • Charnière - capot - gauche (retirez et remplacez)
        • Charnière - hayon - gauche (retrait et remplacement)
        • Insert - amortisseur de carrosserie – hayon – gauche (retrait et remplacement)
        • Claquement - hayon - gauche (retrait et remplacement)
        • Vérin électrique - hayon (retirez et remplacez)
      • 1135 – Verrous, gâches et capteurs de pincement
        • Vérin - loquet - capot (système à vérin unique) (retirez et remplacez)
        • Couvercle - gâche - coffre (retrait et remplacement)
        • Dispositif de déverrouillage extérieur – hayon (retrait et remplacement)
        • Loquet - porte - avant - gauche (retirez et remplacez)
        • Loquet - porte - arrière - gauche (retirez et remplacez)
        • Loquet - capot (vérin unique) (retrait et remplacement)
        • Capteur de pincement – hayon – gauche (retrait et remplacement)
        • Gâche - porte - avant - gauche (retirez et remplacez)
        • Gâche - capot (retirez et remplacez)
        • Gâche - hayon (retrait et remplacement)
        • Commutateur – hayon – intérieur (retrait et remplacement)
      • 1140 – Poignées de porte intérieures
        • Poignée - déverrouillage d’urgence - hayon (retrait et remplacement)
      • 1145 – Poignées de porte extérieures
        • Poignée – déverrouillage d’urgence – porte – avant – Generation 3.0 (retrait et remplacement)
        • Poignée - déverrouillage extérieur - portière - arrière - gauche (retirez et remplacez)
        • DEL - porte - poignée extérieure – avant – gauche (retrait et remplacement)
        • DEL - porte - poignée extérieure – arrière – gauche (retrait et remplacement)
      • 1150 – Vitre de porte et régulateurs
        • Vitre de porte - avant - gauche (réglage)
        • Vitre de porte - avant - gauche (retrait et remplacement)
        • Vitre de porte - arrière - gauche (réglage)
        • Vitre de porte - arrière - gauche (retrait et remplacement)
        • Ensemble moteur et régulateur de vitre - avant - gauche (retrait et remplacement)
        • Régulateur de vitre - arrière - gauche (retrait et remplacement)
        • Régulateur de vitre (réétalonnage)
      • 1170 – Joints, boîtiers, enceintes
        • Mousse acoustique - intérieur - porte avant – gauche (retrait et remplacement)
        • Lentille aérodynamique - capot (retrait et remplacement)
        • Support – joint d’étanchéité – avant - montant B – gauche (retrait et remplacement)
        • Support – joint d’étanchéité – arrière - montant B – gauche (retrait et remplacement)
        • Panneau de fermeture - porte - avant - gauche (retrait et remplacement)
        • Panneau de fermeture - porte - arrière - gauche (retirez et remplacez)
        • Panneau de fermeture - loquet - montant C - gauche (retrait et remplacement)
        • Joint - Carrosserie - côté - avant - principal - gauche (retirez et remplacez)
        • Joint - Carrosserie - côté - arrière - principal - gauche (retirez et remplacez)
        • Joint - Carrosserie - côté - arrière - secondaire - gauche (retrait et remplacement)
        • Joint - porte - avant - lisière - montant A - gauche (retrait et remplacement)
        • Joint - porte - arrière - lisière - montant B - gauche (retrait et remplacement)
        • Joint - porte - arrière - lisière - montant C - gauche (retrait et remplacement)
        • Joint- capot (retirez et remplacez)
        • Joint - ceinture intérieure - porte avant - gauche (retirez et remplacez)
        • Joint - ceinture intérieure - porte arrière - gauche (retirez et remplacez)
        • Joint - hayon (retrait et remplacement)
        • Joint - ceinture extérieure - porte avant - gauche (retirez et remplacez)
        • Joint - ceinture extérieure - porte arrière - gauche (retirez et remplacez)
        • Joint - secondaire - porte avant - gauche (retirez et remplacez)
        • Joint - secondaire - porte arrière - gauche (retrait e remplacement)
    • 12 – ACCESSOIRES EXTÉRIEURS
      • 1201 – Doublures de passage de roue
        • Absorbeur de bruit - compartiment moteur - cloison avant (retrait et remplacement)
        • Absorbeur de bruit - compartiment moteur - arrière (retirez et remplacez)
        • Doublure d’aile - arrière - gauche (retirez et remplacez)
        • Doublure d’aile - avant - gauche (retirez et remplacez)
      • 1203 – Plateau inférieur et diffuseur
        • Diffuseur- carénage arrière (retirez et remplacez)
        • Panneau - écran aérodynamique - avant (retirez et remplacez)
        • Panneau - écran aérodynamique - central (retirez et remplacez)
      • 1205 – Écussons et pellicules
        • Insigne Tesla - avant (retirez et remplacez)
        • Insigne Tesla - arrière (retirez et remplacez)
        • Pellicule de protection de peinture - ailes arrière (adaptation)
        • Écusson Plaid graphique (retrait et remplacement)
        • Lettres de l’écusson Plaid (retrait et remplacement)
        • Badge TESLA (Installer)
      • 1207 – Supports de plaque d’immatriculation
        • Support de base - plaque d’immatriculation - avant (retirez et remplacez)
        • Support peint - moulure - plaque d’immatriculation - avant (retirez et remplacez)
      • 1209 – Rétroviseurs extérieurs
        • Calotte - rétroviseur de porte - gauche (retirez et remplacez)
        • Ensemble rétroviseur de porte – gauche (retrait et remplacement)
      • 1220 – Garniture extérieure
        • Applique - montant B - gauche (retirez et remplacez)
        • Applique - hayon (international) (retrait et remplacement)
        • Applique - hayon (retrait et remplacement)
        • Bride - applique - hayon (retrait et remplacement)
        • Bride - support - bas de caisse - avant - gauche (retrait et remplacement)
        • Bride - support - bas de caisse – arrière – gauche (retrait et remplacement)
        • Garniture chromée - carrosserie latérale - gauche (retrait et remplacement)
        • Couvercle - applique – montant B – gauche (retrait et remplacement)
        • Carénage - panneau de seuil - arrière - gauche (retrait et remplacement)
        • Élargisseurs d'aile - Avant et arrière (adaptez)
        • Moulure – bas de caisse – gauche (retrait et remplacement)
        • Coussinet - levage - chaque (retrait et remplacement)
        • Plaque d’usure – bas de caisse – gauche (retrait et remplacement)
      • 1222 – Aileron
        • Aileron - arrière (retirez et remplacez)
        • Aileron - arrière (adaptation à l’aide de gabarit)
      • 1225 – Garniture sous le capot
        • Couvercle - tour d’amortisseur - gauche (retirez et remplacez)
        • Panneau - auvent (retrait et remplacement)
        • Tablier sous le capot - avant (retrait et remplacement)
        • Tablier sous le capot - gauche (retrait et remplacement)
        • Tablier sous le capot - arrière (retirez et remplacez)
      • 1227 – Garniture de gouttière hayon
        • Garniture – gouttière du hayon – gauche (retrait et remplacement)
      • 1230 - Attelage de remorque
        • Ensemble - attelage de remorque (retirez et remplacez)
        • Unité de contrôle électronique – attelage de remorque (retrait et remplacement)
        • Attelage de remorque - Absorbeur d’énergie arrière (adaptez)
    • 13 – SIÈGES
      • 1301 – Glissières et moteurs de siège avant
        • Bouton - réglage du coussin - siège du conducteur (retirez et remplacez)
        • Bouton - réglage de l’inclinaison - siège du conducteur (retrait et remplacement)
        • Contrôleu - siège du conducteur (retrait et remplacement)
        • Couvercle - avant - rail du siège - siège de 1re rangée (retirez et remplacez)
        • Ventilateur - dossier de siège - siège du conducteur (retrait et remplacement)
        • Ventilateur - coussin - siège du conducteur (retrait et remplacement)
        • Cadre - coussin du siège - siège du conducteur (retirez et remplacez)
        • Cadre - coussin du siège - siège du conducteur (siège sport) (retrait et remplacement)
        • Éclairage - sous le siège - conducteur (retrait et remplacement)
        • Module - unité de contrôle électronique - système de classification des occupants - passager avant (retrait et remplacement)
        • Moteur - dispositif d’inclinaison - dossier de siège - siège du conducteur (retrait et remplacement)
        • Moteur - inclinaison du siège - siège du conducteur (retrait et remplacement)
        • Moteur- rail de siège - siège du conducteur (retrait et remplacement)
        • Tube du dispositif d’inclinaison - siège du conducteur (retrait et remplacement)
        • Rehausseur - extérieur - siège du conducteur (retrait et remplacement)
        • Siège - première rangée (étalonnage)
        • Capteur - position - rail du siège - siège de première rangée - gauche (retrait et remplacement)
        • Interrupteur - réglage du dossier et du coussin de siège - siège du conducteur (retirez et remplacez)
      • 1302 – Glissières et moteurs de siège de deuxième rangée
        • Commutateur - pliage du siège - deuxième rangée - gauche (retrait et remplacement)
        • Commutateur – pliage du siège – 2e rangée – droit (retrait et remplacement)
      • 1304 – Ensembles de sièges avant et quincaillerie
        • Back Panel - LH (Sport Seat) \(Remove and Replace\)
        • Dossier de siège - conducteur (retrait et remplacement)
        • Support lombaire - dossier de siège - siège du conducteur (retirez et remplacez)
        • Microphone - siège - conducteur (retrait et remplacement)
        • Guide de borne - dossier de siège - siège du conducteur (retirez et remplacez)
        • Coussin latéral - extérieur - siège de première rangée - gauche (siège sport) (retrait et remplacement)
        • Coussin latéral - extérieur - siège de première rangée - droit (siège sport) (retrait et remplacement)
        • Ensemble de siège - 1re rangée - gauche (retirez et remplacez)
        • Ensemble de siège – première rangée - droit (retrait et remplacement)
        • Caisse - dossier du siège - conducteur (retirez et remplacez)
        • Garniture - appui-tête - conducteur (retirez et remplacez)
      • 1305 – Ensembles de sièges et quincaillerie de la deuxième rangée
        • Accoudoir - 2e rangée (retirez et remplacez)
        • Traversin - externe - siège - seconde rangée - gauche (retrait et remplacement)
        • Bride - ISOFIX – gauche (retrait et remplacement)
        • Bride - pivot - interne - siège de seconde rangée - droit (retrait et remplacement)
        • Bride - pivot - externe - siège de seconde rangée - gauche (retrait et remplacement)
        • Bride - pivot - externe - siège de seconde rangée - droit (retrait et remplacement)
        • Coussin – accoudoir – 2e rangée (retrait et remplacement)
        • Fermeture - accoudoir - 2e rangée (retirez et remplacez)
        • Collier - statique - pivot - seconde rangée - gauche (retrait et remplacement)
        • Collier - statique - pivot - 2e rangée – droit (retrait et remplacement)
        • Couvercle - pivot - 2e rangée (retrait et remplacement)
        • Housse - latérale - dossier de siège - deuxième rangée - gauche (retrait et remplacement)
        • Flap - ISOFIX - Pair (Retrofit)
        • Blocage du guide - appuie-tête - 2e rangée (retirez et remplacez)
        • Appuie-tête – deuxième rangée - gauche (retrait et remplacement)
        • Loquet - dossier du siège - siège de seconde rangée - gauche (retrait et remplacement)
        • Microphone - siège - deuxième rangée - gauche (retrait et remplacement)
        • Microphone – siège – 2e rangée – droit (retrait et remplacement)
        • Bague de pivotement - dossier de siège - deuxième rangée - gauche (retrait et remplacement)
        • Bague de pivotement - dossier de siège - deuxième rangée - droit (retrait et remplacement)
        • Manchon de pivotement - dossier de siège - deuxième rangée - centre (retrait et remplacement)
        • Dossier de siège - 2e rangée - gauche (retirez et remplacez)
        • Dossier de siège - 2e rangée - droit (retirez et remplacez)
        • Coussin de siège - inférieur - appuie-tête - 2e rangée (retirez et remplacez)
        • Butée - dossier du siège - siège de seconde rangée - gauche (retrait et remplacement)
        • Substrat - traversin - intérieur - deuxième rangée - droit (retrait et remplacement)
        • Substrat - traversin - intérieur - deuxième rangée - gauche (retrait et remplacement)
        • Substrat– dossier de siège – 2e rangée – gauche (retrait et remplacement)
        • Substrat – dossier de siège – 2e rangée – droit (retrait et remplacement)
        • Base du support - coussin de deuxième rangée (retrait et remplacement)
        • Bloc de support - coussin de deuxième rangée - gauche (retrait et remplacement)
        • Commutateur – pliage du siège – 2e rangée – coffre (retrait et remplacement)
        • Soudure - pivot - siège de seconde rangée - gauche (retrait et remplacement)
      • 1307 – Housses de siège avant, coussinets et garnitures
        • Support - droit - protection latérale - intérieur - siège avant (retrait et remplacement)
        • Couvercle - dossier de siège - conducteur (retrait et remplacement)
        • Couvercle - dossier de siège - conducteur (avec coussin gonflable intérieur) (retirez et remplacez)
        • Garniture décorative - siège de première rangée - gauche (siège sport) (retrait et remplacement)
        • Mousse - dossier de siège - siège du conducteur (retrait et remplacement)
        • Mousse - dossier de siège - siège du conducteur (avec coussin gonflable intérieur) (retrait et remplacement)
        • Coussin latéral - extérieur -coussin de siège - conducteur (siège sport) (retrait et remplacement)
        • Protection latérale - intérieur - siège du conducteur (retirez et remplacez)
        • Protection latérale - extérieur - siège du conducteur (retirez et remplacez)
        • Housse - coussin - siège du conducteur (retrait et remplacement)
        • Appuie-tête - gauche (siège sport) (retrait et remplacement)
      • 1308 – Housses, coussinets et garnitures de siège de la deuxième rangée
        • Panneau arrière - siège de 2e rangée - gauche (retirez et remplacez)
        • Panneau arrière - siège de 2e rangée - droit (retirez et remplacez)
        • Couvercle - dossier du siège - siège de seconde rangée - gauche (retrait et remplacement)
        • Garniture - traversin - interne - siège - seconde rangée - gauche (retrait et remplacement)
        • Garniture - traversin - interne - siège - seconde rangée - droit (retrait et remplacement)
        • Garniture – dossier de siège – 2e rangée – droit (retrait et remplacement)
        • Garniture - épaule - siège - seconde rangée - gauche (retrait et remplacement)
    • 14 – TABLEAUX DE BORD ET PÉDALES
      • 1405 – Tableau de bord
        • Lentille aérodynamique - tableau de bord (retrait et remplacement)
        • Couvercle - lentille aérodynamique - tableau de bord - gauche (retrait et remplacement)
        • Couvercle - espace pour les jambes - passager (retrait et remplacement)
        • Housse - Coussin gonflable de genoux - conducteur (retrait et remplacement)
        • Housse - coussin gonflable de genoux - passager avant (retrait et remplacement)
        • Barre transversale de voiture (retrait et remplacement)
        • Habillage - tableau de bord - principal (retrait et remplacement)
        • Capuchons d’extrémité - tableau de bord - gauche (retirez et remplacez)
        • Couvercle - espace pour les jambes - conducteur (retirez et remplacez)
        • Garniture de dissimulation d’interstice - colonne de direction - supérieur (retirez et remplacez)
        • Boîte à gants (retrait et remplacement)
        • Grille - haut-parleur - tableau de bord (retirez et remplacez)
        • Tableau de bord – inférieur (retrait et remplacement)
        • Loquet - Alliage à mémoire de forme - boîte à gants (retrait et remplacement)
        • Carénage - supérieur - colonne de direction (retrait et remplacement)
        • Sous-ensemble - tableau de bord (retrait et installation)
        • Sous-ensemble - tableau de bord (retrait et remplacement)
        • Garniture - milieu - tableau de bord - gauche (retrait et remplacement)
        • Garniture - milieu - tableau de bord - droit (retrait et remplacement)
    • 15 – GARNITURE INTÉRIEURE
      • 1505 – Rétroviseur intérieur et pare-soleil
        • Base - magnétique - pare-soleil - gauche (retirez et remplacez)
        • Écran anti-éblouissement - Autopilot (retrait et remplacement)
        • Rétroviseur - vue arrière (retirez et remplacez)
        • Couvercle de la caméra – inférieure (retrait et remplacement)
        • Couvercle supérieur - rétroviseur (retrait et remplacement)
        • Pare-soleil - gauche (retirez et remplacez)
      • 1511 – Garniture de hayon
        • Bride - garniture - hayon – centre (retrait et remplacement)
        • Bride – garniture – hayon – gauche (retrait et remplacement)
        • Grille – haut-parleur – hayon (retrait et remplacement)
        • Ambiophonique – haut-parleur – hayon (retrait et remplacement)
        • Garniture - hayon - inférieure (retirez et remplacez)
        • Garniture - supérieur - hayon (retirez et remplacez)
      • 1513 – Garniture de porte
        • Bride - poignée montoir – porte – avant – gauche (retrait et remplacement)
        • Bride - poignée montoir – porte – arrière – gauche (retrait et remplacement)
        • Couvercle - entretien - accoudoir - porte avant – gauche (retrait et remplacement)
        • Couvercle - entretien - accoudoir - porte arrière – gauche (retrait et remplacement)
        • Décoration - garniture - porte avant - gauche (retirez et remplacez)
        • Décoration - garniture  - porte arrière - gauche (retrait et remplacement)
        • Coussinet anti-bruit/vibrations/rudesse - Panneau - garniture de porte - avant - gauche (retrait et remplacement)
        • Panneau - garniture de porte - avant - gauche (retirez et remplacez)
        • Panneau - garniture de portière - arrière - gauche (retirez et remplacez)
        • Réflecteur - garniture de porte - avant - gauche (retrait et remplacement)
      • 1518 – Garniture de montant et de seuil
        • Enjoliveur - ceinture de sécurité - montant arrière - gauche (retirez et remplacez)
        • Bride – montant avant – supérieure – gauche (retrait et remplacement)
        • Bride - support - montant arrière – gauche (retrait et remplacement)
        • Plaque de seuil – avant – gauche (retrait et remplacement)
        • Garniture - montant avant - inférieure - gauche (retirez et remplacez)
        • Garniture - montant avant - milieu - gauche (retirez et remplacez)
        • Garniture - montant avant - supérieure - gauche (retirez et remplacez)
        • Garniture - montant central - inférieure - gauche (retirez et remplacez)
        • Garniture - montant central - supérieure - gauche (retirez et remplacez)
        • Garniture – montant arrière – inférieure – gauche (retrait et remplacement)
        • Garniture – montant arrière – centrale – gauche (retrait et remplacement)
        • Garniture - montant arrière - supérieure - gauche (retirez et remplacez)
      • 1519 – Console centrale
        • Accoudoir - console centrale (retirez et remplacez)
        • Bride – plinthe – gauche (retrait et remplacement)
        • Bride – plinthe – droit (retrait et remplacement)
        • Bande lumineuse - console centrale - arrière (retrait et remplacement)
        • Tapis - panneau latéral - console centrale - gauche (retrait et remplacement)
        • Ensemble de la console centrale (retrait et installation)
        • Console centrale (retrait et remplacement)
        • Décoration – console centrale (retrait et remplacement)
        • Chargeur par induction – console centrale (retrait et remplacement)
        • Phare – bac de l’accoudoir – console centrale (retrait et remplacement)
        • Panneau - arrière inférieur - console centrale (retirez et remplacez)
        • Panneau - entretien - console centrale (retrait et remplacement)
        • Étagère à téléphone - console centrale (retrait et remplacement)
        • Panneau latéral - console centrale - gauche (retirez et remplacez)
        • Interrupteur - couvercle - console centrale (retrait et remplacement)
      • 1520 – Garniture de toit
        • Crochet à vêtements - arrière - gauche (retirez et remplacez)
        • Garniture de toit (retrait et remplacement)
        • Microphone - garniture – avant – gauche (retrait et remplacement)
      • 1524 – Garniture du coffre à bagages
        • Tapis - coffre arrière (5 sièges) (retrait et remplacement)
        • Plage arrière - coffre arrière (retrait et remplacement)
        • Garniture - avant - plancher - coffre (retrait et remplacement)
        • Garniture - coffre arrière - paroi arrière (retrait et remplacement)
        • Garniture – latérale – coffre – gauche (retrait et remplacement)
        • Garniture - latérale - coffre - droit (retirez et remplacez)
        • Garniture – paroi latérale – coffre – gauche (retrait et remplacement)
        • Garniture - seuil - coffre (retrait et remplacement)
        • Unité de rangement sous le capot (retirez et remplacez)
        • Panneau d'accès à l'unité de rangement sous le capot (retrait et remplacement)
        • Unité de rangement sous le capot (retrait et installation)
      • 1530 – Tapis
        • Bride - plancher de chargement du coffre - gauche (retirez et remplacez)
        • Bride – plancher de chargement du coffre - droit (retrait et remplacement)
        • Tapis - intérieur complet (retirez et remplacez)
        • Tapis - rangement sous le capot (retrait et remplacement)
        • Isolateur - tableau de bord (HW3) (retrait et remplacement)
        • Isolateur - tableau de bord (HW4) (retrait et remplacement)
        • Isolateur - compartiment moteur - avant (retrait et remplacement)
        • Isolateur - compartiment moteur - arrière (retrait et remplacement)
        • Isolateur – auvent supérieur (retrait et remplacement)
        • Isolateur – timonerie – arrière – gauche (retrait et remplacement)
        • Isolateur - timonerie - arrière – droit (retrait et remplacement)
        • Isolant NVH - plancher - coffre arrière (retrait et remplacement)
        • Panneau - repose-pied - passager avant (conduite à gauche) (retrait et remplacement)
        • Plancher de chargement du coffre - arrière (retirez et remplacez)
        • Plancher de chargement du coffre - latéral (retrait et remplacement)
    • 16 – SYSTÈME DE BATTERIE
      • 1601 – Ensemble batterie haute tension
        • Batterie HT (AWD) (retirez et installez)
        • Batterie HT (AWD) (retirez et remplacez)
        • HV Battery Revision -F to Revision -H (Retrofit)
      • 1610 – Boîtier de la batterie haute tension
        • Couvercle - accès avant - batterie HT (retrait et installation)
        • Couvercle - accès avant - batterie HT (retrait et remplacement)
        • Couvercle - fusible pyrotechnique - batterie HT (retrait et remplacement)
        • Couvercle - accès arrière - batterie HT (retrait et remplacement)
        • Port d'inondation (retrait et remplacement)
        • Câble de masse – batterie HT (retrait et remplacement)
        • Test de fuite d'air de la batterie HT (dans le véhicule)
        • Test de fuite d'air de la batterie HT (sur la table)
      • 1620 – Système de refroidissement de batterie haute tension
        • Liquide de refroidissement du boîtier du plateau (vidange)
        • Liquide de refroidissement du boîtier du plateau (vidange) (Sur table)
        • Test de fuite d'air du boîtier du plateau (sur table)
        • Liquide de refroidissement du système de conversion de puissance (vidange)
        • Liquide de refroidissement du système de conversion de puissance (vidange) (Sur table)
        • Test de fuite de liquide de refroidissement du système de conversion de puissance (sur la table)
        • Tube - entrée- liquide de refroidissement - système de conversion d’énergie (retrait et remplacement)
        • Tube - sortie - liquide de refroidissement - système de conversion d’énergie (retrait et remplacement)
      • 1630 – Composants électriques de la batterie HT
        • Support - connecteur - avant - batterie HT (retrait et remplacement)
        • Contacteur - recharge rapide - batterie HT (retirez et remplacez)
        • Contacteur - négatif - batterie HT (retirez et remplacez)
        • Contacteur - positif - batterie HT (retirez et remplacez)
        • Contrôleur - haute tension (sauvegarde et restauration)
        • Commande - haute tension (retirez et remplacez)
        • Fusible - compresseur de climatisation - batterie HT (retirez et remplacez)
        • Fusible - système de conversion d’énergie - batterie HT (retirez et remplacez)
        • Faisceau - contrôleur haute tension - batterie HT (retrait et remplacement)
        • Faisceau - BT - avant - batterie HT (retrait et remplacement)
        • Faisceau – dispositif pyrotechnique – batterie HT (retrait et remplacement)
        • Faisceau HT - pompe à chaleur - batterie HT (retrait et remplacement)
        • Connecteur HT - 6 broches – batterie HT (retrait et remplacement)
        • Connecteur HT - unité d’entraînement avant - batterie HT (retirez et remplacez)
        • Connecteur HT - unité d'entraînement arrière - batterie HT - gauche (retrait et remplacement)
        • Système de conversion d’énergie (retirez et remplacez)
        • Sectionneur de batterie pyrotechnique (retirez et remplacez)
        • Compteur de résistance (réglage zéro)
        • Shunt - batterie HT (retirez et remplacez)
    • 17 – SYSTÈME ÉLECTRIQUE
      • 1701 – Batterie basse tension (BT) et fusibles
        • Batterie - BT (retirez et remplacez)
        • LV Battery - Recover
        • Mainteneur BT (connecter et déconnecter)
        • Alimentation 12 BT (déconnecter et connecter)
        • Procédure de désactivation HT du véhicule
      • 1710 – Faisceaux de câbles
        • Faisceau - siège de 2e rangée - gauche (retirez et remplacez)
        • Faisceau - siège de deuxième rangée - droit(retrait et remplacement)
        • Faisceau - carrosserie - gauche (EMEA) (retrait et remplacement)
        • Faisceau - carrosserie - gauche (retirez et remplacez)
        • Faisceau - carrosserie - droit (retirez et remplacez)
        • Faisceau – console centrale (retrait et remplacement)
        • Faisceau – châssis – arrière – gauche (retrait et remplacement)
        • Faisceau - carénage - avant (retirez et remplacez)
        • Faisceau - carénage - arrière (HW3) (retirez et remplacez)
        • Faisceau – porte avant – gauche (retrait et remplacement)
        • Faisceau - unité d’entraînement avant (retrait et remplacement)
        • Faisceau - Système CVC (retirez et remplacez)
        • Faisceau de câbles - tableau de bord (retirez et remplacez)
        • Faisceau - hayon (retrait et remplacement)
        • Faisceau - principal avant (EMEA) (retrait et remplacement)
        • Faisceau - principal avant (retirez et remplacez)
        • Faisceau - porte arrière – gauche (retrait et remplacement)
        • Faisceau - siège - conducteur (retirez et remplacez)
        • Faisceau – sous-ensemble – tableau de bord (retrait et remplacement)
        • Faisceau - sous-châssis - arrière (retirez et remplacez)
        • Faisceau – sous-châssis – arrière (Plaid) (retrait et remplacement)
        • Faisceau – barre thermique (retrait et remplacement)
        • Faisceau – syntoniseur - hayon (retrait et remplacement)
      • 1715 – Modules de contrôle électronique
        • Bride - Homelink (retrait et remplacement)
        • Module - commande de batterie (retrait et remplacement)
        • Module - commande de la carrosserie -avant (retirez et remplacez)
        • Module - commande de la carrosserie - gauche (retirez et remplacez)
        • Module - commande de la carrosserie -droit (retirez et remplacez)
        • Module - émetteur HomeLink (retirez et remplacez)
      • 1720 – Capteur radar
        • Bride - radar - avant (retirez et remplacez)
        • Réchauffeur – radar (retrait et remplacement)
        • Chauffage - radar (remaniement) (véhicules fabriqués avant le 1er juillet 2021)
        • Chauffage - radar (remaniement) (véhicules fabriqués après le 1er juillet 2021)
        • Radar – intérieur (retrait et remplacement)
        • Capteur - radar - avant (retirez et remplacez)
        • Capteur – radar – avant (Retravaillé)
      • 1722 - Caméras
        • Caméra - orienté vers l’avant (vérification d'inclinaison)
        • Caméra – montant B – gauche (HW4) (retrait et remplacement)
        • Caméra – double – orientée vers l’avant (HW4) (retrait et remplacement)
        • Caméra - triple - orientée vers l’avant (HW3) (retrait et remplacement)
        • Caméra – intérieure (retrait et remplacement)
        • Caméra –orientée vers l’arrière (HW3) (retrait et remplacement)
        • Caméra –vers l’arrière (HW4) (retrait et remplacement)
        • Répétiteur latéral - avant - gauche (HW4) (retrait et remplacement)
      • 1727 – Capteurs de stationnement
        • Dispositif de retenue - Capteur - distance de stationnement (retirez et remplacez)
        • Capteur - distance de stationnement - intérieur - avant (HW3) (retirez et remplacez)
        • Capteur - distance de stationnement - extérieur - avant (HW3) (retirez et remplacez)
        • Capteur - distance de stationnement - intérieur - arrière(HW3) (retirez et remplacez)
        • Capteur - distance de stationnement - extérieur - arrière (HW3) (retirez et remplacez)
      • 1730 – Commutateurs intérieurs et prise de courant auxiliaire
        • Prise de courant 12 V – console centrale (retrait et remplacement)
      • 1735 – Éclairage intérieur
        • Éclairage de l’espace de jambes - arrière - console centrale (retrait et remplacement)
        • Lampe de lecture – gauche (retrait et remplacement)
        • Lampe d’accueil – hayon (retrait et remplacement)
        • Lampe d’accueil extérieure - porte avant - gauche (retirez et remplacez)
        • Lampe d’accueil extérieure - porte arrière - gauche (retirez et remplacez)
      • 1740 – Éclairage extérieur
        • Renfort - phare – gauche (retrait et remplacement)
        • Phare – gauche (international) (retrait et remplacement)
        • Phare - gauche (retirez et remplacez)
        • Phares - réglage - ND (méthode des outils)
        • Phares - réglage (international) (méthode des outils)
        • Phares - réglage - (global) (méthode du mur)
        • Phares - réglage - ND (méthode du mur)
        • Phare - frein - montage supérieur (retrait et remplacement)
        • Feu - réflecteur - arrière - gauche (retrait et remplacement)
        • Phare – antibrouillard – avant – gauche (retrait et remplacement)
        • Phare antibrouillard - feu de marche arrière – arrière - gauche (retrait et remplacement)
        • Phare antibrouillard - feu de marche arrière – arrière - gauche (international) (retrait et remplacement)
        • Lumière - plaque d’immatriculation (retirez et remplacez)
        • Repère reflex - feu arrière – droit (international) (retrait et remplacement)
        • Repère reflex - feu arrière – droit (retrait et remplacement)
        • Répétiteur latéral - avant - gauche (HW3) (retrait et remplacement)
        • Répétiteur latéral - avant - gauche (HW4) (retrait et remplacement)
        • Interrupteur - danger - console centrale (retrait et remplacement)
        • Feu arrière – gauche (international) (retrait et remplacement)
        • Feu arrière - gauche (retirez et remplacez)
        • Feu arrière – droit (international) (retrait et remplacement)
        • Feu arrière - droit (retrait et remplacement)
      • 1745 - Déverrouillage sans clé et sécurité
        • Clé supplémentaire - programme (clé existante présente)
        • Clés de remplacement - programme (aucune clé présente)
        • Module - Bluetooth Low Energy (BLE) - avant (retrait et remplacement)
        • Module - Bluetooth Low Energy (BLE) - arrière (retrait et remplacement)
        • Module - commande de la carrosserie - sécurité (retirez et remplacez)
        • Sirène – à batterie de secours (EMEA) (retrait et remplacement)
      • 1750 - Essuie-glaces et gicleurs
        • Bouchon - réservoir - lave-glace (retirez et remplacez)
        • Tuyau - lave-glace - écran d’auvent (retrait et remplacement)
        • Tuyau - lave-glace - réservoir (retirez et remplacez)
        • Tuyau - lave-glace – tour d'amortisseur – gauche (retrait et remplacement)
        • Pompe - réservoir de lave-glace (retrait et remplacement)
        • Réservoir - lave-glace (retirez et remplacez)
        • Capteur - niveau - réservoir de lave-glace (retrait et remplacement)
        • Système - lave-glace (retirez et remplacez)
        • Buses des gicleurs (ajustement)
        • Bras d’essuie-glace - gauche (retrait et remplacement)
        • Balais d'essuie-glace - paire (retrait et remplacement)
        • Balais d’essuie-glace (réglez)
        • Module d’essuie-glace (retirez et remplacez)
      • 1753 - Klaxon
        • Ensemble de klaxon (retirez et remplacez)
      • 1754 - Haut-parleur du système d’alerte piéton
        • Haut-parleur - alerte piétons (retirez et remplacez)
      • 1755 - Pédale d’accélérateur
        • Pédale d'accélérateur (retirer et remplacer)
    • 18 – GESTION THERMIQUE
      • 1810 - Système CVAC de l’habitacle
        • Vérin - contournement - 1re rangée - boîtier de CVC (retrait et remplacement)
        • Vérin - contournement - 2e rangée - boîtier de CVC (retrait et remplacement)
        • Vérin - dégivreur (retrait et remplacement)
        • Vérin - conduit - console centrale (retrait et remplacement)
        • Vérin - conduit - plancher - deuxième rangée (retrait et remplacement)
        • Vérin - conduit - espace pour les jambes - gauche (retrait et remplacement)
        • Vérin - conduit - espace de jambes - droit (retrait et remplacement)
        • Vérin - rabat - console centrale - gauche (retrait et remplacement)
        • Vérin - admission (retirez et remplacez)
        • Vérin – panneau - gauche (retrait et remplacement)
        • Vérin – panneau - droit (retrait et remplacement)
        • Vérin - aube - console centrale - gauche (retrait et remplacement)
        • Conduit d’air - tableau de bord - conducteur (conduite à gauche) (retrait et remplacement)
        • Conduit d’air - tableau de bord - passager (conduite à gauche) (retrait et remplacement)
        • Ensemble onde d’air - console centrale (retrait et remplacement)
        • Moteur du ventilateur - système CVC (retirez et remplacez)
        • Bouchon - onde d’air - console centrale (retrait et remplacement)
        • Conduit - tableau de bord - passager avant (retrait et remplacement)
        • Conduit - plancher - deuxième rangée - gauche (retrait et remplacement)
        • Conduit - plancher - 2e rangée - droit (retirez et remplacez)
        • Conduit - tableau de bord - conducteur (retrait et remplacement)
        • Conduit - démarrage de secours - espace pour jambes - conducteur (retrait et remplacement)
        • Conduit - dégivrage des vitres latérales - gauche (retrait et remplacement)
        • Conduit -entre le sous plancher et l’arrière de l’habitacle (retrait et remplacement)
        • Filtre - habitacle (retirez et remplacez)
        • Ensemble - filtre - HEPA (retirez et remplacez)
        • Filtre - HEPA (retrait et remplacement)
        • Tuyau – système CVC – vidange (retrait et remplacement)
        • Système CVC (retirez et remplacez)
        • Capteur - qualité de l'air (retrait et remplacement)
        • Capteur - température de l’air - conduite - dégivreur (retrait et remplacement)
        • Capteur - température de l’air - conduite - conducteur (retrait et remplacement)
        • Capteur - température de l’air - conduite - espace pour les jambes - gauche (retrait et remplacement)
        • Capteur - température de l’air - conduite - espace pour les jambes - droit (retrait et remplacement)
        • Capteur - température de l’air - conduite - passager avant (retrait et remplacement)
        • Capteur - température de l’air - conduit de plancher - deuxième rangée (retrait et remplacement)
        • Capteur - température ambiante de l’air (retirez et remplacez)
        • Capteur - température de l’habitacle (actionné par un ventilateur) (retrait et remplacement)
        • Thermistance - évaporateur (retirez et remplacez)
      • 1820 – Système réfrigérant
        • Compresseur de climatisation (retrait et remplacement)
        • Conduit de climatisation - entre le Super-collecteur et le compresseur (retirez et remplacez)
        • Conduit de climatisation - entre le Super-collecteur et le système CVC (retirez et remplacez)
        • Réfrigérant de climatisation (récupération et recharge)
        • Réfrigérant de climatisation (quantité d'huile inconnue) (récupération, rinçage et recharge)
        • Recouvrement acoustique - compresseur (retrait et remplacement)
        • Obturateur de la grille active (retirez et remplacez)
        • Bride - compresseur (retirez et remplacez)
        • Compresseur, supercollecteur et conduites de climatisation (retrait et remplacement)
        • Déshydratant (retrait et remplacement)
        • Entonnoir - vidange - système CVC (retrait et remplacement)
      • 1830 – Système de refroidissement
        • Soupape de refroidissement à trois voies – Contournement du radiateur (retrait et remplacement)
        • Clean Radiator (Maintenance)
        • Système de refroidissement (vérification et remplissage)
        • Système de refroidissement (remplissage partiel et purge)
        • Système de refroidissement (remplissage sous vide)
        • Tuyau – alimentation de la batterie (retrait et remplacement)
        • Tuyau - entre l’échangeur de chaleur de l’unité d’entraînement avant et le supercollecteur (retrait et remplacement)
        • Tuyau - entre l’échangeur de chaleur de l’unité d’entraînement avant et le supercollecteur (Plaid) (retrait et remplacement)
        • Tuyau - entre la batterie HT et la soupape à trois voies (retrait et remplacement)
        • Tuyau - entre la batterie HT et le seuil avant gauche (retrait et remplacement)
        • Tuyau - entrée - onduleur - unité d’entraînement arrière (retrait et remplacement)
        • Tuyau - entrée - onduleur - unité d’entraînement arrière (Plaid) (retrait et remplacement)
        • Flexible - entre l’onduleur et l’échangeur de chaleur - unité d’entraînement avant (retirez et remplacez)
        • Tuyau - entre la pompe du groupe motopropulseur extérieure et le radiateur (retrait et remplacement)
        • Tuyau - sortie - radiateur (retirez et remplacez)
        • Tuyau - sortie - unité d’entraînement arrière (retrait et remplacement)
        • Tuyau – sortie – Unité d’entraînement arrière (retrait et remplacement)
        • Tuyau - retour - groupe motopropulseur (retirez et remplacez)
        • Tuyau - entre le seuil avant droit et le dessous du capot (retrait et remplacement)
        • Tuyau - entre le supercollecteur et la soupape à trois voies (retrait et remplacement)
        • Tuyau - entre le supercollecteur et la soupape à trois voies et le radiateur (retrait et remplacement)
        • Tuyau - entre le supercollecteur et la pompe de batterie externe (retrait et remplacement)
        • Tuyau - entre le supercollecteur et la pompe externe du groupe motopropulseur (retrait et remplacement)
        • Module - ventilateur de refroidissement (retirez et remplacez)
        • Pompe - liquide de refroidissement - groupe motopropulseur - radiateur (retirez et remplacez)
        • Pompe - liquide de refroidissement - batterie - externe (retrait et remplacement)
        • Fluide thermique - système de refroidissement (remplissage/vidange)
      • 1840 – Supercollecteur
        • Refroidisseur (retirez et remplacez)
        • Bobine - détendeur électronique (retrait et remplacement)
        • condenseur refroidi par liquide (retirez et remplacez)
        • Pompe - liquide de refroidissement - batterie - Super-collecteur (retirez et remplacez)
        • Pompe - liquide de refroidissement - groupe motopropulseur - Super-collecteur (retirez et remplacez)
        • Capteur - pression et température (PT) - haute pression (retirez et remplacez)
        • Capteur - pression et température (PT) - basse pression (retirez et remplacez)
        • Capteur - Sous-refroidissement - pression et température (PT) - haute pression (retirez et remplacez)
        • Vanne d’arrêt - condenseur refroidi par liquide (retirez et remplacez)
        • Supercollecteur (retirez et remplacez)
        • Boîtier de la soupape - détendeur électronique - Super-collecteur (retirez et remplacez)
      • 1850 – Répartition de l’air
    • 20 – SÉCURITÉ ET SYSTÈMES DE RETENUE
      • Air Bag and Supplementary Restraint System (SRS) Precautions
      • 2001 – Coussins gonflables
        • Coussin gonflable - conducteur (retrait et remplacement)
        • Coussin gonflable - passager avant (retirez et remplacez)
        • Rideau gonflable - gauche (retrait et remplacement)
        • Coussin gonflable de genoux - conducteur (retrait et remplacement)
        • Coussin gonflable de genoux - passager avant (retrait et remplacement)
        • Module - commande de retenue (retirez et remplacez)
        • Retrait et rejet du coussin gonflable du siège avant
        • Coussin gonflable latéral - intérieur - conducteur (siège sport) (retirez et remplacez)
      • 2005 – Ceintures de sécurité
        • Bride - ceinture de sécurité – deuxième rangée - gauche (retrait et remplacement)
        • Boucle - 1re rangée - gauche (retirez et remplacez)
        • Boucle - 2e rangée - centre (retirez et remplacez)
        • Boucle – deuxième rangée - gauche (retrait et remplacement)
        • Écusson - ceinture de sécurité - deuxième rangée - gauche (retrait et remplacement)
        • Ceinture de sécurité - 2e rangée - centre (retirez et remplacez)
        • Rétracteur - ceinture de sécurité - 1re rangée - gauche (retirez et remplacez)
        • Rétracteur - ceinture de sécurité – deuxième rangée - gauche (retrait et remplacement)
        • Guide Web intermédiaire sur les ceintures de sécurité (retrait et remplacement)
      • 2010 – Prétendeurs
        • Prétendeur sous-abdominal - première rangée - gauche (retrait et remplacement)
      • 2020 – Capteurs
        • Capteur – accéléromètre d'impact – pare-chocs avant (retrait et remplacement)
        • Tapis-contact - système de classification des occupants - 1re rangée - droit (retrait et remplacement)
        • Capteur - pression - porte - avant - gauche (retirez et remplacez)
        • Capteur - pression - porte - arrière - gauche (retirez et remplacez)
        • Capteur - tube de pression (système de protection des piétons) (EMEA) (retrait et remplacement)
        • Capteur - occupation de siège résistif - siège avant - gauche (retirez et remplacez)
        • Capteur - Accéléromètre - droit (retirez et remplacez)
      • 2030 – Système de protection des piétons
        • Vérin – système de protection des piétons - gauche (EMEA) (retrait et remplacement)
    • 21 – INFODIVERTISSEMENT
      • 2105 – Affichages
        • Groupe d'instruments (retrait et remplacement)
        • Mécanisme - pivot - écran tactile (retrait et remplacement)
        • Panneau de service - tableau de bord (retirez et remplacez)
        • Écran tactile – arrière (retrait et remplacement)
        • Écran tactile (HW3) (retrait et remplacement)
        • Écran tactile (HW4) (retrait et remplacement)
      • 2115 – Ordinateur de bord
        • Ordinateur de bord (HW3) (retrait et installation)
        • Ordinateur de bord (HW4) (retrait et installation)
        • Car Computer (Remove and Replace)
        • Ordinateur de bord (élimination)
        • Carte de connectivité - Ordinateur de bord (retrait et remplacement)
        • Carte SD - ordinateur de bord (retirez et remplacez)
        • Carte SIM - Ordinateur de bord (retirez et remplacez)
        • Carte SIM – Ordinateur de bord (Info-Ryzen) (adaptation)
      • 2121 – Système audio – Haut-parleurs, caisson d’extrêmes graves, amplificateur
        • Amplificateur - audio - externe (retirez et remplacez)
        • Haut-parleur - porte avant - gauche (retirez et remplacez)
        • Haut-parleur - porte arrière - gauche (retirez et remplacez)
        • Caisson des basses (retirez et remplacez)
      • 2122 – Système audio – Radio AM, FM et HD
        • Syntoniseur – FM / HD / XM (retrait et remplacement)
      • 2123 – Système audio – Radio AM, FM et HD
      • 2130 – Antenne – Radio AM, FM et HD
        • Amplificateur d’antenne - FM (retrait et remplacement)
        • Filtre antiparasite - BT - antenne (retrait et remplacement)
        • Filtre antiparasite - masse - antenne (retirez et remplacez)
      • 2131 – Antenne – Radio satellite
        • Antenne - radio satellite (retrait et remplacement)
      • 2125 – Système audio – Bluetooth
      • 2126 – Système audio – Port média USB
        • Concentrateur USB - console centrale - avant (retirez et remplacez)
      • 2132 – Antenne – GPS
        • Antenne – GNSS (retrait et remplacement)
      • 2133 – Antenne – Wi-Fi
        • Antenne - MIMO - gauche (retrait et remplacement)
      • 2135 – Antenne – GSM
    • 24 – TOIT
      • 2430 – Toit Vitré Fixe
        • Chevalet support - porte-bagage de toit (retrait et remplacement)
    • 30 – CHÂSSIS
      • 3001 – Châssis et châssis auxiliaires
        • Plaque de cisaillement - châssis auxiliaire arrière - gauche (retrait et remplacement)
        • Plaque de protection du carter inférieur - avant (retrait et remplacement)
        • Raidisseur - châssis auxiliaire arrière (retirer et remplacer)
        • Raidisseur - châssis auxiliaire arrière (Plaid) (retirer et remplacer)
        • Châssis auxiliaire – avant (retrait et installation)
        • Châssis auxiliaire – avant (retrait et remplacement)
        • Ensemble de châssis auxiliaire – arrière (Plaid) (retrait et installation)
        • Ensemble de châssis auxiliaire – arrière (Plaid) (retrait et remplacement)
        • Châssis auxiliaire – arrière (dépose et pose)
        • Ensemble de sous-châssis – arrière (dépose et remplacement)
    • 31 – SUSPENSION
      • Spécifications de couple – Suspension
      • Exigences de réglage de la géométrie - Suspension
      • 3100 – Ajustement
        • Vérification du parallélisme EPAS
        • Parallélisme des quatre roues (vérification)
        • Vérification et ajustement du parallélisme des quatre roue
        • Hauteur de caisse (réglage)
      • 3101 – Suspension avant (moyeux inclus)
        • Suspension – Avant (vérification du couple)
        • Bras de commande - supérieur - avant - gauche (retirez et remplacez)
        • Moyeu - avant - gauche (retrait et remplacement)
        • Pivot de fusée - suspension - avant - gauche (retrait et remplacement)
        • Bras - latéral - inférieur - avant - gauche (retrait et remplacement)
        • Bras - avant - inférieur - avant - gauche (retrait et remplacement)
        • Bras - barre stabilisatrice - avant - gauche (retirez et remplacez)
        • Barre stabilisatrice - avant (retirez et remplacez)
      • 3103 – Suspension arrière (moyeux inclus)
        • Suspension – Arrière (couple)
        • Moyeu - arrière - gauche (retirez et remplacez)
        • Fusée - suspension - arrière - gauche (retirez et remplacez)
        • Bras - arrière - inférieur - arrière - gauche (retirez et remplacez)
        • Bras - arrière - supérieur - arrière - gauche (retirez et remplacez)
        • Bras - avant - inférieur - arrière - gauche (retirez et remplacez)
        • Bras - avant - supérieur - arrière - gauche (retirez et remplacez)
        • Bras - barre stabilisatrice - arrière - gauche (retrait et remplacement)
        • Barre stabilisatrice - arrière (retirez et remplacez)
        • Ensemble de bras de guidage - arrière - gauche (retrait et remplacement)
      • 3110 – Système de suspension pneumatique
        • Amortisseur hydraulique à commande électronique - avant - gauche (retrait et remplacement)
        • Amortisseur actif – arrière – gauche (retrait et remplacement)
        • Conduit pneumatique - compresseur à bloc de distribution - suspension pneumatique (retrait et remplacement)
        • Conduit pneumatique - admission/échappement du bloc de distribution - suspension pneumatique (retrait et remplacement)
        • Suspension pneumatique - ensemble - avant (retrait et remplacement)
        • Suspension pneumatique - ensemble - arrière (retrait et remplacement)
        • Suspension pneumatique - pressurisation et dépressurisation - système complet
        • Bride - support - compresseur - suspension pneumatique (retrait et remplacement)
        • Bride - compresseur - suspension pneumatique (retrait et remplacement)
        • Compresseur - Suspension pneumatique (retrait et remplacement)
        • Faisceau - module de ressort pneumatique adaptatif – avant – gauche (retrait et remplacement)
        • Ligne - suspension pneumatique (réparation)
        • Module – suspension pneumatique – unité de contrôle électronique (Tesla) (conduite à gauche) (retrait et remplacement)
        • Capteur - hauteur de caisse - avant - gauche (retirez et remplacez)
        • Capteur – hauteur de caisse – arrière – gauche (retrait et remplacement)
        • Poutre principale (retrait et remplacement)
        • Bloc de distribution - Suspension pneumatique (retrait et remplacement)
    • 32 – DIRECTION
      • 3201 – Crémaillère de direction et colonne inférieure
        • Module - commande de la colonne de direction (retirez et remplacez)
        • Crémaillère (retrait et remplacement)
      • 3205 – Colonne supérieure, Volant
        • Carénage - inférieur - colonne de direction (retirez et remplacez)
        • Colonne de direction (retirez et remplacez)
        • Manche de conduite/volant (retrait et remplacement)
        • Manche/volant de conduite avec klaxon tactile à manche/volant de conduite avec klaxon mécanique (adaptation)
    • 33 – FREINS
      • 3301 – Disques et étriers de frein
        • Étriers de frein - avant - gauche (retirez et remplacez)
        • Étriers de frein - arrière - gauche (retirez et remplacez)
        • Plaquettes de frein - rodage
        • Plaquettes et disques de frein - souple - avant - gauche (retrait et remplacement)
        • Plaquettes et disques de frein – arrière – ensemble (retrait et remplacement)
        • Plaquettes de frein – avant (retrait et remplacement)
        • Plaquettes de frein – arrière (retrait et remplacement)
        • Disque de frein - avant - gauche (retirez et remplacez)
        • Disque de frein - avant - gauche (mesure du faux-rond)
        • Disques de frein - avant - ensemble (retrait et remplacement)
        • Disque de frein - arrière - gauche (mesure du faux-rond)
        • Disques de frein - arrière - ensemble (retrait et remplacement)
        • Nettoyage et lubrification des étriers de frein (frein de stationnement intégré)
        • Tôle de protection - poussière - frein - avant - gauche (retrait et remplacement)
        • Tôle de protection - poussière - frein - arrière- gauche (retirez et remplacez)
      • 3303 – Conduites et tuyaux de frein
        • Machine pour purger le système de freinage (vidange)
        • Purge/vidange du liquide de frein (retrait et remplacement)
        • Flexible de frein - souple - avant - gauche (retirez et remplacez)
        • Flexible de frein - flexible - arrière - gauche (retirez et remplacez)
        • Conduites de frein - bas de caisse gauche (retirez et remplacez)
        • Conduites de frein - entre le maître-cylindre et ABS (retirez et remplacez)
        • Conduites de frein - arrière - entre la gauche et le bas de caisse (retirez et remplacez)
        • Conduites de frein - arrière - entre la droite et le bas de caisse (retirez et remplacez)
        • Tuyau - entre la jonction du frein et le rebond - gauche (retrait et remplacement)
        • Tuyau - entre la jonction du frein et le rebond - droit (retrait et remplacement)
        • Tuyau - entre l’ABS et le bas de caisse gauche (retrait et remplacement)
        • Tuyau - avant - frein (retrait et remplacement)
      • 3305 – Frein de stationnement
        • Étrier de frein de stationnement – dégagement
        • Étrier de frein de stationnement – blocage de l’étrier/défaillance du moteur - dégagement
      • 3310 – Système d’antipatinage et contrôle de la stabilité
        • Bloc à commandes hydrauliques - frein (retirez et remplacez)
        • Capteur - vitesse de roue - ABS - avant - gauche (retirez et remplacez)
      • 3320 – Servofrein électromécanique
        • Servofrein électromécanique (retrait et remplacement)
      • 3325 – Pédale de frein
        • Goupille fendue - frein (enlever et remplacer)
        • Pédale (retrait et remplacement)
        • Couvre-pédale - frein (retirez et remplacez)
        • Interrupteur - feux de freinage (retirez et remplacez)
    • 34 – ROUES ET PNEUS
      • 3401 – Roues
        • Ensemble de roue (retrait et installation)
        • Roue - avant - gauche (retrait et remplacement)
      • 3402 – Pneus
        • Information sur les pneus de remplacement
        • Pneu - avant - gauche (retrait et remplacement)
        • Pneu - avant - gauche (force motrice) (équilibre)
        • Pneu - avant - gauche (réparation)
        • Permutation des pneus
      • 3404 – Système de surveillance de la pression des pneus (TPMS)
        • TPMS (apprentissage du lecteur d’identification du capteur)
        • TPMS (apprentissage de l’outil d’identification du capteur)
    • 39 – UNITÉ D’ENTRAÎNEMENT AVANT
      • 3901 – Ensemble unité d’entraînement avant
        • Unité d’entraînement - avant (retirez et installez)
        • Unité d’entraînement - avant (retirez et remplacez)
        • Tresse de masse - unité d’entraînement avant (retirez et remplacez)
        • Support - porte-bague -unité d’entraînement avant – droit (retrait et remplacement)
      • 3920 – Onduleur avant
        • Couvercle – onduleur – unité d’entraînement – avant (retrait et remplacement)
        • Test de diode de l’onduleur de l’unité d’entraînement
        • Coupleur hydraulique (55 degrés) - unité d’entraînement avant (retrait et remplacement)
        • Coupleur hydraulique (droit) - unité d’entraînement avant (retirez et remplacez)
        • Connecteur HT - onduleur - unité d’entraînement avant (retirez et remplacez)
        • Onduleur - unité d’entraînement avant (retirez et remplacez)
      • 3930 – Boîte de vitesses et demi-arbres
        • Reniflard - unité d’entraînement avant (retirez et remplacez)
        • Liquide de boîte de vitesses - unité d’entraînement avant (vidange et remplissage)
        • Demi-arbre - unité d’entraînement avant - gauche (retirez et remplacez)
        • Demi-arbre - unité d’entraînement avant - droit (retirez et remplacez)
        • Échangeur de chaleur - unité d’entraînement avant (retirez et remplacez)
        • Filtre à huile - unité d’entraînement avant (retrait et remplacement)
        • Pompe à huile - unité d’entraînement avant (retirez et remplacez)
    • 40 – UNITÉ D’ENTRAÎNEMENT ARRIÈRE
      • 4001 – Ensemble unité d’entraînement arrière
        • Bague – unité d’entraînement arrière – arrière (retrait et remplacement)
        • Bague - unité d’entraînement arrière - droite (retirez et remplacez)
        • Unité d’entraînement – arrière (retrait et installation)
        • Unité d’entraînement – arrière (retrait et remplacement)
        • Unité d'entraînement – arrière (Plaid) (retrait et installation)
        • Unité d'entraînement – arrière (Plaid) (retrait et remplacement)
        • Tresse de masse - unité d'entraînement arrière (longue autonomie) (retrait et remplacement)
        • Tresse de masse - unité d'entraînement arrière (Plaid) (retrait et remplacement)
        • Support - unité d’entraînement arrière – gauche (retrait et remplacement)
      • 4010 – Moteur arrière
      • 4020 – Onduleur arrière
        • Test de diode de l’onduleur de l’unité d’entraînement
        • Coupleur hydraulique (55 degrés) - unités d’entraînement arrière (retirez et remplacez)
        • Coupleur hydraulique (droit) - unité d’entraînement arrière (retirez et remplacez)
        • Coupleur hydraulique - unités d’entraînement arrière (Plaid) (unité d'entraînement déjà retirée) (retrait et remplacement)
        • Coupleur hydraulique - unité d'entraînement arrière (Plaid) (retrait et remplacement)
        • Tuyau - entre l'onduleur et l'échangeur de chaleur - unité d’entraînement arrière (retrait et remplacement)
        • Tuyau - entre l'onduleur et l’échangeur de chaleur - unité d’entraînement arrière - gauche (Plaid) (retrait et remplacement)
        • Tuyau - entre l'onduleur et l’échangeur de chaleur - unité d’entraînement arrière - droit (Plaid) (retrait et remplacement)
        • Test de fuite d'air de l'onduleur (dans le véhicule)
        • Test de fuite d'air de l'onduleur (sur la table)
        • Pompe à huile - gauche - unité d'entraînement arrière (Plaid) (retrait et remplacement)
        • Onduleur - unité d’entraînement arrière (retrait et remplacement)
      • 4030 – Boîte de vitesses arrière et demi-arbres
        • Reniflard - unité d’entraînement arrière (retirez et remplacez)
        • Reniflard - unité d’entraînement arrière (Plaid) (retrait et remplacement)
        • Liquide de la boîte d’engrenages - unités d’entraînement arrière (vidange et remplissage)
        • Liquide de la boîte d’engrenages - unités d’entraînement arrière (Plaid) (vidange et remplissage)
        • Demi-arbre - unité d’entraînement arrière - gauche (retirez et remplacez)
        • Demi-arbre - unité d’entraînement arrière – gauche (Plaid) (retrait et remplacement)
        • Échangeur de chaleur - unité d'entraînement arrière (longue autonomie) (retrait et remplacement)
        • Échangeur de chaleur - unité d'entraînement arrière - gauche (Plaid) (retrait et remplacement)
        • Filtre à huile - unité d'entraînement arrière (Plaid) (retrait et remplacement)
        • Filtre à huile - unité d’entraînement arrière (retrait et remplacement)
        • Pompe à huile – gauche – unité d’entraînement arrière (Plaid) (vidange manuelle) (retrait et remplacement)
        • Pompe à huile - gauche - unité d'entraînement arrière (Plaid) (retrait et remplacement)
        • Pompe à huile - unité d’entraînement arrière (longue autonomie) (retirez et remplacez)
        • Pompe à huile - arrière - unité d'entraînement arrière (Plaid) (retrait et remplacement)
        • Joint d’étanchéité - essieu - unité d’entraînement arrière - gauche (retirez et remplacez)
        • Joint d'étanchéité - essieu - unité d'entraînement arrière - gauche (Plaid) (retrait et remplacement)
    • 44 – SYSTÈME HAUTE TENSION
      • 4400 – Tester le système haute tension
        • Test d’isolement/isolation
        • Procédure de désactivation HT du véhicule
      • 4401 – Admission du système de recharge
        • Barres omnibus - entre le port de charge et la batterie HT (retirez et remplacez)
        • Barres omnibus – entre le port de recharge et la batterie HT (EMEA) (retrait et remplacement)
        • Barres omnibus – entre le port de recharge et la batterie HT (international) (retrait et remplacement)
        • Port de charge (EMEA) (retrait et remplacement)
        • Port de recharge (international) (retrait et remplacement)
        • Port de charge (retirez et remplacez)
        • Vérification de la tension du port de recharge
        • Connecteur - entrée CC - barre omnibus - entre le port de charge et la batterie HT (retirez et remplacez)
        • Panneau de porte - port de charge (retrait et remplacement)
        • Ensemble de porte - port de charge (international) (retrait et remplacement)
        • Porte - port de recharge (ND) (retirez et remplacez)
        • Porte – port de chargement (international) (ajuster)
        • Unité de contrôle – port de recharge (international) (retrait et remplacement)
        • Unité de contrôle électronique du port de recharge (retrait et remplacement)
        • Capuchon de sécurité - barre omnibus - entre le port de recharge et la batterie HT (EMEA) (retrait et remplacement)
        • Capuchon de sécurité - barre omnibus - entre le port de recharge et la batterie HT (international) (retrait et remplacement)
        • Capuchon de sécurité - barre omnibus - entre le port de charge et la batterie HT (retirez et remplacez)
        • Joint - porte - porte de chargement (Rénovation)
      • 4450 – Faisceaux HT
        • Câble CA - entre le port de charge et la batterie HT (triphasé) (retirez et remplacez)
        • Faisceau HT - entre la batterie HT et le compresseur de climatisation (retrait et remplacement)
        • Faisceau HT - entre la batterie HT et l’unité d’entraînement avant (retirez et remplacez)
        • Faisceau HT - entre la batterie HT et l'unité d'entraînement arrière - gauche (Plaid) (retrait et remplacement)
        • Faisceau HT - entre la batterie HT et l'entraînement arrière (retrait et remplacement)
    • 50 – CONNECTEURS DE RECHARGE EXTERNES
      • 5001 – Connecteur mobile
        • Mise à jour du micrologiciel - Connecteur mobile
        • Retirer l’écran isolant - poignée de recharge
      • 5002 – Connecteur mural
      • 5003 - Adaptateurs de recharge
        • Mise à jour de micrologiciel - adaptateur de recharge CHAdeMO
    • © Tesla 2025
    • Procedure Feedback
    • Site Feedback

    Crowsfoot or Offset Wrench Extension Calculator

    Torque Calculator Values
    Note
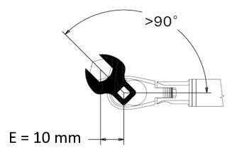
    1. If the angle from the extension to the torque wrench is greater than 90° (Figure 2), input E as a positive number.
    2. If the angle from the extension to the torque wrench is less than 90° (Figure 3), input E as a negative number.
    3. If the angle from the extension to the torque wrench is exactly 90°, this calculator is not needed. Torque the fastener to T1.
    Figure 1
    Figure 2
    Figure 3